NORMA Oficial Mexicana NOM-205-SCFI-2017, Productos infantiles-Funcionamiento de sillas altas para la seguridad del infante-Especificaciones y métodos de prueba.

Al margen un sello con el Escudo Nacional, que dice: Estados Unidos Mexicanos.- Secretaría de Economía.- Dirección General de Normas.

NORMA OFICIAL MEXICANA NOM-205-SCFI-2017, "PRODUCTOS INFANTILES-FUNCIONAMIENTO DE SILLAS ALTAS PARA LA SEGURIDAD DEL INFANTE-ESPECIFICACIONES Y MÉTODOS DE PRUEBA".
ALBERTO ULISES ESTEBAN MARINA, Director General de Normas y Presidente del Comité Consultivo Nacional de Normalización de la Secretaría de Economía (CCONNSE), con fundamento en los artículos 34 fracciones II, XIII y XXXIII de la Ley Orgánica de la Administración Pública Federal; 4 de la Ley Federal de Procedimiento Administrativo; 39 fracción V, 40 fracciones I y XII; 47 fracción IV de la Ley Federal sobre Metrología y Normalización; 34 del Reglamento de la Ley Federal sobre Metrología y Normalización y 22 fracciones I, IV, IX, X y XXV del Reglamento Interior de esta Secretaría, y
CONSIDERANDO
Que es responsabilidad del Gobierno Federal procurar las medidas que sean necesarias para garantizar que los productos que se comercialicen en territorio nacional contengan los requisitos necesarios con el fin de garantizar los aspectos de seguridad para lograr una efectiva protección del consumidor;
Que con fecha 29 de junio de 2016, el Comité Consultivo Nacional de Normalización de la Secretaría de Economía, aprobó la publicación del Proyecto de Norma Oficial Mexicana PROY-NOM-205-SCFI-2016, Productos infantiles-Funcionamiento de sillas altas para la seguridad del infante-Especificaciones y métodos de prueba, la cual se realizó en el Diario Oficial de la Federación el 10 de julio de 2017, con objeto de que los interesados presentaran sus comentarios;
Que durante el plazo de 60 días naturales contados a partir de la fecha de publicación de dicho Proyecto de Norma Oficial Mexicana, la Manifestación de Impacto Regulatorio a que se refiere el artículo 45 de la Ley Federal sobre Metrología y Normalización estuvo a disposición del público en general para su consulta; y que dentro del mismo plazo, los interesados presentaron comentarios sobre el contenido del citado Proyecto de Norma Oficial Mexicana, mismos que fueron analizados por el grupo de trabajo, realizándose las modificaciones conducentes al Proyecto de Norma Oficial Mexicana;
Que con fecha 8 de noviembre de 2017, el Comité Consultivo Nacional de Normalización de la Secretaría de Economía (CCONNSE), aprobó por unanimidad la Norma Oficial Mexicana NOM-205-SCFI-2017, Productos infantiles-Funcionamiento de sillas altas para la seguridad del infante-Especificaciones y métodos de prueba.
Que la Ley Federal sobre Metrología y Normalización establece que las Normas Oficiales Mexicanas se constituyen como el instrumento idóneo para la protección de los intereses del consumidor, expide la siguiente:
NOM-205-SCFI-2017, Productos infantiles-Funcionamiento de sillas altas para la seguridad del infante-Especificaciones y métodos de prueba. SINEC-20171027131501001.
Ciudad de México, a 15 de noviembre de 2017.- El Director General de Normas y Presidente del Comité Consultivo Nacional de Normalización de la Secretaría de Economía, Alberto Ulises Esteban Marina.- Rúbrica.
 
NORMA OFICIAL MEXICANA NOM-205-SCFI-2017 "PRODUCTOS INFANTILES-FUNCIONAMIENTO DE
SILLAS ALTAS PARA LA SEGURIDAD DEL INFANTE-ESPECIFICACIONES Y MÉTODOS DE PRUEBA"
Prefacio
En la elaboración de la presente Norma Oficial Mexicana participaron las siguientes empresas e instituciones:
-      ASOCIACIÓN MEXICANA DE PRODUCTOS INFANTILES, A.C.
-      ASOCIACIÓN NACIONAL DE IMPORTADORES Y EXPORTADORES DE LA REPÚBLICA MEXICANA, A.C.
-      ASOCIACIÓN DE NORMALIZACIÓN Y CERTIFICACIÓN, A.C.
-      EVENFLO MÉXICO, S.A. DE C.V.
-      INTERTEK PRODUCTS MÉXICO
-      LABOTEC MÉXICO, S.C.
-      LOGIS CONSULTORES, S.A. DE C.V.
-      MEXICANA DE IMPORTACIONES Y EXPORTACIONES, S.A. DE C.V.
-      PRINSEL, S.A. DE C.V.
-      SECRETARÍA DE ECONOMÍA
       Dirección General de Normas
Índice del contenido
1.    Objetivo y campo de aplicación
2.    Referencias Normativas
3.    Definiciones
4.    Clasificación
5.    Especificaciones
6.    Muestreo
7.    Métodos de Prueba
8.    Información comercial e instructivos
9.    Procedimiento para la evaluación de la conformidad
10.   Vigilancia
11.   Concordancia con normas internacionales
Apéndice A (Normativo) Calificación del personal del organismo de certificación de sistemas de control de la calidad
Apéndice B (Normativo) Informe del sistema de control de la calidad de las líneas de producción
Apéndice C (Normativo) Informe de pruebas
Apéndice D (Normativo) Pruebas parciales
Apéndice E (Normativo) Documentación técnica
Apéndice F (Normativo) Información mínima para el contrato de prestación de servicio
Apéndice G (Normativo) Sistema de rastreabilidad
Apéndice H (Normativo) Agrupación de productos como una familia de productos
Apéndice I (Normativo) Características de maniquí infantil
12.   Bibliografía
 
TRANSITORIOS
1. Objetivo y campo de aplicación
La presente Norma Oficial Mexicana tiene por objetivo establecer las especificaciones de seguridad y los métodos de prueba que deben cumplir las sillas altas, para su elaboración y comercialización dentro del territorio nacional.
La presente Norma Oficial Mexicana es aplicable a las sillas altas que se comercializan dentro del territorio nacional.
Esta Norma Oficial Mexicana no es aplicable a las funciones adicionales de aquellas sillas altas que pueden convertirse en sillas bajas (altura del asiento menor que 381 mm por encima del piso) y mesas para uso en andaderas, carriolas, columpios, sillas para automóvil o sillas bajas reclinables.
2. Referencias Normativas
Los siguientes documentos normativos vigentes o los que los sustituyan son indispensables para la aplicación de esta Norma Oficial Mexicana.
-      NOM-050-SCFI-2004, Información comercial-Etiquetado general de productos. Publicada en el Diario Oficial de la Federación el 1 de junio de 2004.
-      NOM-106-SCFI-2017, Características de diseño y condiciones de uso de la Contraseña Oficial. Publicada en el Diario Oficial de la Federación el 8 de septiembre de 2017.
-      NMX-Z-12/2-1987, Muestreo para la inspección por atributos-Parte 2: métodos de muestreo, tablas y gráficas. Declaratoria de Vigencia publicada en el Diario Oficial de la Federación el 28 de octubre de 1987.
-      NMX-EC-17025-IMNC-2006, Requisitos generales para la competencia de los laboratorios de ensayo y de calibración. Declaratoria de Vigencia publicada en el Diario Oficial de la Federación el 24 de julio de 2006.
-      NMX-EC-17065-IMNC-2014, Evaluación de la conformidad-Requisitos para organismos que certifican productos, procesos y servicios. Declaratoria de Vigencia publicada en el Diario Oficial de la Federación el 6 de junio de 2014.
-      NMX-CC-19011-IMNC-2012, Directrices para la auditoría de los sistemas de gestión. Declaratoria de Vigencia publicada en el Diario Oficial de la Federación el 17 de septiembre de 2012.
-      NMX-EC-067-IMNC-2007, Evaluación de la conformidad-Elementos fundamentales de la certificación de productos. Declaratoria de Vigencia publicada en el Diario Oficial de la Federación el 14 de enero de 2008.
-      NMX-CC-9001-IMNC-2015, Sistemas de gestión de la calidad-Requisitos. Declaratoria de Vigencia publicada en el Diario Oficial de la Federación el 3 de mayo de 2016.
-      ISO/IEC 17067:2013, Conformity assessment-Fundamentals of product certification and guidelines for product certification schemes.
3. Definiciones
Para los propósitos de esta Norma Oficial Mexicana, se aplican los términos y definiciones siguientes:
3.1 Mecanismo de liberación de doble acción
Mecanismo que requiere, ya sea, de dos acciones consecutivas, donde la primera acción se mantiene mientras se lleva a cabo la segunda, o de dos mecanismos de aseguramiento, separados e independientes, que se activan simultáneamente para liberar completamente la charola.
3.2 Soporte de la parte frontal del torso
Una barrera que se extiende horizontalmente a través del asiento de la silla alta que es el soporte principal hecho para restringir el movimiento hacia adelante del torso del ocupante cuando la charola se retira y crea una abertura completa o parcial por delante del ocupante.
3.3 Superficie de liberación del enganche
 
Cualquier superficie en el mecanismo de liberación del enganche que dé por resultado la liberación de la charola de su posición de ajuste, cuando se aplique una fuerza perpendicular a esa superficie.
3.4 Posición de uso recomendada por el fabricante
Cualquier posición que se presenta por el fabricante, con un armado permisible o aceptable para el uso del producto en cualquier literatura descriptiva o instructiva. Esta excluye específicamente posiciones que el fabricante muestre, de la misma forma, como inaceptables, inseguras o no recomendables, en su literatura.
3.5 Ocupante
Aquel individuo que se encuentre en una silla alta, en cualquiera de las posiciones de uso recomendadas por el fabricante.
3.6 Superficie del asiento
Superficie del soporte del asiento para un ocupante que existe entre las superficies laterales, la superficie del respaldo y la superficie interior de la restricción pasiva de la entrepierna.
NOTA 1: Para asientos con lados abiertos, las superficies laterales están definidas por un plano vertical tangente a la superficie inferior de la restricción pasiva de la entrepierna.
3.7 Carga estática
Fuerza vertical hacia abajo que se aplica por un calibrador de fuerza o por pesos muertos.
3.8 Mecanismo de liberación del enganche de la charola
Mecanismo para liberar el enganche que asegura la charola a la silla alta o a una posición de ajuste o ambas.
3.9 Silla (s) alta(s)
Unidad independiente diseñada para infantes de hasta 3 años de edad, la cual cuenta con una altura del asiento mayor que 381 mm por encima del piso y eleva al infante normalmente para propósitos de alimentación.
NOTA 2: Una silla alta puede ser vendida con o sin charola y puede ser de altura ajustable a posiciones más altas o más bajas. Puede también incluir una posición reclinada para infantes que no se pueden sentar sin ayuda.
3.10 Restricción pasiva de la entrepierna
Componente que separa las aberturas para las piernas en dos aberturas delimitadas y que no requiere ninguna acción por parte del cuidador para su uso, excepto colocar una pierna en una de las aberturas creadas por el componente.
3.11 Ampliación de titularidad
Extensión de la propiedad y responsabilidad que el titular del certificado de conformidad tiene y otorga a una persona, física o moral que el titular designe.
3.12 Cancelación del certificado de conformidad
Acto por medio del cual el organismo de certificación de producto deja sin efectos de modo definitivo el certificado de conformidad.
3.13 Comercialización
Es la puesta a disposición (puesta en el mercado) de los productos fabricados en los Estados Unidos Mexicanos o importados de un tercer país con vistas a su distribución o uso en territorio nacional.
3.14 Certificado de conformidad
El documento mediante el cual un organismo de certificación de producto, hace constar que los productos, cumplen con los requisitos establecidos en la Norma Oficial Mexicana, bajo un esquema de certificación determinado.
3.15 Certificado del sistema de control de la calidad
El documento mediante el cual un organismo de certificación, acreditado en los términos establecidos por la Ley Federal sobre Metrología y Normalización y su Reglamento, hace constar que un determinado fabricante cumple con los requisitos establecidos en las Normas Oficiales Mexicanas o Normas Mexicanas de sistemas de control de la calidad de la serie CC, o aquéllas equivalentes, y que incluye, dentro de su alcance, la línea de producción de los productos a certificar.
3.16 Documentación técnica del producto
Aquella que soporta técnicamente el producto que se desea certificar, y que se encuentra en posesión del titular.
3.17 Evaluación de la conformidad
Es la determinación del grado de cumplimiento con las Normas Oficiales Mexicanas o la conformidad con las Normas Mexicanas, las normas internacionales u otras especificaciones, prescripciones o características. Comprende, entre otros, los procedimientos de muestreo, prueba, calibración, certificación y verificación.
3.18 Fabricante
Responsable del producto, desde su diseño y hasta su fabricación, o bien quien transforma o modifica un producto, o cambia el uso previsto del mismo, con el fin de comercializarlo en los Estados Unidos Mexicanos.
3.19 Distribuidor
Persona física o moral que habitual o periódicamente ofrece o distribuye, vende, arrienda o concede el uso o disfrute de productos, y asume todas las obligaciones de fabricante en territorio nacional.
3.20 Familia de productos
Conjunto de modelos de diseño común, construcción, partes o conjuntos esenciales que aseguran la conformidad con los requisitos aplicables.
NOTA 3: Una familia de productos puede definirse en función de una configuración completa de un producto, una lista de componentes, subensambles o materiales, además de la descripción de la forma en que cada uno de los modelos que la componen. Todos los modelos que están incluidos en la familia tienen típicamente un diseño, construcción, partes o ensambles esenciales comunes para asegurar la conformidad con los requisitos aplicables.
3.21 Informe de pruebas
Es el documento que emite un laboratorio de pruebas acreditado y aprobado mediante el cual hacen constar los resultados obtenidos de las pruebas realizadas a un producto, conforme a las especificaciones establecidas en esta Norma Oficial Mexicana, y que siguen el formato establecido en la NMX-EC-17025-IMNC-2006 (ver capítulo de Referencias Normativas).
3.22 Informe del sistema de control de la calidad del proceso de producción
Documento que elabora un organismo de certificación de producto (con personal calificado en los términos del Apéndice A (Normativo)) para hacer constar que el sistema de control de calidad aplicado a una determinada línea de producción, contempla procedimientos de verificación para el cumplimiento con esta Norma Oficial Mexicana y que se obtiene conforme a lo señalado en el Apéndice B (Normativo).
3.23 Laboratorio de pruebas
Es el laboratorio acreditado y aprobado, en los términos establecidos por la Ley Federal sobre Metrología y Normalización y su Reglamento, que tiene por objeto realizar actividades y pruebas (ensayos).
3.24 Lote
Conjunto de unidades de producto del cual se toma la muestra tipo para su evaluación y así determinar su conformidad con la presente Norma Oficial Mexicana; puede ser diferente del conjunto de unidades llamadas lote para otros propósitos (por ejemplo: producción, embarque, entre otros).
3.25 Muestra tipo
Espécimen o especímenes de productos representativos según el esquema de certificación de que se trate.
3.26 Organismo de certificación de producto (OCP)
Persona acreditada y aprobada, de conformidad con la Ley Federal sobre Metrología y Normalización y su Reglamento, para certificar que los productos cumplen con la presente Norma Oficial Mexicana
 
3.27 Organismo de certificación de sistemas de control de la calidad
Organismo acreditado, en los términos de la Ley Federal sobre Metrología y Normalización y su Reglamento, que expide certificados para sistemas de control de la calidad.
3.28 Pruebas parciales
Pruebas señaladas en el Apéndice D (Normativo) de la presente Norma Oficial Mexicana, realizadas a una muestra tipo, para fines de seguimiento.
3.29 Pruebas de tipo
Las realizadas a una muestra tipo para fines de certificación o seguimiento.
3.30 Seguimiento
Evaluación de los procesos y productos mediante inspección ocular, muestreo, pruebas, investigación de campo o revisión y evaluación del sistema de control de la calidad, posterior a la expedición del certificado, para comprobar el cumplimiento de la presente Norma Oficial Mexicana, así como las condiciones bajo las cuales se otorgó dicho certificado.
3.31 Servicios de certificación
Actividad realizada por un organismo de certificación para otorgar, mantener, ampliar, reducir, suspender y cancelar la certificación.
3.32 Suspensión del certificado
Acto mediante el cual el OCP interrumpe la validez, de manera temporal o parcial, del certificado de conformidad.
3.33 Validez del certificado
Los certificados de conformidad tienen validez cuando son emitidos por organismos de certificación acreditados y aprobados en términos de la Ley Federal sobre Metrología y Normalización; durante su vigencia sirven como medio para demostrar el cumplimiento del producto con esta Norma Oficial Mexicana.
3.34 Verificación
Constatación ocular o comprobación mediante muestreo, medición, pruebas de laboratorio, o examen de documentos que se realizan para evaluar la conformidad en un momento determinado.
4. Clasificación
El producto objeto de la aplicación de esta Norma Oficial Mexicana se clasifica de manera enunciativa más no limitativa en 5 tipos, los cuales se muestran a continuación:
-      Tipo 1-Fija
Son sillas altas tradicionales básicas; el asiento no se puede subir ni bajar; el respaldo no se puede ajustar y no se pliegan
-      Tipo 2-Plegable tipo tijera
Son sillas altas que pueden tener posiciones ajustables de reclinación en el respaldo, ajustes para la altura del asiento; se pliegan de manera fácil juntando las patas de la silla alta y pueden contar con llantas.
-      Tipo 3-Abatible (flip top)
Son sillas altas que pueden tener posiciones ajustables de reclinación en el respaldo y ajustes para la altura del asiento; se pliegan de manera fácil juntando las patas de la silla alta y doblando el respaldo hacia adelante o hacia atrás y pueden contar con llantas.
-      Tipo 4-Giratoria
Son sillas altas que pueden ajustar la altura del asiento, el cual puede girar hasta 360°.
-      Tipo 5-Etapas
Son sillas altas que se pueden transformar para un uso diferente al previsto inicialmente (ejemplo: silla con mesa, silla con mecedora, entre otros).
5. Especificaciones
Los productos objeto de la aplicación de esta Norma Oficial Mexicana, deben cumplir con las siguientes especificaciones.
5.1 Requisitos generales
Los requisitos son de aplicación para las sillas altas ensambladas y colocadas en posición de uso normal, de acuerdo con las instrucciones del fabricante.
Si alguna de las partes de la silla alta está diseñada para ser desmontable (por ejemplo: la charola o el descansa pies), los requisitos aplican a la silla alta con y sin esta(s) parte(s).
Los tornillos de ensamblaje para fijación directa (por ejemplo; tornillos autorroscantes) no deben utilizarse para el ensamblaje de aquellos componentes que estén diseñados para quitarse o aflojarse cuando la silla alta se desmonte con el fin de guardarla o transportarla.
La silla alta debe estar completamente ensamblada, incluyendo todos sus componentes de acuerdo con las instrucciones del fabricante, a menos que se especifique otra cosa.
El producto que va a ser puesto a prueba debe estar en un lugar con una temperatura ambiente de 23 °C ± 5 °C y, como mínimo, 1 h antes de aplicar la prueba. Las pruebas deben conducirse dentro de este rango de temperatura.
5.2 Orillas filosas, protuberancias, puntas o astillas
La silla alta no debe tener orillas filosas, protuberancias o puntas. Lo anterior debe probarse conforme al procedimiento descrito en el numeral 7.14 de esta Norma Oficial Mexicana.
5.3 Partes pequeñas
Las partes a evaluar (incluyendo sus componentes) no deben caber completamente, cualquiera que sea su orientación, en el cilindro de partes pequeñas al probarse de acuerdo con el numeral 7.15.
Aquellas piezas que no vayan a entrar en el cilindro no deben someterse a prueba. Ninguno de los componentes que puedan desmontarse sin el uso de una herramienta debe entrar completamente en el cilindro de partes pequeñas.
5.4 Astillas
Cualquier parte expuesta de madera debe ser suave y libre de astillas (antes de la aplicación de cualquier método). Esto se comprueba de acuerdo a la prueba que se indica en el numeral 7.14 de esta Norma Oficial Mexicana.
5.5 Mecanismos de enganche
Cualquier unidad que se doble debe tener un artefacto de enganche o de seguro u otra provisión en su diseño, que prevenga que la unidad se doble de manera no intencional, cuando esté colocada en la posición de uso recomendada por el fabricante. Durante y al término de la prueba, de acuerdo con el numeral 7.1, la unidad debe permanecer en posición de uso recomendada por el fabricante. Si la unidad se diseña con un mecanismo de enganche o seguro, dicho mecanismo debe quedar enganchado y operativo después de la prueba.
5.6 Orificios y aberturas
Cualquier orificio y abertura que sea accesible al ocupante en el uso y posición recomendada por el fabricante debe evaluarse bajo alguna de las condiciones siguientes:
a)    Se permiten orificios y aberturas con espesor de pared rígida menor que 9,53 mm y con un diámetro menor que 5,33 mm o mayor que 9,53 mm y no limitados en profundidad.
b)    Se permiten orificios y aberturas limitados por una superficie rígida con una profundidad menor o igual que 9,53 mm y con un diámetro entre 5,33 mm y 9,53 mm.
Los incisos anteriores se comprueban de acuerdo a la prueba que se indica en el numeral 7.2 de esta Norma Oficial Mexicana.
5.7 Pellizcos, cortadas y machucadas
Las sillas altas deben diseñarse y construirse de manera tal que se minimicen las lesiones por pellizcos, cortadas o machucadas mientras el infante se encuentre en la silla alta, durante el uso normal de la misma. No se permiten espacios accesibles entre 5,33 mm y 9,53 mm entre los elementos móviles y cualquier superficie adyacente que pueda causar lesiones. Lo anterior se verifica mediante el uso de varillas de 5,33 mm y 9,53 mm de diámetro y a lo establecido en numeral 7.3 de la presente Norma Oficial Mexicana.
5.8 Componentes protectores
 
Si el infante puede agarrar los componentes protectores entre el pulgar y el índice, o con los dientes (como son tapas, fundas o tapones usados para proteger de bordes o puntas afiladas, o prevenir atrapamiento de dedos de manos o pies), o si hay al menos un espacio de 1 mm entre el componente y su componente principal adyacente, el componente no debe removerse cuando se ponga a prueba de acuerdo con el numeral 7.4. Se evalúan todos los componentes protectores de la silla alta.
5.9 Integridad del soporte removible. Ensayo de caída de la charola
Todas las charolas que sean removibles deben permanecer funcionales con respecto a la silla alta y no deben exhibir puntas afiladas, bordes afilados o partes pequeñas, cuando sean sujetos a una prueba de caída de acuerdo con el numeral 7.5. Una charola se considera removible si se puede retirar de la silla alta sin el uso de herramienta (por ejemplo, sin usar un desarmador o una llave inglesa).
5.10 Desempeño del soporte de la parte frontal del torso o de la charola. Ensayo de resistencia de la charola
5.10.1 Prueba de tracción
El mecanismo de enganche de la charola no debe quedar desenganchado de su posición original cuando se le apliquen las pruebas de acuerdo con el numeral 7.6. Los componentes como insertos de charola, charolas para bocadillos y charolas para refrigerios, están exentos de este requisito.
5.11 Carga estática
Una silla alta debe soportar cargas estáticas sin causar condiciones peligrosas como se identifican en esta Norma Oficial Mexicana. Las pruebas deben realizarse de acuerdo con indicado en el numeral 7.7.
5.12 Resortes
Cualquier resorte expuesto, que sea accesible al ocupante y que presente un espacio entre espiras de 5,33 mm o mayor durante la prueba de carga estática, de acuerdo con el numeral 7.7; debe estar cubierto o en su defecto diseñado para prevenir lesiones por atrapamiento.
5.13 Prueba de estabilidad
Una silla alta no debe caerse cuando se le aplican las fuerzas, de acuerdo con el método de prueba indicado en el numeral 7.8.
5.14 Sistema de restricción. Retención del sistema de sujeción
La silla alta debe contar con un sistema de restricción para asegurar al infante en la posición sentada en cualquiera de las posiciones de uso recomendadas por el fabricante.
5.14.1 El sistema de restricción debe incluir tanto sujeción de la cintura como de la entrepierna, debe diseñarse de manera que la sujeción de la entrepierna sea obligatoria cuando el sistema de restricción se encuentre en uso.
5.14.2 El sistema de restricción y sus métodos de cerrado (por ejemplo: una hebilla) no deben romperse, separarse o permitir que el maniquí de prueba se remueva de la silla alta cuando se prueba, de acuerdo con el numeral 7.9.
5.14.3 Si durante la prueba del numeral 7.9.2.7.1, el posterior del maniquí de prueba se jala más allá del borde frontal del asiento, el maniquí debe considerarse removido.
5.14.4 Si durante la prueba del numeral 7.9.2.7.3, el maniquí de prueba alcanza una posición vertical con la fuerza aplicada, con las plantas de los pies tocando o fuera del asiento, el maniquí debe considerase removido.
5.14.5 La restricción de la cintura debe ajustarse con un mecanismo positivo, de auto-aseguramiento, que sea capaz cuando está asegurado, de soportar las fuerzas de la prueba que se establece en el numeral 7.9 sin permitir un movimiento en la restricción o resbalarse por más de 25,4 mm.
5.14.6 Una forma de conexión y una forma de ajuste para la restricción de la cintura deben poder usarse independientemente una de la otra. La forma de conexión no debe ser una forma de ajuste, pero puede estar integrada a ella.
5.14.7 El anclaje del sistema de restricción no debe separarse de su punto de sujeción cuando se evalúa de acuerdo al punto del numeral 7.9.2.6.
5.14.8 El sistema de restricción debe estar completamente integrado a la silla alta, desde el momento de fabricación, en al menos una de las posiciones de uso recomendadas por el fabricante y de manera que no se suelte durante el uso normal.
5.15 Sistema de restricción pasiva en la entrepierna
Las sillas altas que tienen una abertura completamente delimitada, frente al ocupante en cualquier posición, también deben tener una restricción de la entrepierna en todas estas posiciones.
5.15.1 No debe de haber un espacio vertical entre la restricción pasiva de la entrepierna y, ya sea, la charola, el soporte de la parte frontal del torso o la superficie del asiento, que permita el paso libre de una varilla de 38 mm de diámetro de la abertura de una pierna a la otra.
5.15.2 La distancia entre la superficie frontal del respaldo no comprimido del asiento, y la restricción pasiva de la entrepierna debe ser menor a 216 mm, cuando es medida horizontalmente 50 mm sobre el punto más bajo de la superficie no comprimida del asiento.
5.15.3 Las aberturas para las piernas, a cada lado de la restricción pasiva de la entrepierna, no deben permitir el paso completo del bloque de cuña cuando se aplica la prueba de acuerdo al punto del numeral 7.10.
5.16 Integridad estructural
Durante y hasta que se completa la prueba de acuerdo con el numeral 7.11, la silla alta debe cumplir con todo lo que a continuación se describe:
5.16.1 La silla alta no debe exhibir un cambio instantáneo en la altura de la superficie del asiento del ocupante sobre el piso de más de 75 mm, durante un ciclo de la caída del peso. Durante y después de un cambio en la altura de la superficie del asiento, la silla alta debe cumplir con los requisitos para aberturas como se define en el numeral 5.6, y para cortes, cizalladuras, o atrapamientos como se define en el numeral 5.7.
5.16.2 No debe existir ruptura de ningún componente estructural.
5.16.3 Los mecanismos de enganche o seguro, que evitan que la silla alta se pliegue, deben permanecer enganchados.
5.16.4 El ángulo original de la superficie del asiento del ocupante, en relación al piso, no debe cambiar más de 10°.
5.17 Contención lateral
Las aberturas completamente limitadas en las superficies, que actúan como lados del área del asiento que están debajo de la superficie superior de la charola y por arriba de la superficie inferior del asiento, no deben permitir el paso completo del bloque de cuña cuando se aplique la prueba de acuerdo con el numeral 7.12.
5.18 Mecanismo de liberación de enganche de la charola. Accesibilidad
Las sillas altas que tienen aberturas para las piernas completamente delimitadas frente al ocupante, en cada lado de la restricción pasiva de la entrepierna, cuando se remueve la charola; están exentas de los requisitos siguientes:
5.18.1 Los mecanismos de liberación del enganche de la charola, localizados en el frente de la charola o adelante del ocupante deben cumplir con el numeral 5.18.1.1, 5.18.1.2 o 5.18.1.3. Los mecanismos de liberación del enganche de la charola que sólo permiten cambios en el ajuste de la posición de la charola que no permiten que se desprenda la charola desde ningún punto de desenganche a la silla alta, y las charolas en sillas altas con un soporte de la parte frontal del torso; están exentas de los requisitos de esta sección.
5.18.1.1 Las superficies de liberación del enganche, en un mecanismo de liberación del enganche de la charola, deben ser inaccesibles para el pie de un ocupante como se define en el inciso a), o cumplir con el inciso b), que se muestran a continuación:
a)    La superficie inferior de la probeta de ensamble pierna/pie, (ver Figura 5), no debe contactar ninguna superficie de liberación del enganche en el mecanismo de liberación del enganche de la charola cuando se aplique la prueba descrita en el numeral 7.13;
b)    Si la superficie del mecanismo de liberación está en contacto con la parte más baja del pie de la probeta de ensamble pierna/pie, el ángulo entre el Plano "A" en el pie y el Plano "B" en la parte más
baja de la pierna, debe ser de 30° o mayor cuando se pruebe de acuerdo al numeral 7.12.2 (ver Figura 6).
5.18.1.2 La dirección para que actúe el mecanismo de liberación del enganche de la charola debe empujar al ocupante hacia adelante.
5.18.1.3 El mecanismo de liberación del enganche de la charola es un mecanismo de liberación de doble acción.
5.18.2 Los mecanismos de liberación del enganche de la charola, localizados al lado de la charola, deben cumplir con el numeral 5.18.2.1, 5.18.2.2, 5.18.2.3 o 5.18.2.4.
5.18.2.1 En el caso de los mecanismos de liberación del enganche de la charola de doble acción, la charola no debe desprenderse de la silla alta en ninguna posición de enganche cuando se prueba de acuerdo con el numeral 7.12. Se permite un cambio en la posición de ajuste de la charola, siempre y cuando la charola no pueda soltarse de ningún lado de la silla alta.
Para los propósitos de este requisito, cada mecanismo de liberación del enganche de la charola debe considerarse independientemente.
5.18.2.2 Cada mecanismo de liberación del enganche de la charola debe ser un mecanismo de liberación de doble acción. Para los propósitos de este requisito, cada mecanismo de liberación del enganche de la charola debe considerarse independientemente.
5.18.2.3 Dos o más mecanismos de liberación del enganche de la charola son interdependientes, de tal forma que la charola no debe liberarse completamente de cualquiera de los lados de la silla alta, sin que se ejecuten al menos dos mecanismos de liberación del enganche de la charola. La interconexión debe requerir de dos acciones consecutivas, la primera de las cuales debe mantenerse mientras la segunda se lleva a cabo, o dos acciones separadas e independientes que deben llevarse a cabo simultáneamente para liberar completamente la charola. Un intento de accionar cualquiera de los mecanismos de liberación del enganche de la charola de forma independiente, no debe permitir que ningún lado de la charola se libere completamente de la silla alta.
5.18.2.4 El mecanismo de liberación del enganche de la charola, no debe ser visible al ocupante y la dirección del mecanismo de liberación debe estar al menos a 85° de la dirección de la liberación o remoción de la charola. La visibilidad debe determinarse cuando el asiento está en posición recta y alzada, y la charola está en alguna de las posiciones de uso del fabricante. Un mecanismo de liberación del enganche de la charola no se considera visible al ocupante, si el enganche está al nivel o hacia atrás del plano perpendicular del borde exterior de la charola en el área del mecanismo de liberación del enganche de la charola.
6. Muestreo
Cuando se requiera efectuar un muestreo del producto, objeto de la aplicación de esta Norma Oficial Mexicana, las condiciones de éste pueden establecerse de común acuerdo entre productor y consumidor, recomendándose para tal efecto la aplicación de la NMX-Z-12/2-1987 (ver capítulo de Referencias Normativas).
7. Métodos de Prueba
A menos que se especifique lo contrario, son de aplicación las tolerancias siguientes:
a)    Fuerzas: ± 5 %;
b)    Masas: ± 0,5 %;
c)    Dimensiones: ± 1,0 mm;
d)    Ángulos: ± 2°;
Las fuerzas pueden sustituirse por masas. En este caso, debe aplicarse la relación 10 N = 1 kg.
Para verificar las especificaciones de seguridad que se establecen en esta Norma Oficial Mexicana, deben aplicarse los métodos de prueba que se describen a continuación:
7.1 Mecanismos de Enganche
7.1.1 Equipo
a)    Maniquí de acuerdo a lo indicado en el Apéndice I (Normativo);
 
b)    Aparato que permita alcanzar la fuerza indicada;
c)    Cronómetro.
7.1.2 Procedimiento
7.1.2.1 Situar la silla alta en el suelo con el maniquí de ensayo en el centro del asiento.
7.1.2.2 Asegurar la silla alta para evitar que se vuelque, de modo que el movimiento normal de plegado no se impida.
7.1.2.3 Aplicar una fuerza de 200 N a la parte que se pliega de la silla alta (por ejemplo: respaldo, patas, entre otros), en la dirección normalmente asociada con el plegado de la silla alta, en el punto más desfavorable para el mecanismo de enganche. Aplicar la fuerza gradualmente durante un periodo de 5 s y mantenerla por 10 s adicionales antes de retirar la fuerza.
7.1.2.4 Llevar a cabo este procedimiento cinco veces en un periodo de 2 min.
7.1.3 Expresión de resultados
Durante y al término de la prueba, la unidad debe permanecer en posición de uso recomendada por el fabricante. Si la unidad se diseña con un mecanismo de enganche o seguro, dicho mecanismo debe quedar enganchado y operativo después de la prueba.
7.2 Orificios y Aberturas
7.2.1 Aparatos
a)    Varilla de prueba con diámetro de 5,33 mm, sin tolerancia;
b)    Varilla de prueba con diámetro de 9,53 mm, sin tolerancia;
c)    Calibrador digital o vernier con resolución mínima de 0,01 mm, sin tolerancia;
7.2.2 Procedimiento
7.2.2.1 Colocar la silla alta siguiendo las instrucciones del fabricante y ajustarla a la posición en la cual los orificios se expongan al alcance del ocupante.
7.2.2.2 Localizar los orificios y aberturas amoldadas en el cuerpo sólido de la silla alta y que sean accesibles al ocupante.
7.2.2.3 Una vez localizados los orificios y si éstos no se encuentran limitados en profundidad, tomar en consideración lo establecido en el inciso a) del numeral 5.6, comprobar el espesor de pared con el calibrador y el diámetro de los orificios por medio del uso de las varillas.
7.2.2.4 Cuando los orificios se encuentren limitados en profundidad, tomar en consideración lo establecido en el inciso b) del numeral 5.6, comprobar la profundidad con el calibrador y el diámetro de los orificios por medio del uso de las varillas.
7.2.3 Expresión de resultados
Las pruebas se consideran satisfactorias si se cumple con lo establecido en el inciso a) o b) del numeral 5.6.
7.3 Pellizcos, cortadas y machucadas
7.3.1 Aparatos
a)    Varilla de prueba con diámetro de 5,33 mm, sin tolerancia;
b)    Varilla de prueba con diámetro de 9,53 mm, sin tolerancia;
c)    Calibrador digital o vernier con resolución mínima de 0,01 mm
7.3.2 Procedimiento
7.3.2.1 Colocar la silla alta siguiendo las instrucciones del fabricante y ajustarla a la posición de uso más alta.
7.3.2.2 Localizar los espacios donde convergen las partes móviles y las superficies adyacentes a las cuales puede tener acceso el ocupante.
7.3.2.3 Una vez localizados no deben permitir el ingreso de la varilla de prueba con diámetro de 5,33 mm, si la varilla ingresa, comprobar que la varilla de prueba con diámetro de 9,53 mm también ingrese.
7.3.3 Expresión de resultados
 
Cumple si, los espacios accesibles están fuera del intervalo de 5,33 mm a 9,53 mm comprobado con las varillas de prueba.
7.4 Componentes Protectores
7.4.1 Aparatos
a)    Aparato que permita alcanzar la fuerza de torsión indicada;
b)    Aparato que permita alcanzar la fuerza de tensión indicada;
c)    Cronómetro.
7.4.2 Procedimiento
7.4.2.1 Probar todos los componentes de acuerdo con cada uno de los métodos siguientes enlistados en la secuencia.
7.4.2.2 Asegurar la silla alta de manera que no pueda moverse durante la ejecución de las pruebas siguientes:
7.4.2.3 Prueba de momento torsional
7.4.2.3.1 Aplicar un momento torsional de 0,5 Nm gradualmente, dentro de un periodo de 5 s en dirección de las manecillas del reloj hasta alcanzar una rotación de 180° desde la posición original, o hasta alcanzar 0,5 Nm. Mantener el momento torsional o rotación máxima por 10 s adicionales. Después remover el momento torsional y permitir que los componentes de prueba regresen a una condición relajada. Después repetir este procedimiento en la dirección contraria a las manecillas del reloj.
7.4.2.4 Prueba de tensión
7.4.2.4.1 Sujetar un dinamómetro a la tapa, funda o tapón del componente usando cualquier artefacto que sirva para tal efecto. En el caso de componentes, donde no sea razonable esperar que puedan agarrarse entre el pulgar y el índice o los dientes en su diámetro externo pero que tienen un espacio de 1,0 mm o mayor, entre la superficie posterior del componente y el miembro estructural de la silla alta a la cual están anexos; una abrazadera como la que se muestra en la Figura 3 puede ser un artefacto adecuado.
7.4.2.4.2 Asegurar que el artefacto anexo no comprima o expanda el componente de manera que entorpezca su remoción
7.4.2.4.3 Aplicar gradualmente una fuerza de 67 N en la dirección que se asociaría normalmente con la remoción del componente. Aplicar la fuerza gradualmente dentro de un periodo de 5 s y mantenerla por 10 s adicionales.
7.4.3 Expresión de resultados
Después de las pruebas, la silla alta debe de cumplir con lo establecido en la especificación 5.8 de la presente Norma Oficial Mexicana.
7.5 Integridad del soporte removible. Ensayo de caída de la charola
7.5.1 Aparatos
a)    Mosaicos de vinil tipo IV con espesor nominal de 3 mm, libre de asbesto, sobre al menos 64 mm de espesor de concreto para formar un área de impacto;
b)    Flexómetro de 0 mm a 3000 mm.
7.5.2 Procedimiento
7.5.2.1 Se quita la charola de la silla alta y se deja caer, una vez, desde una altura de 900 mm, medidos a partir del punto central de la superficie de uso de la charola, sobre el suelo de ensayo en cada una de las posiciones siguientes:
a)    Sobre cada uno de los lados mayores;
b)    Sobre cada uno de los lados menores;
c)    Sobre las superficies inferior y superior.
7.5.3 Expresión de resultados
La charola no debe de exhibir, después de la prueba, puntas afiladas, bordes afilados o partes pequeñas de acuerdo a lo indicado en el punto 5.9 de la presente Norma Oficial Mexicana.
 
7.6 Desempeño del soporte de la parte frontal del torso o de la charola. Ensayo de resistencia de la charola
Asegurar la silla alta en su posición erguida normal de manera que todas las patas tengan contacto con el piso, para que no pueda moverse en la dirección de la fuerza aplicada.
7.6.1 Aparatos
a)    Dispositivo para sujetar la charola;
b)    Aparato que permita alcanzar la fuerza indicada;
c)    Cronómetro.
7.6.2 Desenganchamiento del mecanismo de enganche de la charola.
7.6.2.1 Prueba de tracción horizontal (al frente y posterior).
7.6.2.1.1 Sujetar un aparato de prueba al centro, de frente o de la parte de atrás del mecanismo de enganche de la charola, de manera que el dispositivo no produzca daño al producto.
7.6.2.1.2 Aplicar gradualmente una fuerza horizontal de 200 N a la charola, dentro de un periodo de 5 s y mantener por 10 s adicionales.
7.6.2.1.3 Repetir este procedimiento cuatro veces más a un total de cinco repeticiones en ambas direcciones, frontal y posterior.
7.6.2.2 Prueba de tracción horizontal (por los lados).
7.6.2.2.1 Sujetar un dispositivo de prueba al centro de un lado de la charola de manera que el dispositivo no produzca daño al producto.
7.6.2.2.2 Aplicar gradualmente una fuerza horizontal de 200 N a la charola dentro de un periodo de 5 s y mantener por 10 s adicionales.
7.6.2.2.3 Repetir este procedimiento cuatro veces más hasta un total de cinco repeticiones en cada lado de la charola.
7.6.3 Desenganchamiento del mecanismo de enganche de la charola - Prueba de tracción vertical.
7.6.3.1 Prueba de tracción vertical (posterior).
7.6.3.1.1 Sujetar un dispositivo de prueba al centro de la parte posterior de la charola de manera que el dispositivo no produzca daño al producto.
7.6.3.1.2 Aplicar gradualmente una fuerza hacia arriba de 200 N en la parte posterior de la charola, durante 5 s y mantener por 10 s adicionales.
7.6.3.1.3 Repetir este procedimiento cuatro veces más hasta por un total de cinco repeticiones.
7.6.3.2 Prueba de tracción vertical (por los lados).
7.6.3.2.1 Sujetar la charola a la silla alta. Sujetar un dispositivo de prueba al lado del soporte de la charola, en la línea central del mecanismo de aseguramiento. Si más de un punto de sujeción se usa para asegurar el soporte de la charola en el lado que está bajo prueba, centrar el dispositivo entre ambos puntos de sujeción que están espaciados a la distancia más lejana entre sí. La fuerza aplicada con el dispositivo no deberá producir daño en el producto.
7.6.3.2.2 Aplicar gradualmente una fuerza hacia arriba de 200 N en la parte lateral de la charola durante 5 s y mantener por 10 s adicionales.
7.6.3.2.3 Repetir este procedimiento cuatro veces más hasta un total de cinco repeticiones en cada lado de la charola.
7.6.4 Expresión de resultados
Después de las pruebas, el mecanismo de enganche de la charola no debe quedar desenganchado de su posición original.
7.7 Prueba de carga estática
7.7.1 Aparatos
 
a)    Bloque de madera de 150 mm x 150 mm x 19 mm;
b)    Boque de madera de 75 mm x 150 mm x 19 mm;
c)    Pesa o grupo de pesas que sumen una masa de 45 kg y 22,5 kg, respectivamente;
d)    Cronómetro;
e)    Calibrador digital o Vernier con resolución mínima de 0,01 mm.
7.7.2 Procedimiento
7.7.2.1 Prueba de carga estática en asiento.
7.7.2.1.1 Asegurar la silla alta en una posición erguida con todas las patas en el piso.
7.7.2.1.2 Colocar un bloque de madera de 150 mm x 150 mm x 19 mm en el centro del asiento.
7.7.2.1.3 Aplicar gradualmente una carga estática de 45 kg en el bloque de madera, durante un periodo de 5 s y mantener por 60 s adicionales.
7.7.2.1.4 En caso de existir resortes expuestos accesibles al ocupante, medir el espacio entre espiras por medio de un Vernier. Si no se puede realizar la medición directamente, efectuarla por medio de una varilla de 5,33 mm de diámetro.
7.7.2.2 Prueba de carga estática en el reposapiés/escalón.
7.7.2.2.1 Asegurar la silla alta en una posición erguida con todas las patas en el piso. Si el reposapiés o escalón es ajustable, ajustar a su posición más baja.
7.7.2.2.2 Colocar un bloque de madera de 75 mm x 150 mm x 19 mm en el centro del reposapiés o escalón
7.7.2.2.3 Aplicar gradualmente una carga estática de 22,5 kg en el bloque de madera, durante un periodo de 5 s y mantener por 60 s adicionales.
7.7.2.2.4 En caso de existir resortes expuestos, evaluar de acuerdo al numeral 7.7.2.1.4.
7.7.2.3 Prueba de carga estática en la charola.
7.7.2.3.1 Asegurar la silla alta en una posición erguida con todas las patas en el piso. Si la charola es ajustable, ajustar a la posición posterior más cercana al respaldo del asiento de la silla alta.
7.7.2.3.2 Colocar un bloque de madera de 75 mm x 150 mm x 19 mm en el centro de la superficie superior de la charola.
7.7.2.3.3 Aplicar gradualmente una carga estática de 22,5 kg en el bloque de madera, durante un periodo de 5 s y mantener por 60 s adicionales.
7.7.2.3.4 En caso de existir resortes expuestos, evaluar de acuerdo al numeral 7.7.2.1.4.
7.7.3 Expresión de resultados
Después de la prueba, la silla alta no debe presentar condiciones peligrosas. El espacio entre espirales de resortes expuestos, no deberá ser mayor a 5,33 mm.
7.8 Prueba de estabilidad
7.8.1 Aparatos
a)    Ángulo de aluminio de 12,7 mm x 25,4 mm con un espesor de 3,17 mm con el largo necesario para cubrir el ancho de la silla alta;
b)    Pesa de acero formado en frío estándar de 102 mm de alto, 64 mm de ancho y 183 mm de largo. Perforar orificios en la superficie superior de la pesa o cortar las esquinas de la pesa para ajustar la masa de prueba a 9,1 kg, se requieren dos pesas para llevar a cabo la prueba;
c)    Aparato que permita alcanzar la fuerza indicada;
d)    Pesa o grupo de pesas que sumen una carga de 178 N, 80 N, y 62 N respectivamente;
e)    Cronómetro.
7.8.2 Procedimiento
 
7.8.2.1 Estabilidad con el infante en la silla alta
7.8.2.1.1 Colocar la silla alta en una posición erguida con todas las patas en el piso. Sujetar la charola en la posición más cercana al respaldo del asiento de la silla alta.
7.8.2.1.2 Colocar un ángulo de aluminio en el piso de prueba de tal forma que el lado de 12,7 mm quede contra la pata o patas, asegurando que la silla alta no se resbale en el piso de prueba, pero que no evite que se voltee.
7.8.2.1.3 Centrar las pesas de prueba lado a lado en el asiento en ambas direcciones del frente hacia atrás y lateralmente, con el lado de 64 mm orientado horizontalmente como se muestra en la Figura 1 opción a. Para sillas altas con restricción pasiva en la entrepierna, que prevenga el colocar las dos pesas juntas lateralmente en el centro del asiento, colocar una pesa de cada lado de la restricción pasiva de entrepierna de manera que se encuentren equidistantes del centro del asiento como se muestra en la Figura 1 opción b. Fijar las pesas de prueba al asiento de manera que las pesas no se muevan en relación al asiento. Para superficies del asiento no rígidas o amoldables (como asientos de hamaca o de espuma) las pesas deberán ser colocadas sobre un bloque de madera (150 x 150 x 90 mm) para asegurar la distribución uniforme del peso, como se muestra en la Figura 1 opción c.

Figura 1-Arreglo de pesos para prueba de estabilidad
7.8.2.2 Estabilidad frontal
7.8.2.2.1 Aplicar una fuerza de tracción horizontal de 80 N, perpendicular al plano frontal de la silla alta, en el borde frontal del centro de la charola en la superficie más alta de ésta. Aplicar gradualmente la fuerza durante un periodo de 5 s
7.8.2.3 Estabilidad lateral
7.8.2.3.1 Aplicar una fuerza de tracción horizontal de 62 N, perpendicular al plano lateral de la silla alta, al centro de cada brazo de la silla alta en la superficie más alta de la charola o del brazo, de no haber charola. Aplicar gradualmente la fuerza durante un periodo de 5 s
7.8.2.4 Estabilidad posterior
7.8.2.4.1 Aplicar una fuerza de tracción horizontal de 62 N, perpendicular al plano posterior de la silla alta, al centro del respaldo del asiento a la altura de la superficie más alta de la charola. Aplicar gradualmente la fuerza durante un periodo de 5 s
7.8.2.4.2 En el caso de diseños de sillas altas que no incluyen una charola, llevar a cabo las pruebas de estabilidad según lo indicado en los numerales 7.8.2.2, 7.8.2.3 y 7.8.2.4, a partir de aplicar la fuerza horizontal en el miembro más externo a una altura estimada como la superficie más alta de la charola.
7.8.2.5 Estabilidad con el infante escalando la silla alta
7.8.2.5.1 Con la charola removida, extender el reposapiés a su posición de ajuste más hacia el frente. Aplicar gradualmente una carga estática de 178 N durante 5 s, en una posición que no exceda de 25 mm, desde el borde frontal del reposapiés sobre un cojinete protector que no exceda 51 mm en cualquier dirección Si la silla alta no tiene reposapiés, aplicar gradualmente la carga estática de 178 N a la parte horizontal más sobresaliente del frente de la silla alta que pueda ser utilizado como escalón.
7.8.3 Expresión de resultados
Después de la prueba, la silla alta no debe caerse de acuerdo a lo indicado en el numeral 5.12 de esta Norma Oficial Mexicana.
7.9 Prueba de retención del sistema de sujeción
7.9.1 Aparatos
a)    Arnés de prueba (ver Figura 2);
b)    Artefacto de tracción (ver Figura 3);
c)    Maniquí de acuerdo a lo indicado en el Apéndice I (Normativo);
d)    Aparato que permita alcanzar la fuerza indicada;
e)    Cronómetro.
 

Figura 2-Características del arnés para la prueba de sujeción
 

Figura 3-Dispositivo de tracción
7.9.2 Procedimiento
7.9.2.1 Asegurar la silla alta para que no pueda moverse.
7.9.2.2 Colocar un arnés de prueba de un sistema de restricción (ver Figura 2) en el maniquí de prueba.
7.9.2.3 Colocar el cinturón horizontal justo debajo de los brazos y ajustar el cinturón horizontal, de manera que abrace el torso.
7.9.2.4 Colocar al maniquí con el arnés de prueba de un sistema de restricción en su lugar en el asiento de la silla alta.
7.9.2.5 Asegurar al maniquí dentro de la silla alta de acuerdo con las instrucciones del fabricante.
7.9.2.6 En el caso de sistemas de restricción activos (pensados para excluir los sistemas de restricción pasivos, de manera que no requieran ajustes por parte de un cuidador) ajustar la restricción de la cintura, usando el artefacto de tracción a partir de la tensión de la correa que se muestra en la Figura 3; de manera que la fuerza de 9 N, aplicada a la restricción de la cintura, provea de un espacio de 6 mm entre la restricción de la cintura y el maniquí.
 
7.9.2.7 Llevar a cabo las pruebas siguientes sin reajustar el sistema de restricción:
7.9.2.7.1 Aplicar horizontalmente una fuerza de tensión de 200 N en la línea central aproximada de cualquier pierna sujetando el maniquí del tobillo. Aplicar gradualmente la fuerza durante 5 s y mantener por 10 s adicionales.
7.9.2.7.2 Repetir el procedimiento que se establece en el numeral 7.9.2.6 cuatro veces más, hasta un total de cinco aplicaciones, con un intervalo máximo de 2 s entre pruebas.
7.9.2.7.3 Aplicar una fuerza de tracción vertical hacia arriba de 200 N más el peso del maniquí, en la línea central aproximada del torso del maniquí. Aplicar gradualmente la fuerza por 5 s y mantener 10 s adicionales.
7.9.2.7.4 Repetir el procedimiento que se establece en el numeral 7.9.2.7.3 cuatro veces más hasta un total de cinco aplicaciones, con un intervalo máximo de 2 s entre pruebas.
7.9.2.8 Integridad del sistema de restricción.
7.9.2.8.1 Asegurar el modelo de tal manera que no pueda moverse horizontal ni verticalmente.
7.9.2.8.2 Aplicar una fuerza de 200 N a uno de los puntos de aseguramiento del sistema de restricción, en la dirección normal de uso en que se aplicaría estrés a ese aseguramiento. Aplicar la fuerza gradualmente en 5 s y mantener 10 s adicionales.
7.9.2.8.3 Repetir el procedimiento del numeral 7.9.2.8.2 un total de 5 veces con un periodo máximo de 5 s entre cada prueba.
7.9.2.8.4 Repetir los numerales 7.9.2.8.2 y 7.9.2.8.3 para cada punto de aseguramiento del sistema de restricción y dispositivo de sujeción.
7.9.3 Expresión de resultados
Después de las pruebas, la silla alta no debe presentar ningún defecto, de acuerdo a lo indicado en el numeral 5.14 de la presente Norma Oficial Mexicana.
7.10 Restricción pasiva de la entrepierna
Ajustar el respaldo del asiento a la posición más recta, y la restricción pasiva de la entrepierna a la posición más lejana del respaldo del asiento.
7.10.1 Aparatos
a)    Varilla de 38 mm de diámetro x 76 mm de longitud;
b)    Flexómetro;
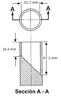
c)    Bloque de cuña, fabricado en aluminio y con un acabado suave, de acuerdo a lo indicado en la Figura 4.
 

Figura 4-Bloque de cuña
7.10.2 Procedimiento
7.10.2.1 Asegurar la silla alta en su posición erguida normal, de manera que no pueda moverse en la dirección de la fuerza aplicada. Sujetar la charola en la posición que crea las aberturas de pierna más grandes.
7.10.2.2 Insertar el extremo afilado del bloque de cuña, que se muestra en la Figura 4 dentro de cada abertura de pierna, en la orientación más adversa. Aplicar una fuerza de 111 N perpendicular a la base del bloque de cuña. La fuerza debe aplicarse gradualmente durante 5 s y mantenerse por 10 s adicionales.
7.10.2.3 Repetir este procedimiento con la charola removida, si existe una abertura completamente limitada después de que la charola ha sido removida.
7.10.3 Expresión de resultados
Después de las pruebas, la silla alta debe cumplir con lo indicado en el punto 5.15 de la presente Norma Oficial Mexicana.
7.11 Integridad estructural
7.11.1 Aparatos
a)    Bloque de madera de 150 mm x 150 mm x 19 mm;
b)    Bolsa con peso de 23 kg;
c)    Equipo para producir ciclos de caída;
d)    Flexómetro;
e)    Goniómetro.
7.11.2 Procedimiento
7.11.2.1 Ensamblar la silla alta de acuerdo con las instrucciones del fabricante.
7.11.2.2 Colocar un bloque de madera de 150 mm x 150 mm x 19 mm en el centro del asiento.
7.11.2.3 Llevar a cabo una prueba de caída usando una bolsa con un peso de 23 kg, de 150 mm a 200 mm de diámetro usando granalla de acero como la masa de la bolsa. Dejar caer la bolsa sobre el bloque de madera en el asiento, desde una altura de 75 mm sobre el bloque de madera. La caída debe repetirse 500 ciclos. El tiempo de un ciclo debe ser 4 s/ciclo ± 1 s. La altura de caída debe ajustarse a mantener una altura de 75 mm.
7.11.3 Expresión de resultados.
Después de realizadas las pruebas, la silla alta debe cumplir con lo indicado en los numerales 5.16.1, 5.16.2, y 5.16.3, de la presente Norma Oficial Mexicana.
7.12 Contención lateral
7.12.1 Aparatos
a)    Bloque de cuña de acuerdo a lo indicado en la Figura 3;
b)    Aparato que permita alcanzar la fuerza indicada;
c)    Flexómetro.
7.12.2 Procedimiento
7.12.2.1 En el caso de las sillas altas con muchos modos de uso recomendados por el fabricante en el instructivo, deben evaluarse de acuerdo con esta sección
7.12.2.2 Ensamblar la silla alta de acuerdo con las instrucciones del fabricante. Si la (s) silla (s) alta(s) tiene ajuste(s) que altere(n) el tamaño o la forma de las aberturas laterales, ajustar la silla alta a la posición de ajuste donde sea más probable que falle la abertura lateral.
7.12.2.3 Probar cada abertura lateral insertando el lado cónico del bloque de cuña, que se muestra en la Figura 4, colocándolo en la posición más desfavorable. Aplicar una fuerza de 111 N perpendicular a la base del bloque de cuña. La fuerza debe aplicarse gradualmente durante 5 s y mantenerse por 10 s adicionales.
7.12.2.4 En el caso de sillas altas con charola, repetir este procedimiento con la charola removida si existe una abertura completamente limitada después de que la charola sea removida y sí la remoción de la charola cambia el tamaño o la forma de la abertura lateral.
7.12.3 Expresión de resultados
Después de realizadas las pruebas indicadas en esta sección, la silla alta debe cumplir con lo indicado en el punto 5.17 de la presente Norma Oficial Mexicana.
7.13 Mecanismo de liberación del enganche de la charola Accesibilidad
7.13.1 Aparatos
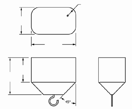
a.    Dispositivo de Prueba A y B (pies/piernas) (ver Figura 5);
b.    Bloque de 30° (ver Figura 6);
c.    Flexómetro;
d.    Aparato que permita alcanzar la fuerza requerida;
e.    Cronómetro.

Figura 5-Dispositivo de prueba A y B (pies/piernas)
 

Figura 6-Bloque de 30°
7.13.2 Procedimiento
7.13.2.1 Evaluar cada mecanismo de liberación del enganche de la charola con el dispositivo de prueba A y B (pies/piernas), ver Figura 5, con la charola ajustada en la posición que más probablemente falle, y sin el uso del cojinete del asiento en caso que esta sea una posición de uso recomendada por el fabricante.
7.13.2.2 A una altura de 50 mm, sobre el cojinete del asiento sin comprimir o sobre la superficie inferior del asiento, colocar el extremo sin pie del dispositivo de prueba en cualquier lugar dentro de la superficie del asiento e intentar hacer contacto con el mecanismo de liberación del enganche de la charola con el extremo con pie del dispositivo de prueba. Si la superficie inferior del pie puede contactar la superficie de liberación del enganche en el mecanismo de liberación de enganche de la charola, comprobar que el ángulo entre el Plano A y el Plano B es de 30° o mayor, usando un bloque de cuña con un ángulo de 30° (ver Figura 6).
7.13.2.3 Con la charola sujeta en la posición de uso recomendada por el fabricante, aplicar gradualmente una fuerza de 67,5 N en 5 s, al mecanismo de liberación en la dirección que más probablemente falle y mantener por 10 s.
7.13.2.4 Probar cada mecanismo de liberación en cada posición de ajuste de la charola.
7.13.3 Expresión de resultados
Después de realizadas las pruebas indicadas en esta sección, la silla alta debe cumplir con lo indicado en el numeral 5.18 de la presente Norma Oficial Mexicana.
7.14 Prueba con orillas filosas, protuberancias, puntas o astillas
7.14.1 Aparatos
a)    Esponja de poliuretano espumado (densidad de 20 kg/m3 ±0.5 kg/m3) con dimensiones de 100 mm x 100 mm x 30 mm;
b)    Aparato que permita alcanzar la fuerza indicada.
7.14.2 Procedimiento
Hacer pasar el área de la esponja de prueba por todas las aristas y uniones que puedan ser cortantes aplicando una fuerza de 5 N.
7.14.3 Expresión de resultados
Se verifica visualmente la esponja, la cual no debe presentar desgarres, roturas o astillas.
7.15 Prueba de partes pequeñas
7.15.1 Aparatos
a)    Cilindro de partes pequeñas (ver Figura 7).
 

Figura 7-Cilindro de partes pequeñas
7.15.2 Procedimiento
Colocar la parte a evaluar (si presenta componentes, éstos se prueban por separado), sin comprimirla y en cualquier orientación en el cilindro como se muestra en la Figura 7.
Determinar si la parte a evaluar cabe completamente dentro del cilindro.
7.15.3 Expresión de resultados
La prueba se cumple cuando la parte a evaluar no cabe completamente dentro del cilindro de partes pequeñas.
8. Información comercial e instructivos
8.1 Información comercial
El producto, objeto de la aplicación de esta Norma Oficial Mexicana, debe cumplir con la información comercial establecida en la NOM-050-SCFI-2004 (ver capítulo de Referencias Normativas).
8.2 Instructivos
8.2.1 Las instrucciones proporcionadas en la silla alta para bebé deben ser de fácil lectura y entendimiento. Estas instrucciones incluirán claramente indicaciones de ensamble, mantenimiento, limpieza y operación (incluyendo forma de doblado).
8.2.2 Las instrucciones deben especificar el hecho de que los paquetes o artículos ajenos que se coloquen en la silla alta para bebé pueden causar su inestabilidad.
8.2.3 Los instructivos del producto, objeto de la aplicación de esta Norma Oficial Mexicana, deben cumplir con las disposiciones establecidas en la NOM-050-SCFI-2004 (ver capítulo de Referencias Normativas), además de contener las siguientes precauciones en una hoja adicional, las cuales deben ostentar una tipografía de al menos un centímetro de altura como, por ejemplo:
"Nunca deje solo al bebé y sin supervisión".
"Nunca cargue la silla alta con el bebé adentro".
"Mantenga la silla alta con el bebé alejado de estufas, escaleras y calentadores".
9. Procedimiento para la evaluación de la conformidad
La evaluación de la conformidad del producto objeto de la presente Norma Oficial Mexicana, se llevará a cabo por personas acreditadas y aprobadas en términos de lo dispuesto por la Ley Federal sobre Metrología y Normalización y su Reglamento.
9.1 Disposiciones generales
 
9.1.1 Con apego a lo establecido en el artículo 80 de la Ley Federal sobre Metrología y Normalización, las actividades de certificación comprenden lo siguiente:
a)    Evaluación de los procesos, productos, servicios e instalaciones, mediante inspección ocular, muestreo, pruebas, investigación de campo o revisión y evaluación de los programas de calidad;
b)    Seguimiento posterior a la certificación inicial, para comprobar el cumplimiento con las normas y contar con mecanismos que permitan proteger y evitar la divulgación de propiedad industrial o intelectual del cliente, y
c)    Elaboración de criterios generales en materia de certificación mediante comités de certificación donde participen los sectores interesados y las dependencias. Los criterios que se determinen deben ser aprobados por la Dirección General de Normas de la Secretaría de Economía.
9.1.2 Fase preparatoria de las solicitudes de servicios de certificación
Para obtener el certificado, con la presente Norma Oficial Mexicana, o acceder a cualquier servicio de certificación, los solicitantes o interesados estarán a lo siguiente:
9.1.2.1 El interesado (fabricante, comercializador, importador, distribuidor o proveedor), pide al OCP los procedimientos, requisitos, reglas o la información necesaria para iniciar el servicio de certificación correspondiente;
9.1.2.2 El OCP debe proporcionar al interesado (fabricante, comercializador, importador, distribuidor, proveedor), los documentos listados a continuación Igualmente, debe tener disponible dicha información a través de publicaciones, medios electrónicos u otros medios, cuando lo solicite el interesado:
a)    Solicitud de servicios de certificación;
b)    Información acerca de los procedimientos, requisitos y reglas para otorgar, mantener, ampliar, reducir, suspender y cancelar la certificación;
c)    Información acerca del proceso de certificación relacionado con cada esquema de certificación de producto;
d)    Relación de documentos requeridos conforme al Apéndice E (Normativo), así como el listado completo de los laboratorios de prueba subcontratados;
e)    Contrato de prestación de servicios (cumpliendo como mínimo con lo señalado en el Apéndice F (Normativo).
9.1.2.3 Para el caso de solicitudes de certificación por modelo, por familia o ampliaciones (cuando aplique), el solicitante debe elegir un laboratorio de pruebas con objeto de someter a pruebas de laboratorio una muestra tipo. Las pruebas se realizan bajo la responsabilidad del solicitante de la certificación y del laboratorio.
9.1.2.4 Una vez que el interesado (fabricante, comercializador, importador, distribuidor, proveedor) ha analizado la información proporcionada por el OCP, presenta la solicitud debidamente requisitada, firmado por una sola ocasión en original y por duplicado el contrato de prestación de servicios de certificación que celebre con el OCP. El contrato debe firmarlo el representante legal o apoderado de la empresa solicitante de servicios de certificación Para acreditar dicha representación se debe presentar copia simple del acta constitutiva o poder notarial de dicho representante y copia de identificación oficial.
9.1.2.5 El interesado (fabricante, comercializador, importador, distribuidor, proveedor) es responsable de asegurar que los productos a comercializarse en los Estados Unidos Mexicanos, estén diseñados y fabricados, para cumplir los requisitos generales y particulares señalados por la presente Norma Oficial Mexicana.
9.1.2.6 Antes de su comercialización, el fabricante o comercializador o el representante legal de cualquiera de ellos, establecido en los Estados Unidos Mexicanos, debe integrar un expediente con la documentación técnica del producto. La documentación técnica del producto debe contener al menos, los elementos señalados en el Apéndice E (Normativo).
9.1.2.7 Los extranjeros deben anexar a la solicitud de certificación, el contrato de prestación de servicios que celebre con el OCP, copia simple del documento de la legal constitución de la persona moral que solicite el servicio acompañado de su correspondiente traducción al español y, tratándose de personas físicas, copia apostillada de una credencial o identificación oficial con fotografía.
NOTA 4: Los nacionales de otros países pueden hacer uso de los Acuerdos de Reconocimiento Mutuo de los resultados de evaluación de la conformidad que se lleve a cabo por las dependencias o personas acreditadas, que cuenten con la aprobación de la Dirección General de Normas.
9.1.3 Fase de evaluación de las solicitudes de servicios de certificación y, en su caso, otorgamiento de la certificación
9.1.3.1 Todas las solicitudes de servicios de certificación deben ser atendidas por escrito por el OCP, ya sea de manera positiva o negativa.
9.1.3.2 Para obtener el certificado de conformidad por un OCP se estará a lo siguiente:
9.1.3.3 El fabricante, comercializador o representante legal de cualquiera de ellos, debe entregar los requisitos o documentación al OCP, según corresponda. Dicho organismo verifica que se presenten los requisitos e información necesaria, en caso de detectar alguna deficiencia en la misma, devolver al interesado la documentación, junto con una constancia en la que se indique con claridad la deficiencia que el solicitante debe subsanar. Los certificados que emitan los OCP también deben indicar en forma expresa la categoría de producto nuevo. En caso de subsanar las deficiencias detectadas por el OCP, el solicitante vuelve a proceder según este numeral, tantas veces como sea necesario.
9.1.3.4 La documentación o requisitos deben ser entregados en español.
9.1.3.5 El tiempo de respuesta de los servicios de certificación deben ser en un plazo máximo de tres días hábiles. El OCP debe informar al solicitante, a través de comunicados, las desviaciones detectadas durante el proceso de certificación. El tiempo de respuesta para que el OCP analice las acciones derivadas de los comunicados, a fin de atender las desviaciones detectadas que ingrese el solicitante, será de tres días hábiles.
9.1.3.6 En caso de que, durante la etapa de análisis de las solicitudes, el OCP emita un comunicado en el que se informe de desviaciones en la documentación o requisitos presentados, el solicitante tiene un plazo de 90 días naturales, a partir del día siguiente de que ha sido notificado, para responder comentarios y subsanar desviaciones. En caso de que no se hayan subsanado las deficiencias manifestadas, en el plazo establecido, el OCP genera un registro en el cual manifieste el motivo por el cual no otorgó la certificación o servicio de certificación correspondiente, dando por terminado el trámite.
9.1.3.7 En caso de que el producto no cumpla con la Norma Oficial Mexicana, el OCP genera un documento, en el cual manifieste el motivo del incumplimiento.
9.1.3.8 Los OCP deben mantener permanentemente informada a la Secretaría de Economía de los certificados de conformidad que expidan
9.1.3.9 Los certificados de conformidad se expiden por producto o familia de productos. Pueden ser titulares de dichos certificados las personas físicas o morales que sean mexicanos o fabricantes nacionales de otros países, con representación legal en los Estados Unidos Mexicanos. El certificado de conformidad es intransferible y válido sólo para el titular.
9.2 Esquemas de certificación de producto
9.2.1 Generalidades
Para obtener el certificado de conformidad de los productos, el solicitante puede optar por los esquemas de certificación descritos en los numerales que van del 9.2.2.1 al 9.2.2.4
La certificación de productos en los diferentes esquemas de certificación, en su caso, puede aplicarse contemplando diferentes fábricas, siempre y cuando se realicen pruebas en muestras de cada una de éstas.
9.2.2 Particularidades
El procedimiento para la evaluación de la conformidad debe aplicarse con apego a los esquemas de certificación de producto que se señalan a continuación.
9.2.2.1 Esquema de certificación con seguimiento del producto en punto de venta (comercialización) o fábrica o bodega
El esquema de certificación con seguimiento del producto en punto de venta (comercialización) o fábrica o bodega, se basa en el procedimiento de prueba de tipo. Un OCP acreditado y aprobado debe controlar la conformidad con la prueba de tipo y emitir un certificado de conformidad. Este sistema debe contemplar los aspectos siguientes:
Los requisitos a cumplir para ingresar la solicitud de certificación de producto son los siguientes:
a)    Documentación técnica (Apéndice E (Normativo)) con excepción del elemento 6 (homogeneidad de
la producción);
b)    Informe de pruebas y muestras tipo solicitadas. La vigencia del informe de pruebas es de 90 días naturales a partir de su fecha de emisión, tanto para efectos de certificación como de seguimiento;
c)    Además del informe de pruebas, se debe entregar carta compromiso en la que se señale y se asuma la responsabilidad de que la muestra presentada es representativa del producto a certificar. El interesado es responsable de informar de cualquier cambio en el producto, una vez que esté certificado;
d)    El interesado puede optar por presentar muestras por duplicado para su uso como muestra testigo para ser utilizadas en caso de duda o para realizar nuevamente las pruebas de tipo;
e)    En este caso el organismo queda en espera del informe de pruebas correspondiente;
f)     Solicitud de certificación
Con base en los requisitos anteriores, el OCP procede con el proceso de certificación de producto, para lo cual, debe llevar a cabo lo siguiente:
a)    Determinación de los requisitos por medio de las pruebas de tipo y evaluación;
b)    Evaluación del informe de pruebas;
c)    Decisión sobre la certificación;
d)    Autorización de uso del certificado de conformidad;
e)    Se hacen al menos dos seguimientos con pruebas de tipo, durante la vigencia del certificado, probando una muestra tipo del producto certificado. Para el caso de una familia de productos, debe probarse un modelo representativo de ésta, preferentemente que no sea el que se sometió a pruebas en la certificación inicial. La muestra tipo es tomada al azar en la comercialización o en punto de venta (distribuidor o detallista). De no existir producto en el punto de venta, puede tomarse una muestra tipo en las bodegas del titular del certificado.
9.2.2.2 Esquema de certificación con seguimiento del producto en punto de venta (comercialización) o fábrica o bodega y al sistema de rastreabilidad
Este esquema se basa en el procedimiento de prueba de tipo y en el sistema de rastreabilidad. Un organismo acreditado y aprobado controla la conformidad con la prueba de tipo y el sistema de rastreabilidad (a través de una visita previa), y emite un certificado de conformidad.
Los requisitos a cumplir para ingresar la solicitud de certificación de producto son los siguientes:
a)    Documentación técnica (Apéndice E (Normativo)) con excepción del elemento 6 (homogeneidad de la producción);
b)    Informe de pruebas emitido por laboratorio acreditado y aprobado conforme al número de muestras dispuesto por el OCP (pruebas de tipo). La vigencia del informe de pruebas es de 90 días naturales a partir de su fecha de emisión, tanto para efectos de certificación como de seguimiento;
c)    Solicitud de certificación;
d)    Sistema de rastreabilidad (Apéndice G (Normativo)).
Con base en los requisitos anteriores, el OCP procede con el proceso de certificación de producto, para lo cual debe llevar a cabo lo siguiente:
a)    Determinación de los requisitos por medio de pruebas de tipo y evaluación;
b)    Informe de validación del sistema de rastreabilidad del producto;
c)    Evaluación del informe de pruebas;
d)    Decisión sobre la certificación;
e)    Autorización de uso del certificado de conformidad;
f)     Se hace al menos un seguimiento con pruebas de tipo totales o al menos dos seguimientos con prueba de tipo parciales, durante la vigencia del certificado de conformidad, probando una muestra tipo del producto certificado. Para el caso de una familia de productos, debe probarse al menos un modelo representativo de ésta, durante la vigencia del certificado de conformidad, que no sea el que se sometió a pruebas en la certificación inicial (puede variar el país de origen o el país de
procedencia o el modelo, por ejemplo). Si se opta por un seguimiento con pruebas totales, éste debe realizarse entre el doceavo y décimo octavo mes a partir de que se emite el certificado de conformidad. Si se opta por dos seguimientos con pruebas parciales, el primero debe realizarse entre el décimo y décimo segundo mes y el segundo entre el décimo octavo y vigésimo mes a partir de que se emite el certificado de conformidad. Tanto para la modalidad por modelo como por familias, se debe realizar al menos un seguimiento anual, al sistema de rastreabilidad.
g)    La muestra es tomada al azar en la fábrica o en punto de venta (comercialización: distribuidor o detallista). De no existir producto en el punto de venta, puede tomarse una muestra en las bodegas del titular del certificado.
9.2.2.3 Esquema de certificación con base en el sistema de control de la calidad de las líneas de producción
Abarca la fase de producción y se basa en el procedimiento de prueba de tipo, con evaluación y aprobación de las medidas tomadas por el fabricante para el control de la calidad de las líneas de producción. Este sistema debe contemplar los aspectos siguientes:
Los requisitos a cumplir para ingresar la solicitud de certificación de producto son los siguientes:
a)    Documentación técnica (Apéndice E (Normativo));
b)    Informe de pruebas y muestras tipo solicitadas. La vigencia del informe de pruebas es de 90 días naturales a partir de su fecha de emisión, tanto para efectos de certificación como de seguimiento;
c)    Además del informe de pruebas, se debe entregar carta compromiso en la que se señale y se asuma la responsabilidad de que la muestra presentada es representativa del producto a certificar. El interesado es responsable de informar de cualquier cambio en el producto, una vez que esté certificado;
d)    El interesado puede optar por presentar muestras por duplicado para su uso como muestra testigo para ser utilizadas en caso de duda o para realizar nuevamente las pruebas de tipo;
e)    En este caso el organismo queda en espera del informe de pruebas correspondiente;
f)     Certificado del sistema de control de la calidad vigente de las líneas de producción cuyo alcance sea de conformidad de los productos con la presente Norma Oficial Mexicana;
g)    Informe de validación del sistema de control de calidad de las líneas de producción (en los términos señalados en el Apéndice B (Normativo));
h)    Solicitud de certificación
Con base en los requisitos anteriores, el OCP procede con el proceso de certificación de producto, para lo cual debe llevar a cabo lo siguiente:
a)    Determinación de los requisitos por medio de pruebas de tipo y evaluación;
b)    Evaluación inicial (previa) del sistema de control de la calidad del proceso (líneas) de producción por parte del organismo de certificación de sistemas de control de la calidad.
c)    Se genera el informe de evaluación del sistema de control de la calidad de la línea de producción, en los términos señalados en el Apéndice B (Normativo);
d)    Evaluación del informe de pruebas e informe de evaluación inicial;
e)    Decisión sobre la certificación;
f)     Autorización de uso del certificado de conformidad;
g)    Se asegura que se evalúe anualmente el sistema de control de la calidad de la línea de producción, por parte del organismo de certificación de sistemas de control de la calidad;
h)    Se hacen al menos dos seguimientos con pruebas de tipo totales, durante la vigencia del certificado de conformidad, probando una muestra tipo del producto certificado. Para el caso de una familia de productos, debe probarse al menos un modelo representativo de ésta, durante la vigencia del certificado de conformidad, que no sea el que se sometió a pruebas en la certificación inicial (puede variar el país de origen o el país de procedencia o el modelo, por ejemplo). El primer seguimiento debe realizarse entre el doceavo y vigésimo mes y el segundo entre vigésimo cuarto y el trigésimo mes a partir de que se emite el certificado de conformidad.
i)     Se aplican pruebas parciales al producto, salvo que éste haya presentado cambios al diseño originalmente certificado (Apéndice D (Normativo));
 
j)     La muestra es tomada al azar en la fábrica o en punto de venta (comercialización: distribuidor o detallista). De no existir producto en el punto de venta, puede tomarse una muestra en las bodegas del titular del certificado.
9.2.2.4 Esquema de certificación por lote
Abarca la fase de producción y comercialización con evaluación y aprobación de un lote de productos con muestreo estadístico e identificación de cada producto del lote.
Los requisitos a cumplir para ingresar la solicitud de certificación de producto son los siguientes:
a)    Documentación técnica (Apéndice E (Normativo)), con excepción del elemento 6 (homogeneidad de la producción);
b)    Informe de pruebas (pruebas de tipo), de las muestras tipo seleccionadas por el organismo de certificación;
c)    Solicitud de certificación
Con base en los requisitos anteriores, el OCP procede con el proceso de certificación de producto, para lo cual debe llevar a cabo lo siguiente:
a)    Determinación de los requisitos por medio de pruebas de tipo y evaluación;
b)    Evaluación del informe de pruebas;
c)    Decisión sobre la emisión del certificado del lote;
d)    Autorización de uso del certificado conformidad;
e)    El muestreo de producto deberá sujetarse a lo indicado en la NMX-Z-12/2-1987 o la que la sustituya (ver capítulo de Referencias Normativas), de la cual se debe tomar como base el plan de muestreo sencillo para inspección normal y considerando lo siguiente:
-     Para productos nuevos, el muestreo que se lleve a cabo debe ser con un Nivel de Inspección Especial S-1 y un Nivel de Calidad Aceptable (NCA), de acuerdo a lo indicado en la norma internacional ISO/IEC 17067:2013 (ver capítulo de Referencias Normativas).
-     Para productos no nuevos, el muestreo que se lleve a cabo deberá ser con un Nivel de Inspección Especial S-3 y un Nivel de Calidad Aceptable (NCA) de acuerdo a lo indicado en la norma internacional ISO/IEC 17067:2013 (ver capítulo de Referencias Normativas).
f)     El certificado debe identificar cada uno de los números de serie o datos de identificación de los productos del lote certificados;
g)    En este procedimiento no se considera el seguimiento, a menos que haya una queja que evidencie incumplimiento o que la autoridad solicite que se lleve a cabo una verificación al producto.
9.3 Uso de la contraseña oficial
Una vez que el fabricante o comercializador demuestre que su producto cumple con esta Norma Oficial Mexicana, debe colocarse la contraseña oficial, pudiéndose exhibir a través de una etiqueta, la cual debe permanecer en el producto o empaque o ambos al menos hasta el momento en que éste sea adquirido por el consumidor en el territorio nacional.
El uso de la contraseña oficial debe cumplir con lo señalado en la NOM-106-SCFI-2017 (ver capítulo de Referencias Normativas).
9.4 Vigencia de los certificados de conformidad
La vigencia y validez del certificado de conformidad está condicionada al cumplimiento y mantenimiento de las condiciones bajo las cuales fue otorgado. Con base en lo anterior, se establecen las vigencias siguientes:
a)    La vigencia de los certificados de conformidad obtenidos mediante el esquema de certificación descrito en el numeral 9.2.2.1 será de hasta de un año y pueden ser renovados por el mismo periodo, con base en el seguimiento y procedimiento de renovación correspondiente;
b)    La vigencia de los certificados de conformidad obtenidos mediante el esquema de certificación descrito en el numeral 9.2.2.2 será de hasta de dos años y pueden ser renovados por el mismo periodo, con base en el seguimiento y procedimiento de renovación correspondiente;
c)    La vigencia de los certificados de conformidad obtenidos mediante el esquema de certificación descrito en el numeral 9.2.2.3 será de hasta tres años y pueden ser renovado con base en el seguimiento y procedimiento de renovación correspondiente;
 
d)    La vigencia de los certificados obtenidos mediante el esquema de certificación descrito en el numeral 9.2.2.4 es únicamente mientras se comercialice el lote certificado, y no deben ser renovados;
e)    Los términos de la vigencia y validez del certificado se deben señalar en el certificado.
9.5 Seguimiento
Los certificados de conformidad otorgados, así como las ampliaciones de titularidad, están sujetos a visita de seguimiento por parte del OCP de acuerdo con los esquemas de certificación de producto señalados en el numeral 9.2, y dentro del periodo de vigencia del certificado.
En el caso de las ampliaciones de titularidad sólo se debe realizar una revisión o inspección ocular, para comprobar que el producto corresponde con el del certificado que dio origen a la ampliación de titularidad.
La vigencia de las ampliaciones de titularidad debe estar sujeta al resultado de la visita de seguimiento del certificado del cual se originaron.
Las verificaciones se realizan con cargo a los titulares de las certificaciones de los productos verificados
En caso de queja que evidencie algún incumplimiento de productos certificados, se deben efectuar los seguimientos necesarios adicionales para evaluar el cumplimiento de dichos productos.
De cada seguimiento realizado por el OCP se expide un informe de seguimiento detallado firmado por el representante del OCP y el titular del certificado de conformidad si ha intervenido, sea cual fuere el resultado. La falta de participación del titular del certificado de conformidad en el seguimiento o su negativa a firmar el informe, no afecta su validez.
Las visitas de seguimiento que lleve a cabo el OCP, se deben practicar únicamente por personal autorizado por el OCP.
Los interesados (fabricante, comercializador, importador, distribuidor, proveedor), tienen la obligación de permitir el acceso y proporcionar las facilidades necesarias al personal del OCP.
En los informes de seguimiento se hace constar:
a)    Nombre, denominación o razón social del titular del certificado de conformidad;
b)    Hora, día, mes y año en que inicie y en que concluya el seguimiento;
c)    Calle, número, población o colonia, municipio o delegación, código postal y entidad federativa en que se encuentre ubicado el lugar en que se practique la visita;
d)    Número y fecha del oficio de comisión que la motivó;
e)    Nombre y cargo de la persona con quien se atendió la visita de seguimiento;
f)     Datos relativos a los productos relacionados en el seguimiento y en su caso las muestras seleccionadas para envío a pruebas.
g)    Datos relativos a la actuación;
h)    Declaración del visitado, si quisiera hacerla, y
i)     Nombre y firma de quienes intervinieron en la diligencia, incluyendo el de quien la llevó a cabo.
9.6 Muestras
Durante las visitas de seguimiento, se recaban muestras en la cantidad estrictamente necesaria, la que se constituye por el número de especímenes en relación con los modelos contemplados en el certificado de conformidad.
Las muestras se seleccionan al azar y por personal del OCP.
A fin de impedir su sustitución, los especímenes se guardan o aseguran, en forma tal que no sea posible su violación sin dejar huella.
Las muestras pueden recabarse de los establecimientos en que se realice el proceso o alguna fase del mismo, invariablemente previa orden por escrito.
Si las muestras se recaban de comerciantes se notifica a los interesados (fabricante, comercializador, importador, distribuidor, proveedor) para que, si lo desean, participen en el muestreo y en las pruebas que se efectúen
 
Las muestras pueden recabarse por duplicado, quedando en su caso éstas en resguardo del titular del certificado de conformidad al que se le realiza la visita de seguimiento o bien bajo resguardo del OCP. En su caso, sobre un tanto de los especímenes, se hacen las primeras pruebas de seguimiento, cuyo informe de resultados debe ser presentado al OCP en un plazo no mayor a 30 días naturales a partir de la fecha de emisión del informe de pruebas y dentro de la vigencia del certificado, si de ésta se desprende que el producto cumple con la presente Norma Oficial Mexicana, queda sin efecto el otro tanto de especímenes y a disposición de quien se haya obtenido.
Si de la primera visita de seguimiento se determina que el producto no cumple con la presente Norma Oficial Mexicana, se procede de acuerdo con el numeral 9.7 de la presente Norma Oficial Mexicana. En caso de ser requerido por el titular del certificado de conformidad se repiten las pruebas de seguimiento, sobre el otro tanto de los especímenes, y previa notificación del solicitante.
Se debe solicitar el uso y evaluación de la segunda muestra dentro del término de cinco días hábiles siguientes a aquel en que se tuvo conocimiento del resultado de la primera muestra. Si no se solicita, se ratifica el resultado de la primera evaluación.
Pueden efectuarse estas segundas pruebas, con la supervisión del OCP, en el mismo laboratorio o en otro que esté acreditado y aprobado. Si en estas segundas pruebas se demuestra que el producto cumple satisfactoriamente con la Norma Oficial Mexicana, se tiene por desvirtuado el primer resultado. Si no las cumple, por confirmado.
Los gastos que se originen por los servicios de seguimiento son con cargo a la persona a quien se le efectúe ésta.
9.7 Suspensión y cancelación de los certificados de conformidad
Los certificados se encuentran sujetos a suspensiones o cancelaciones, en concordancia con las disposiciones de la Ley Federal sobre Metrología y Normalización y su Reglamento.
9.8 Renovación del certificado de conformidad
Para obtener la renovación de un certificado de conformidad en el esquema de certificación que resulta aplicable, se procede conforme a lo siguiente.
9.8.1 Deben presentarse los documentos siguientes:
-      Solicitud de renovación;
-      Actualización de la información técnica debido a modificaciones que pueden haber ocurrido en el producto y éstas no modifiquen la naturaleza o seguridad del producto.
9.8.2 La renovación está sujeta a lo siguiente:
-      Haber cumplido en forma satisfactoria con los seguimientos o verificaciones y pruebas correspondientes.
-      Que se mantienen las condiciones del esquema de certificación, bajo el cual se emitió el certificado de conformidad inicial;
9.8.3 Una vez renovado el certificado de conformidad, se está sujeto a los seguimientos indicados en los esquemas de certificación de producto bajo los cuales se renovó, así como las disposiciones aplicables del presente procedimiento para la evaluación de la conformidad.
9.9 Ampliación, modificación o reducción del alcance de la certificación
Una vez otorgado el certificado de conformidad, éste se puede ampliar, reducir o modificar en su alcance, a petición del titular del certificado, siempre y cuando se demuestre que se cumple con los requisitos de la presente Norma Oficial Mexicana mediante análisis documental y, de ser el caso, pruebas de tipo.
El titular del certificado puede ampliar, modificar o reducir en los certificados de conformidad de producto, modelos, marcas, especificaciones técnicas, entre otros; siempre y cuando se cumpla con los criterios generales en materia de certificación y correspondan a la misma familia de productos.
Los certificados de la conformidad de producto que se expidan por solicitud de ampliación serán vigentes hasta la misma fecha que los certificados de cumplimiento a que correspondan
9.9.1 Para ampliar, modificar o reducir el alcance de la certificación, se deben presentar los documentos siguientes:
a)    Información técnica que justifique los cambios solicitados y que demuestre el cumplimiento con la presente Norma Oficial Mexicana, con los requisitos de agrupación de familia y con los esquemas de certificación de producto descritos en el presente documento.
NOTA 5: En tanto se aprueban los criterios generales en materia de certificación, para propósitos de la evaluación de la conformidad de la presente Norma Oficial Mexicana, se establecen los criterios para la agrupación de modelos de productos similares como una familia de productos que se señalan en el Apéndice Normativo H.
b)    Sólo para productos nuevos, los titulares de los certificados de conformidad, pueden ampliar la titularidad de los certificados a las personas mexicanas, ya sean físicas o morales, que designen para obtener una ampliación de titularidad, tanto los titulares como los beneficiarios de la ampliación de los certificados deben aceptar su corresponsabilidad. Asimismo, los beneficiarios deben establecer un contrato con el OCP, en los mismos términos que el titular del certificado.
c)    Los certificados de conformidad emitidos como consecuencia de una ampliación de titularidad quedan condicionados tanto a la vigencia y seguimiento, como a la corresponsabilidad adquirida. Los certificados de conformidad emitidos deben contener la totalidad de modelos del certificado de conformidad base.
d)    En caso de que el producto sufra alguna modificación, el titular del certificado de conformidad debe notificarlo al OCP correspondiente, para que se compruebe que se sigue cumpliendo con esta Norma Oficial Mexicana. Aquellos particulares que cuenten con una ampliación de titularidad, la pierden automáticamente en caso de que modifiquen las características originales del producto y no lo notifiquen al OCP.
Los documentos que debe presentar el solicitante, para fines de una ampliación de titularidad, son:
a)    Copia de certificado;
b)    Solicitud de ampliación;
c)    Declaración escrita con firma autógrafa del titular de la certificación en la que señale ser responsable solidario del uso que se le da al certificado solicitado y, en su caso, que va a informar oportunamente al OCP cualquier anomalía que detecte en el uso del certificado de conformidad por sus importadores, distribuidores o comercializadores.
d)    Los titulares de la certificación deben informar por escrito cuando cese la relación con sus importadores, distribuidores y comercializadores para la cancelación de las ampliaciones de los certificados respectivos.
10. Vigilancia
La vigilancia de la correcta aplicación de esta Norma Oficial Mexicana estará a cargo de la Secretaría de Economía y de la Procuraduría Federal del Consumidor conforme a sus atribuciones.
11. Concordancia con normas internacionales
Esta Norma Oficial Mexicana no es equivalente (NEQ) con ninguna Norma Internacional, por no existir esta última al momento de su elaboración.
Apéndice A
(Normativo)
Calificación del personal del organismo de certificación de sistemas de control de la calidad
De manera enunciativa, mas no limitativa, el personal del OCP debe estar calificado para realizar actividades de evaluación a las líneas de producción; se debe demostrar que el personal cuenta con conocimiento en las normas siguientes o las que las sustituyan:
-      NMX-EC-17065-IMNC-2014
-      NMX-CC-19011-IMNC-2012
-      NMX-EC-067-IMNC-2007
-      NMX-CC-9001-IMNC-2015
 
Asimismo, el personal del OCP debe tener conocimiento de trazabilidad de las mediciones y dos años de experiencia en la evaluación de la conformidad del producto.
Apéndice B
(Normativo)
Informe del sistema de control de la calidad de las líneas de producción
En el caso de los fabricantes interesados en certificar sus productos bajo el esquema de certificación descrito en el numeral 9.2.2.3, para la emisión del informe de validación del sistema de control de la calidad del proceso de producción, debe verificarse que cumpla con lo siguiente:
B.1. El fabricante debe contar con un sistema de control de la calidad certificado por un organismo de certificación para sistemas de control de la calidad, acreditado conforme a lo establecido en la Ley Federal sobre Metrología y Normalización, en los productos a certificar. Para que con base en este sistema, el organismo de certificación de sistemas de control de la calidad emita el informe de validación del sistema de control de la calidad del proceso de producción, en el que se comprueba que se contemplan procedimientos de verificación en la línea de producción. Dentro del sistema de Control de la calidad certificado debe cumplir con los siguientes requisitos:
B.1.1 Sistema de control de la calidad del proceso de producción del producto a certificar.
El fabricante debe establecer, documentar, implementar, mantener y mejorar continuamente la eficacia del sistema de control de la calidad como medio que asegure que el producto está conforme con los requisitos correspondientes de la presente Norma Oficial Mexicana.
B.1.2 Realización del producto y prestación del servicio (control de proceso)
El fabricante debe identificar y planear los procesos de producción que afectan directamente los aspectos de seguridad del producto y debe asegurar que estos procesos se llevan a cabo bajo condiciones controladas. Estos procesos deben asegurar que todas las partes, componentes, subensambles, ensambles, etc., tienen las mismas especificaciones que las de la muestra que fue evaluada en el laboratorio correspondiente y que sirve como base para otorgar la certificación del producto. Se deben realizar para ello, pruebas de rutina relacionadas con los requisitos aplicables de la presente Norma Oficial Mexicana. En particular se debe poner atención en aquellas actividades que directamente tienen que ver con la seguridad del producto.
a)    Control de producto no conforme. Todos los productos no conformes deben ser claramente identificados y controlados para prevenir su entrega no intencional. Los productos reparados y retrabajados deben someterse a una nueva verificación y ser reinspeccionados de acuerdo a las pruebas de rutina establecidas y se debe contar con registros que demuestren dicho cumplimiento.
       El fabricante debe contar con evidencia de los efectos reales y potenciales de una no conformidad sobre el producto que ya está en uso o haya sido entregado al cliente y tomar acciones respecto a los efectos de la no conformidad.
b)    Control de registros de la calidad. La organización debe mantener los registros y resultados de todas las pruebas de rutina que se aplican a la producción de los productos certificados, incluyendo de ser el caso, materiales, componentes y subensambles. Se deben informar los resultados de pruebas al responsable del control de la calidad, a la dirección de la empresa y estar disponibles en todo momento para seguimiento o verificación, según corresponda.
       Los registros deben ser legibles e identificar al producto que pertenecen, así como al equipo de medición y prueba utilizado. Estos registros deben ser guardados mínimo por un año y deben ser por lo menos los siguientes:
-      Resultados de las pruebas de rutina;
-      Resultados de las pruebas de verificación de cumplimiento (en su caso);
-      Resultados de las pruebas de verificación del equipo de medición y prueba;
-      Calibración del equipo de medición y pruebas;
-      Los registros pueden ser almacenados en medios electrónicos, entre otros.
c)    Auditorías internas. La organización debe tener definidos procedimientos que aseguren que las actividades requeridas son regularmente monitoreadas.
B.1.3 Compras y verificación del producto comprado (adquisiciones). En caso de existir Normas Oficiales Mexicanas o Normas Mexicanas vigentes y aplicables a los materiales y componentes que se adquieran para la fabricación del producto, éstos se deben utilizar previo cumplimiento con aquéllas y se debe demostrar mediante la presentación del certificado correspondiente.
Los materiales y componentes se deben inspeccionar con respecto a las especificaciones de los materiales, y los componentes de la muestra que fueron evaluados en el laboratorio respectivo, y que sirvió de base para otorgar el certificado de conformidad del producto.
B.1.4 Seguimiento y medición del producto (inspección y prueba). Es necesario que los productos se verifiquen mediante pruebas específicas que nos permitan asegurar el cumplimiento de la presente Norma Oficial Mexicana.
Estas pruebas varían según el producto y su tipo de construcción Estas pruebas consisten en:
-      Pruebas de tipo y prototipo (P.T.);
-      Pruebas de rutina (P.R.);
-      Pruebas de verificación de cumplimiento (P.V.);
-      Pruebas de verificación del funcionamiento del equipo de medición utilizado en las pruebas de rutina (P.M.).
Las pruebas de tipo y prototipo son las que se aplican a la muestra que sirvió de base para otorgar la certificación inicial y no se requiere nuevamente de su aplicación, mientras las especificaciones de los componentes y materiales utilizados en la fabricación no han sido modificadas (para lo cual se requiere de una revisión de planos, dibujos, materiales, composición, dimensiones, etcétera).
Las pruebas de rutina son las que se aplican en la línea de producción con la frecuencia que se determine de acuerdo a lo indicado en el criterio de certificación correspondiente.
Las pruebas de verificación de cumplimiento son las que se aplican por motivos de cambio o modificación de especificaciones de materiales y componentes, y por la existencia de componentes alternativos; éstas son determinadas por el OCP de acuerdo al cambio o modificación de que se trate. El fabricante debe informar al OCP sobre el cambio de especificaciones de materiales y componentes. La información debe incluir los materiales que fueron modificados, las características de los mismos y el informe de pruebas en el que se demuestre que el producto cumple con las especificaciones de la presente Norma Oficial Mexicana.
Las pruebas de verificación del funcionamiento del equipo de medición utilizado para las pruebas de rutina son las que se realizan diariamente al equipo de medición antes de iniciar la fabricación de productos.
B.1.5 Control de dispositivos de seguimiento y medición
Las calibraciones realizadas en los equipos de medición y prueba deben tener trazabilidad al Centro Nacional de Metrología (CENAM), a través de los laboratorios del Sistema Nacional de Calibración, o en su defecto a patrones internacionales.
Se debe realizar la verificación del correcto funcionamiento de los equipos de medición y pruebas que se utilizan para asegurar el cumplimiento de las pruebas de rutina. La calibración y el ajuste de los equipos de seguimiento y medición se realizan en intervalos prescritos o antes de su utilización
B.1.6 Competencia, toma de conciencia y formación
Todo el personal que esté involucrado en la aplicación, supervisión y análisis de los resultados de las pruebas debe demostrar conocimientos, en la aplicación de las pruebas de la presente Norma Oficial Mexicana.
B.2 Para el caso del procedimiento de certificación con gestión del producto y del proceso de producción, el sistema de control de la calidad de los procesos de producción debe contar con un procedimiento documentado e implementado del proceso de validación del diseño el cual debe determinar:
a)    Las etapas del diseño y desarrollo;
b)    La revisión, verificación y validación, apropiadas para cada etapa del diseño y desarrollo;
c)    Las responsabilidades y autoridades para el diseño y desarrollo;
d)    Identificar y gestionar las interfaces entre los diferentes grupos involucrados en el diseño y desarrollo para asegurar una comunicación eficaz y una clara asignación de responsabilidades. Los resultados de la planificación deben actualizarse, según sea apropiado, a medida que progresa el diseño y
desarrollo.
Dentro de los requisitos de entrada para el diseño y desarrollo, se debe contemplar el cumplimiento con la presente Norma Oficial Mexicana.
La verificación de estos requisitos se debe realizar a través del OCP.
Apéndice C
(Normativo)
Informe de pruebas
El informe de pruebas de los productos probados, para cumplir con la presente Norma Oficial Mexicana, debe contar con los siguientes requisitos:
-      Estar escrito en español;
-      Provenir de un laboratorio de pruebas formalmente establecido en México, que cuente con acreditación y con aprobación, conforme a lo establecido en la Ley Federal sobre Metrología y Normalización, y su Reglamento;
-      Cumplir con las especificaciones establecidas en la NMX-EC-17025-IMNC-2006;
-      Contener fotografías del producto, de sus partes exteriores, y que en su caso sean determinantes en la aplicación y resultados de las pruebas;
-      Presentar los resultados de las pruebas para cada uno de los requisitos particulares de la presente Norma Oficial Mexicana que apliquen al producto, en cuestión;
-      Reflejar todas las pruebas a las que ha sido sometido el producto en cuestión;
-      Cuando aplique, contener un listado de componentes esenciales evaluados incorporados al producto, atendiendo en su caso a los definidos en los requisitos aplicables, señalando las especificaciones y características de éstos;
-      Número de serie del producto probado.
Apéndice D
(Normativo)
Pruebas parciales
Para el muestreo de seguimiento de la evaluación de la conformidad deben verificarse las siguientes especificaciones al producto terminado:
-      Bordes filosos;
-      Partes pequeñas;
-      Astillas;
-      Mecanismos de enganche;
-      Orificios y aberturas;
-      Pellizcos, cortadas y machucadas;
-      Componentes protectores;
-      Integridad del soporte removible. Ensayo de caída de la charola;
-      Desempeño del soporte de la parte frontal del torso o de la charola. Ensayo de resistencia de la charola
-      Carga estática. Resortes;
-      Prueba de estabilidad;
-      Sistema de restricción Retención del sistema de sujeción;
-      Sistema de restricción pasiva en la entrepierna;
-      Integridad estructural;
-      Contención lateral;
 
-      Mecanismo de liberación de enganche de la charola; y
-      Accesibilidad
Cuando se requiera el muestreo para verificación, éste podrá ser establecido de común acuerdo entre productor y comprador.
Apéndice E
(Normativo)
Documentación técnica
El titular del certificado de conformidad debe integrar y conservar un expediente electrónico o impreso con la documentación técnica del producto.
La documentación técnica depende de la naturaleza del producto e incluye la documentación necesaria, desde el punto de vista técnico, para identificar plenamente y demostrar la conformidad del producto con los requisitos particulares aplicables.
El expediente debe estar a disposición de las autoridades competentes para fines de inspección y control y de los organismos de certificación para fines de evaluación de la conformidad.
Todo titular de la certificación de conformidad o aquel responsable de la comercialización de un producto en el mercado mexicano, debe disponer del expediente con la documentación técnica de fabricación o tener la garantía de poder presentarlo a la mayor brevedad en caso de requerimiento motivado.
El fabricante debe mantener el expediente de la documentación técnica durante un periodo de cinco años tras la última fecha de fabricación, importación o comercialización del producto.
E.1 Contenido del expediente de la documentación técnica del producto
Según lo especificado anteriormente, el expediente debe contener al menos los siguientes elementos:
1.     Descripción general del producto;
2.     Requisitos de la presente Norma Oficial Mexicana aplicados total o parcialmente. En los casos en que no se hayan aplicado los requisitos de la presente Norma Oficial Mexicana, deben incluir una descripción de las soluciones adoptadas para cumplir los aspectos de seguridad de esta Norma Oficial Mexicana;
3.     Informes de pruebas efectuadas obtenidos de un laboratorio acreditado y aprobado;
4.     Documentación técnica;
5.     Fotografías del producto o de la familia de productos;
6.     Homogeneidad de la producción Todas las medidas necesarias adoptadas por el fabricante para que el proceso de fabricación garantice la conformidad de los productos manufacturados (aplica para sistemas donde se contemple la fase de producción);
7.     Información del diseño y proceso de fabricación
E.2 Descripción general del producto
El expediente con la documentación técnica de fabricación debe contener toda la información detallada con una descripción del producto. Para ello, se debe incluir toda la información necesaria que ayude a comprender el tipo de producto y su funcionamiento seguro. Entre la documentación necesaria, se debe incluir al menos etiqueta de marcado del producto, diagrama de conexiones y especificaciones técnicas del producto.
E.3 Informes de prueba
Ver Apéndice C (Normativo).
E.4 Homogeneidad de la producción
En el caso de fabricación en serie, el fabricante debe asegurar la homogeneidad de la producción; de modo que todos los productos fabricados cumplan al igual que aquel sobre el que se realizaron las pruebas para satisfacer los requisitos generales de la presente Norma Oficial Mexicana.
Mediante este requisito, el fabricante debe implantar en su cadena de producción una serie de controles que garanticen esta homogeneidad de la producción; pudiendo llegar a ser controles intermedios en la cadena de producción, al final del proceso o incluso durante la fase de compra de materias primas.
NOTA 6: La implantación de un sistema de calidad de los productos para cumplir con esta Norma Oficial Mexicana, suele satisfacer las necesidades de este requisito.
Apéndice F
(Normativo)
Información mínima para el contrato de prestación de servicio
El contrato de prestación de servicios debe incluir como mínimo, la siguiente información:
-      Declaraciones de constitución del OCP;
-      Declaraciones de la personalidad jurídica del solicitante del certificado, condiciones del servicio;
-      Confidencialidad;
-      Licencias uso de marca;
-      Obligaciones del OCP;
-      Obligaciones del solicitante del certificado;
-      Responsabilidad e indemnización;
-      Incumplimientos y recursos (suspensión y cancelación);
-      Vigencia de contrato;
-      Terminación del contrato;
-      Cláusula de corresponsabilidad en caso de daño a terceros por parte de los productos certificados.
Apéndice G
(Normativo)
Sistema de rastreabilidad
Aquellos interesados en certificar sus productos bajo la modalidad con verificación, mediante el sistema de rastreabilidad; deben obtener un informe de verificación del sistema de rastreabilidad, emitido por el OCP, que garantice que se cuenta con procesos que aseguren el control de los productos a certificar o certificados.
El interesado debe ingresar al OCP la documentación que demuestre que tiene un sistema de rastreabilidad, para su revisión; así como la solicitud para la verificación del sistema de rastreabilidad de producto, la cual consiste en una visita a la empresa solicitante, previa a la certificación de producto en esta modalidad, en la que se valida que ésta tiene los procesos implementados y cuenta con los registros abajo listados.
El resultado de dicha visita es válido para el resto de las solicitudes de certificación de producto que realice la empresa solicitante en esta modalidad, siempre y cuando se demuestre que los nuevos productos están contemplados dentro del sistema de rastreabilidad del producto.
Los procesos que deben estar contenidos en el informe de verificación del sistema de rastreabilidad son:
G.1 Proceso de identificación del producto
Conjunto de actividades enfocadas a rastrear el producto, de manera que se cuente con al menos los siguientes registros:
a.     Cualquier documento que ampare la fabricación, adquisición o transferencia del producto (lista de empaque, orden de compra, factura de compra u orden de fabricación, etcétera) que incluya la siguiente información:
-     Descripción del producto;
-     Código, modelo o identificación del producto;
 
-     Cantidad;
-     Proveedor o fabricante del producto, cuando aplique.
b.    Certificado de conformidad o de calidad del producto, cuando aplique.
G.2. Proceso documentado del producto
Conjunto de actividades enfocadas a controlar de manera sistemática las especificaciones de seguridad del producto que contemple por lo menos lo siguiente:
-      Designar personal responsable con autoridad para el desarrollo del proceso;
-      Definición de criterios de aceptación y rechazo;
-      Registros de control e inspección de producto;
-      Registro y disposición de producto no-conforme.
G.3. Proceso documentado y registros de cambios o modificaciones al producto
Conjunto de actividades enfocadas a identificar cualquier cambio o modificación del producto, incluyendo:
a.    Condiciones de operación y seguridad de producto, condiciones de uso o aplicación;
b.    Los cambios o modificaciones deben ser notificados al OCP.
G.4. Proceso y registros de distribución de producto para efectos de visitas de seguimiento, y eventual recuperación de producto no-conforme
Conjunto de actividades enfocadas a rastrear la distribución del producto (primer nivel de la cadena de distribución), cuyos registros incluyan al menos lo siguiente:
-      Descripción del producto;
-      Código, modelo o identificación del producto;
-      Cantidad;
-      Destinatario del producto, o lugar en donde se comercialice, cuando aplique.
G.5. Proceso de registro y manejo de producto por quejas y reclamaciones al producto
Conjunto de actividades enfocadas a:
-      Mantener un registro de todas las quejas presentadas;
-      Tomar acciones apropiadas con respecto a dichas quejas;
-      Documentar las acciones tomadas.
La verificación de los procesos se hace a través del personal de la Secretaría o del OCP.
Apéndice H
(Normativo)
Agrupación de productos como una familia de productos
H.1 Agrupación de familia
Los modelos del producto se consideran de la misma familia, siempre y cuando cumplan con las siguientes condiciones:
H.1.1 Del mismo tipo:
-      Tipo 1. Fija;
-      Tipo 2. Plegable tipo tijera;
-      Tipo 3. Abatible (Flip top);
-      Tipo 4. Giratoria;
 
-      Tipo 5. Etapas.
H.1.2 De la misma marca.
Si se requiere agrupar por marca, necesariamente debe entregarse un informe por cada marca.
H.1.3 Del mismo diseño de estructura.
H.1.4 Del mismo sistema de enganche.
Aplica para Tipo 2 y Tipo 3.
H.1.5 Del mismo material
Se permite diferente estampado en la tela y en el color de la estructura, lo anterior no afecta la agrupación de la familia.
H.1.6 Mismo mecanismo de ajuste de altura.
Apéndice I
(Normativo)
Características de maniquí infantil
Tabla 1. Características de maniquí infantil (medidas /peso)
ID
Componente
Medidas
Inferior (in)
Superior (in)
inferior
(cm)
superior
(cm)
A
Ancho de la cabeza
4.5
5.5
11.43
13.97
B
Longitud de la cabeza
5.25
6.25
13.335
15.875
C
Circunferencia de la cabeza
16.5
17.5
41.91
44.45
D
Estatura
25.875
26.625
65.7225
67.6275
E
Hombro hasta parte inferior del pie
19.375
20.125
49.2125
51.1175
F
Parte superior de la pierna a la parte inferior del pie
8
9
20.32
22.86
G
Circunferencia del abdomen
17
18
43.018
45.72
H
Circunferencia de brazo
5.5
6.5
13.97
16.51
I
Circunferencia de pierna
9.5
10.5
24.13
26.64
J
circunferencia de cuello
9.75
10.75
24.765
27.305
 
 
 
 
 
 
 
Peso
inferior
(lb)
superior
(lb)
inferior
(kg)
superior
(kg)
 
 
17
17.8
7.711
8.073
 

Figura I.1-Maniquí infantil
12. Bibliografía
-      NOM-008-SCFI-2002, Sistema General de Unidades de Medida. Publicada en el Diario Oficial de la Federación el 27 de noviembre de 2002.
-      NMX-Z-013-SCFI-2015, Guía para la estructuración y redacción de normas. Declaratoria de Vigencia publicada en el Diario Oficial de la Federación el 18 de noviembre de 2015.
-      ASTM F404-15, Standard Consumer Safety Specification for High Chairs, ASTM International, West Conshohocken, PA, 2015.
-      ISO/IEC 17067:2013, Conformity assessment-Fundamentals of product certification and guidelines for product certification schemes.
TRANSITORIOS
PRIMERO.- La presente Norma Oficial Mexicana entrará en vigor a los 180 días naturales siguientes al día de su publicación.
SEGUNDO.- La presente Norma Oficial Mexicana no será aplicable a las sillas altas que hayan sido fabricadas con anterioridad a su entrada en vigor, por lo que podrán comercializarse sin requisito adicional alguno hasta agotar el inventario del producto.
TERCERO.- Los laboratorios y los Organismos de Certificación de Producto podrán iniciar los trámites de acreditación y aprobación, una vez que la presente Norma Oficial Mexicana se publique en el Diario Oficial de la Federación, contemplando las respectivas normas referidas en este documento.
Ciudad de México, a 15 de noviembre de 2017.- El Director General de Normas y Presidente del Comité Consultivo Nacional de Normalización de la Secretaría de Economía, Alberto Ulises Esteban Marina.- Rúbrica.