NORMA Oficial Mexicana NOM-209-SCFI-2017, Industria del gas-Conexión integral y conexión flexible que se utilizan en instalaciones de aprovechamiento de Gas L.P. o Gas Natural-Especificaciones y métodos de prueba (cancela a la NOM-014-SESH-2013).
Al margen un sello con el Escudo Nacional, que dice: Estados Unidos Mexicanos.- Secretaría de Economía.- Dirección General de Normas.
NORMA OFICIAL MEXICANA NOM-209-SCFI-2017, INDUSTRIA DEL GAS-CONEXIÓN INTEGRAL Y CONEXIÓN FLEXIBLE QUE SE UTILIZAN EN INSTALACIONES DE APROVECHAMIENTO DE GAS L.P. O GAS NATURAL-ESPECIFICACIONES Y MÉTODOS DE PRUEBA (CANCELA A LA NOM-014-SESH-2013)
ALBERTO ULISES ESTEBAN MARINA, Director General de Normas y Presidente del Comité Consultivo Nacional de Normalización de la Secretaría de Economía (CCONNSE), con fundamento en los artículos 34 fracciones XIII y XXXIII de la Ley Orgánica de la Administración Pública Federal; 39 fracción V, 40 fracciones I y XII, 47 fracción IV de la Ley Federal sobre Metrología y Normalización, 34 del Reglamento de la Ley Federal sobre Metrología y Normalización y 22 fracciones I, IV, IX y XXV del Reglamento Interior de la Secretaría de Economía, y
CONSIDERANDO
Que con fecha 17 de agosto de 2016, el Comité Consultivo Nacional de Normalización de la Secretaría de Economía, aprobó la publicación del Proyecto de Norma Oficial Mexicana PROY-NOM-209-SCFI-2016, INDUSTRIA DEL GAS-CONEXIÓN INTEGRAL Y CONEXIÓN FLEXIBLE QUE SE UTILIZAN EN INSTALACIONES DE APROVECHAMIENTO DE GAS L.P. O GAS NATURAL-ESPECIFICACIONES Y MÉTODOS DE PRUEBA (CANCELARÁ A LA NOM-014-SESH-2013), la cual se realizó en el Diario Oficial de la Federación el 23 de enero de 2017, con objeto de que los interesados presentaran sus comentarios;
Que durante el plazo de 60 días naturales contados a partir del día siguiente de la fecha de publicación de dicho Proyecto de Norma Oficial Mexicana, la Manifestación de Impacto Regulatorio a que se refiere el artículo 45 de la Ley Federal sobre Metrología y Normalización estuvo a disposición del público en general para su consulta; y que dentro del mismo plazo, los interesados presentaron comentarios sobre el contenido del citado Proyecto de Norma Oficial Mexicana, mismos que fueron analizados por el grupo de trabajo, realizándose las modificaciones conducentes al proyecto de norma;
Que con fecha 28 de agosto de 2017, el Comité Consultivo Nacional de Normalización de la Secretaría de Economía aprobó la norma referida;
Que la Ley Federal sobre Metrología y Normalización establece que las Normas Oficiales Mexicanas se constituyen como el instrumento idóneo para la protección de los intereses del consumidor, expide la siguiente: Norma Oficial Mexicana NOM-209-SCFI-2017 INDUSTRIA DEL GAS-CONEXIÓN INTEGRAL Y CONEXIÓN FLEXIBLE QUE SE UTILIZAN EN INSTALACIONES DE APROVECHAMIENTO DE GAS L.P. O GAS NATURAL-ESPECIFICACIONES Y MÉTODOS DE PRUEBA (CANCELA A LA NOM-014-SESH-2013), SINEC-20170817161847669.
Ciudad de México, a 28 de agosto de 2017.- El Director General de Normas y Presidente del Comité Consultivo Nacional de Normalización de la Secretaría de Economía, Alberto Ulises Esteban Marina.- Rúbrica.
NORMA OFICIAL MEXICANA NOM-209-SCFI-2017 INDUSTRIA DEL GAS-CONEXIÓN INTEGRAL Y
CONEXIÓN FLEXIBLE QUE SE UTILIZAN EN INSTALACIONES DE APROVECHAMIENTO DE GAS L.P.
O GAS NATURAL-ESPECIFICACIONES Y MÉTODOS DE PRUEBA (CANCELA A LA NOM-014-SESH-2013)
Prefacio
La elaboración de la presente Norma Oficial Mexicana es competencia del Comité Consultivo Nacional de Normalización de la Secretaría de Economía (CCONNSE) integrado por:
- Secretaría de Economía.
- Secretaría de Salud.
- Secretaría del Trabajo y Previsión Social.
- Secretaría de Medio Ambiente y Recursos Naturales.
- Secretaría de Agricultura, Ganadería, Desarrollo Rural, Pesca y Alimentación.
- Secretaría de Comunicaciones y Transportes.
- Secretaría de Turismo.
- Secretaría de Desarrollo Social.
- Secretaría de Gobernación.
- Secretaría de Energía.
- Centro Nacional de Metrología.
- Comisión Federal de Competencia Económica.
- Procuraduría Federal del Consumidor.
- Comisión Nacional del Agua.
- Instituto Mexicano del Transporte.
- Cámara Nacional de la Industria de Transformación.
- Confederación de Cámaras Nacionales de Comercio, Servicios y Turismo.
- Confederación de Cámaras Industriales de los Estados Unidos Mexicanos.
- Asociación Nacional de Tiendas de Autoservicio y Departamentales.
- Asociación Nacional de Importadores y Exportadores de la República Mexicana.
- Cámara Nacional de Comercio de la Ciudad de México.
- Consejo Nacional Agropecuario.
- Universidad Nacional Autónoma de México.
- Instituto Politécnico Nacional.
Con objeto de elaborar la presente Norma, se constituyó un Grupo de Trabajo con la participación voluntaria de los siguientes actores:
- Asociación Mexicana de Distribuidores de Gas Licuado y Empresas Conexas, A.C.
- Asociación Mexicana de Fabricantes de Válvulas y Conexos, A.C.
- Asociación Mexicana de Profesionales en Gas, A.C.
- Asociación de Normalización y Certificación, A.C.
- Cámara Nacional de la Industria de Transformación, CANACINTRA.
- Cámara Regional de Gas, A.C.
- Centro de Normalización y Certificación de Productos, A.C.
- Asociación Nacional de Fabricantes de Aparatos Domésticos, A.C.
- Asociación Nacional de Organismos de Inspección, A.C.
- Desarrollo Miber, S.A. DE C.V.
- Grupo IUSA, S.A. de C.V.
- MABE S.A. de C.V.
- TRUPER, S.A. de C.V.
- TANQUES MENHER, S.A. DE C.V.
- TRINITY INDUSTRIES DE MÉXICO, S. DE R.L. DE C.V.
Índice del Contenido
1. Objetivo y campo de aplicación
2. Referencias Normativas
3. Términos, definiciones y términos abreviados
4. Clasificación
5. Especificaciones
6. Métodos de prueba
7. Marcado
8. Procedimiento para la Evaluación de la Conformidad (PEC)
9. Vigilancia
10. Concordancia con normas internacionales
11. Bibliografía
TRANSITORIOS
Índice de Tablas
Tabla 1-Momento de torsión para rosca cónica tipo NPT
Tabla 2-Momento de torsión para rosca recta
Tabla 3-Resistencia a la tensión mínima
Tabla 4-Longitud para la conexión
Tabla 5-Dimensiones del conector con rosca tipo ACME
Tabla 6-Dimensiones del vástago de punta POL
Tabla 7-Dimensiones de la tuerca con rosca EXT izquierda
Tabla 8-Dimensiones de la tuerca con rosca EXT derecha para la conexión Tipo 1
Tabla 9-Dimensiones de la tuerca con rosca EXT derecha para la conexión Tipo 2
Tabla 10-Dimensiones de la tuerca con rosca EXT NPT para la conexión Tipo 2
Tabla 11-Dimensiones del abocinado del tubo de cobre
Tabla 12-Especímenes que se requieren para las pruebas
Índice de Figuras
Figura 1-Conexión integral (cola de cochino) Tipo 1 (ilustrativa)
Figura 2-Conexión integral flexible Tipo 2 (ilustrativa)
Figura 3-Conexión flexible Tipo 3 (ilustrativa)
Figura 4-Conexión punta POL Tipo 4 con rosca NPT macho (ilustrativa)
Figura 5-Conexión punta POL Tipo 4 con conector tipo ACME (ilustrativa)
Figura 6-Conector tipo ACME (ilustrativa)
Figura 7-Vástago de punta POL (ilustrativa)
Figura 8-Tuerca con rosca EXT izquierda (ilustrativa)
Figura 9-Tuerca con rosca EXT derecha para conexiones Tipo 1 o Tipo 2 (ilustrativa)
Figura 10-Tuerca con rosca EXT NPT para conexión Tipo 2 (ilustrativa)
Figura 11-Abocinado del tubo (ilustrativa)
1. Objetivo y campo de aplicación
La presente Norma Oficial Mexicana, establece las especificaciones, los requisitos mínimos de seguridad y los métodos de prueba para la conexión integral, la conexión integral flexible, la conexión flexible y la conexión con punta POL que se utilizan en las instalaciones de aprovechamiento de Gas L.P. o Gas Natural, así como la información que debe exhibirse en el producto y su empaque. Asimismo, establece el procedimiento para la evaluación de la conformidad correspondiente.
2. Referencias Normativas
Para los fines de esta Norma Oficial Mexicana, es indispensable aplicar las Normas Oficiales Mexicanas y las Normas Mexicanas que se listan a continuación o las que las sustituyan, ya que constituyen disposiciones de esta Norma Oficial Mexicana:
2.1 Norma Oficial Mexicana NOM-106-SCFI-2000, Características de diseño y condiciones de uso de la contraseña oficial (cancela a la NOM-106-SCFI-2000, publicada el 2 de noviembre y el 11 de diciembre de 2000), fecha de publicación en el Diario Oficial de la Federación el 2001-02-02.
2.2 Norma Mexicana NMX-W-020-SCFI-2006, Productos de cobre y sus aleaciones-Barras y perfiles de latón de fácil maquinado-Especificaciones y métodos de prueba (cancela a la NMX-W-020-1996-SCFI), fecha de publicación en el Diario Oficial de la Federación el 2006-03-23.
2.3 Norma Mexicana NMX-W-023-SCFI-2004, Productos de cobre y sus aleaciones-Tubos de cobre sin costura para refrigeración-Especificaciones y métodos de prueba (cancela a la NMX-W-023-1996-SCFI), fecha de publicación en el Diario Oficial de la Federación el 2004-08-13.
2.4 Norma Mexicana NMX-X-002-1-SCFI-2015, Productos de cobre y sus aleaciones-Conexiones de latón roscadas y con abocinado a 45°-Especificaciones y métodos de prueba (cancela a la NMX-X-002-1-1996), fecha de publicación en el Diario Oficial de la Federación el 2016-04-12.
2.5 Norma Mexicana NMX-X-029/1-SCFI-2005, Gas L.P.-Mangueras con refuerzo de alambre o fibras textiles para la conducción de Gas L.P. y/o Natural-Especificaciones y métodos de ensayo-Parte 1: Para uso en alta y baja presión (cancela a la NMX-X-029-1985), fecha de publicación en el Diario Oficial de la Federación el 2005-04-07.
3. Términos, definiciones y términos abreviados
Para los propósitos de esta Norma Oficial Mexicana, se aplican los términos, definiciones y términos abreviados siguientes:
3.1 ACME
Abreviatura de la denominación que se les da a cierto tipo de roscas rectas cuyo corte transversal es trapezoidal
3.2 ampliación de titularidad
Extensión de la propiedad y responsabilidad que el titular del certificado tiene y otorga, a una persona física o moral, que él designe
3.3 cancelación del certificado de la conformidad
Acto mediante el cual, la DGN, deja sin efectos, de modo definitivo, el certificado de cumplimiento
3.4 certificado de la conformidad
Documento mediante el cual la Dirección General de Normas (DGN) o los organismos de certificación para producto hacen constar que las conexiones integrales y conexiones flexibles que se utilizan en las instalaciones de aprovechamiento de Gas L.P. o Gas Natural, cumplen con las especificaciones que se establecen en esta Norma Oficial Mexicana
3.5 certificado de calidad
Documento que garantiza que el material se encuentra en estado para operar
3.6 certificado del sistema de control de la calidad
Documento que otorga un organismo de certificación de sistemas de control de la calidad establecido en términos de la Ley Federal sobre Metrología y Normalización (LFMN), a efecto de hacer constar ante la Dirección General de Normas (DGN) o los organismos de certificación para producto, que el sistema de control de la calidad del producto contempla procedimientos de verificación para el cumplimiento con esta Norma Oficial Mexicana
3.7 conector
Elemento roscado de la conexión
3.8 conexión integral
Producto que permite la conexión de la válvula del recipiente transportable al regulador
3.9 conexión flexible
Producto que permite la conexión de la salida del regulador o de la instalación al aparato de consumo
3.10 conexión punta POL
Aquella que se caracteriza por presentar un diseño radial como medio de sello, que permite la conexión de la válvula del recipiente transportable al regulador
3.11 DGN
La Dirección General de Normas de la Secretaría de Economía
3.12 EXT
Abreviatura de "Rosca externa"
3.13 familia de modelos
Grupo de modelos de un mismo producto, referidos en esta Norma Oficial Mexicana, del mismo tipo, en el que las variantes son de carácter estético o de apariencia, pero conservan las características de diseño que aseguran el cumplimiento de esta Norma Oficial Mexicana
3.14 informe de pruebas
Documento que emite un laboratorio de pruebas, mediante el cual se presenta ante la DGN o los organismos de certificación para producto los resultados obtenidos en las pruebas realizadas a las conexiones integrales y conexiones flexibles que se utilizan en las instalaciones de aprovechamiento de Gas L.P. o Gas Natural
El informe de pruebas tendrá una vigencia de noventa días naturales a partir de la fecha de su emisión para efectos de la solicitud de certificación en los organismos de certificación para producto
3.15 INT
Abreviatura de "Rosca interna"
3.16 laboratorio de pruebas
Laboratorio de pruebas acreditado y aprobado conforme lo establece la Ley Federal sobre Metrología y Normalización
3.17 Ley
Ley Federal sobre Metrología y Normalización
3.18 LH
Abreviatura de "Rosca izquierda", por sus siglas en idioma inglés (Left Helix, Left Handed)
3.19 lote
Conjunto de unidades de producto del cual se toma la muestra tipo para su evaluación y así determinar su conformidad con la presente Norma Oficial Mexicana y puede ser diferente del conjunto de unidades llamadas lote para otros propósitos (por ejemplo: producción, embarque, etc.)
3.20 manguera tramada
Elemento compuesto por una manguera de material polimérico (por ejemplo, hule, plástico, poli(cloruro de vinilo), polietileno, nitrilo, entre otros) con un refuerzo (por ejemplo, poliéster o nylon) entre la manguera y el revestimiento o cubierta
3.21 manguera trenzada
Elemento compuesto por un tubo de hule sintético o plástico recubierto con refuerzo exterior trenzado de fibras resistentes a la abrasión y a la corrosión.
3.22 NGO
Abreviatura que se le da a la rosca de salida normalizada para gas, por sus siglas en idioma inglés (National Gas Outlet Thread)
3.23 NPT
Abreviatura de la denominación que se les da a las roscas cónicas que se utilizan en tuberías, por sus siglas en idioma inglés (National Pipe Thread)
3.24 organismo de certificación para producto
A la persona moral acreditada y aprobada en la presente Norma Oficial Mexicana conforme a la Ley, que tiene por objeto realizar funciones de certificación de la conformidad de las conexiones integrales y conexiones flexibles que se utilizan en las instalaciones de aprovechamiento de Gas L.P. o Gas Natural
3.25 organismo de certificación de sistemas de control de la calidad
A la persona moral, acreditada conforme a la Ley, que tenga por objeto realizar funciones de certificación de sistemas de control de la calidad de la línea de producción de las conexiones integrales y conexiones flexibles que se utilizan en las instalaciones de aprovechamiento de Gas L.P. o Gas Natural, y tengan los procedimientos de seguimiento de conformidad con lo dispuesto en la Ley
3.26 PEC
Procedimiento para la evaluación de la conformidad para determinar el grado de cumplimiento con esta Norma Oficial Mexicana.
3.27 presión de trabajo
Es la presión manométrica a la que operan las conexiones conforme al diseño de una instalación.
3.28 recipiente transportable
Envase utilizado para contener Gas L.P., a presión, y que, por sus características de seguridad, peso y dimensiones, una vez llenado, puede ser manejado manualmente
3.29 suspensión del certificado de la conformidad
Acto mediante el cual, la DGN interrumpe la validez, temporalmente, de manera parcial o total, del certificado de cumplimiento
3.30 UNS
Abreviatura de la denominación que se le da a la rosca cilíndrica de paso, por sus siglas en idioma inglés (Unified Special Thread)
3.31 verificación
Comprobación a la que están sujetas las conexiones integrales y conexiones flexibles que se utilizan en las instalaciones de aprovechamiento de Gas L.P. o Gas Natural, a las que se les otorgó un certificado de la conformidad, con el objeto de constatar que continúan cumpliendo con esta Norma Oficial Mexicana y del que depende la vigencia de dicha certificación
4. Clasificación
Las conexiones objeto de la presente Norma Oficial Mexicana se clasifican en:
a) Tipo 1: Conexión integral (cola de cochino).
b) Tipo 2: Conexión integral flexible.
c) Tipo 3: Conexión flexible:
i. I Alta presión.
ii. II Baja presión.
d) Tipo 4: Conexión punta POL:
i. I Con rosca tipo NPT macho
ii. II Con rosca tipo ACME
5. Especificaciones
5.1 Generalidades
En las conexiones de cualquier tipo, no debe usarse aluminio en contacto con cobre o con aleaciones de cobre.
5.2 Conexión integral (cola de cochino)
Debe conformarse como un ensamble formado por un tubo de cobre flexible con designación de 6,35 mm (1/4), soldado en un extremo a un vástago con punta POL, complementando con una tuerca con rosca EXT izquierda y en el otro extremo con una tuerca con rosca EXT derecha y con el tubo abocinado. Las tuercas quedan libres en su movimiento para ensamblarse (véase Figura 1). Estas condiciones se comprueban visualmente y por medición, según corresponda.
Los componentes de la conexión deben cumplir con lo establecido en la Tabla 6, Tabla 7 y Tabla 8. Esta condición se comprueba mediante medición.
FIGURA 1-Conexión integral (cola de cochino) Tipo 1 (ilustrativa no limitativa)
5.3 Conexión integral flexible
Debe conformarse como un ensamble formado por una manguera flexible tramada o trenzada que se une a una punta POL con tuerca con rosca EXT izquierda en un extremo, la cual puede integrarse a un maneral, y
en el otro extremo una tuerca con rosca EXT derecha con abocinado interno (véase Figura 2).
La punta POL puede presentar integrado de origen un arosello, también puede presentar conector tipo ACME con designación 1 5/16-5-ACME-2G hembra para ensamblar la punta POL a la válvula de un recipiente transportable para contener Gas L.P. (véase Figura 5).
Lo anterior se comprueba visualmente, la rosca ACME debe cumplir con lo establecido en la Tabla 5. Esta condición se comprueba por medición.
FIGURA 5-Conexión punta POL Tipo 4 II, con rosca tipo ACME (ilustrativa no limitativa)
5.6 Tubo de cobre flexible
El tubo de cobre flexible que se utiliza en la conexión Tipo 1 debe cumplir con la composición química, abocardado y características mecánicas indicadas en la Norma Mexicana NMX-W-023-SCFI-2004 o la que la sustituya, lo cual se comprueba mediante la presentación del certificado de calidad, cuyo contenido sea en idioma español o en su defecto en idioma inglés, en los términos de lo dispuesto en el PEC a que se refiere el Capítulo 8 de la presente Norma Oficial Mexicana.
5.7 Manguera
La manguera que se utiliza en las conexiones Tipo 2 y Tipo 3 debe cumplir con la Norma Mexicana NMX-X-029/1-SCFI-2005 o la que la sustituya, lo cual se comprueba mediante la presentación del certificado de cumplimiento, de acuerdo a lo dispuesto en el PEC a que se refiere el Capítulo 8 de la presente Norma Oficial Mexicana.
5.8 Presión máxima de trabajo
Para las conexiones Tipo 1, 2, 3 I y 4, la presión máxima de trabajo debe ser 1,72 MPa (17,54 kgf/cm2).
Para las conexiones Tipo 3 II, la presión máxima de trabajo debe ser 7 kPa (71,38 gf/cm2).
La conexión no debe presentar fugas ni deformaciones visibles cuando se aplica el método de prueba que se establece en 6.4.
5.9 Presión de reventamiento
En el caso de las conexiones Tipo 1, 2, 3 I y 4, la presión de reventamiento debe ser como mínimo 8,6 MPa (87,70 kgf/cm2). Para las conexiones Tipo 3 II, dicha presión debe ser 3,5 MPa (35,69 kgf/cm2) como mínimo.
Lo anterior se comprueba conforme a lo establecido en 6.5.
5.10 Conectores
No deben usarse conectores fabricados a partir de un proceso de fundición. El material de los conectores objeto de la presente Norma Oficial Mexicana debe cumplir con la composición química y características mecánicas de la Norma Mexicana NMX-W-020-SCFI-2006 y cumplir con la composición química y propiedades mecánicas de la Norma Mexicana NMX-X-002-1-SCFI-2015, o las que las sustituyan.
Las condiciones descritas en el párrafo anterior se comprueban mediante la presentación de los certificados de calidad, cuyo contenido sea en idioma español o en su defecto en idioma inglés, de acuerdo a
lo dispuesto en el PEC a que se refiere el Capítulo 8 de la presente Norma Oficial Mexicana.
5.11 Resistencia al momento de torsión
Para las conexiones Tipo 1 y Tipo 2 la tuerca con rosca EXT izquierda debe soportar un momento de torsión de 50 Nm, la tuerca con rosca EXT derecha debe soportar un momento de torsión de 20 Nm. Para las conexiones que presentan maneral, éste debe soportar un momento de torsión de 20 Nm. En todos los casos debe tenerse una tolerancia de ± 1 %. Las características descritas se comprueban conforme a la establecido en el numeral 6.3.
Las conexiones Tipo 3 I y Tipo 3 II deben resistir el momento de torsión que se establece en las Tablas 1 y/o 2, según corresponda, comprobándose conforme a lo descrito en el numeral 6.3.
Las conexiones Tipo 4 I y Tipo 4 II deben resistir el momento de torsión que se establece en la Tabla 1, comprobándose conforme a lo descrito en el numeral 6.3.
En el caso de las medidas nominales que no se incluyen en las mencionadas tablas, debe aplicarse el momento de torsión inmediato superior.
TABLA 1-Momento de torsión para rosca cónica tipo NPT
| Designación de la rosca | Momento de torsión mínimo |
| mm | nominal | Nm |
| 3,17 | 1/8 | 15 |
| 6,35 | 1/4 | 28 |
| 9,52 | 3/8 | 51 |
| 12,70 | 1/2 | 90 |
| 19,05 | 3/4 | 113 |
| 25,40 | 1 | 135 |
TABLA 2- Momento de torsión para rosca recta
| Designación de la rosca | Momento de torsión mínimo |
| mm | nominal | Nm |
| 3,17 | 1/8 | 15 |
| 11,11 | 7/16 | 20 |
| 12,70 | 1/2 | 28 |
| 15,87 | 5/8 | 51 |
| 19,05 | 3/4 | 90 |
| 25,40 | 1 | 113 |
5.12 Resistencia a la tensión
Las conexiones, deben soportar una resistencia a la tensión como se especifica en la Tabla 3. Esta condición se comprueba conforme a lo establecido en el numeral 6.2.
TABLA 3- Resistencia a la tensión mínima
| Conexión | Diámetro exterior del tubo o diámetro interior de la manguera, según corresponda | Resistencia a la tensión |
| mm | nominal | N |
| Tipo 1 | 6,35 | 1/4 | 2 200 |
| Tipo 2 | 4,76 a 15,87 | 3/16 a 5/8 | 1 760 |
| Tipo 3 I y 3 II | 4,76 a 15,87 | 3/16 a 5/8 | 880 |
5.13 Longitudes
La conexión debe tener una longitud conforme a lo señalado en la Tabla 4, lo que se comprueba por medición.
Para la conexión tipo 3 II se permiten longitudes hasta 5 m, teniendo en cuenta que para estos casos se deben cumplir las especificaciones como si se tratase de una conexión tipo 3 I.
TABLA 4-Longitud para la conexión
| Conexión | Longitud |
| Mínima | Máxima |
| cm | cm |
| Tipo 1 | 50 | 60 |
| Tipo 2 | 30 | 60 |
| Tipo 3 I y 3 II | 30 | 250 |
| Tipo 4 | 5 | 14 |
5.14 Dimensiones de los conectores
a) Tipo ACME
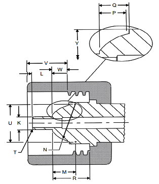
La rosca tipo ACME debe cumplir con las dimensiones que se especifican en la Tabla 5 (véase Figura 6). Lo anterior se comprueba por medición.
TABLA 5-Dimensiones del conector con rosca tipo ACME
| Símbolo | Descripción | Dimensión (mm) |
| | Rosca | Designación 1 5/16-5-ACME-2G-RH-INT |
| * | Diámetro menor | De 28,96 a 29,46 |
| * | Diámetro de paso | De 31,50 a 32,01 |
| * | Diámetro mayor | De 34,54 a 35,05 |
| K | Diámetro de fondo | De 6,78 a 6,99 |
| L | Longitud de fondo | De 3,81 a 7,87 |
| M | Línea de centro | 11,91 ± 0,38 |
| N | Radio de nariz | 19,05 ± 0,13 |
| P | Longitud de nariz | De 6,73 como mínimo |
| Q | Principio del diámetro guía Y | De 7,59 como mínimo |
| R | Longitud de hombro | De 19,74 a 18,64 |
| T | Radio de fondo | 0,76 ± 0,25 |
| U | Radio de N centros | 19,05 ± 0,13 |
| V | Profundidad orificio | De 2,29 a 16,00 |
| W | Inicio de la rosca completa | De 4,04 a 5,21 |
| Y | Diámetro de guía | De 20,45 como máximo |
| (*) La rosca tipo ACME debe ser continua |
FIGURA 6-Rosca tipo ACME (ilustrativa no limitativa)
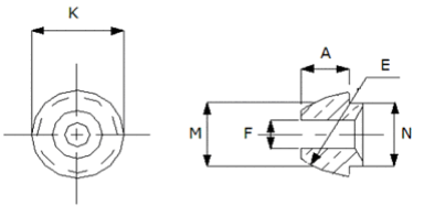
b) Vástago de punta POL
Las dimensiones del vástago de punta POL deben cumplir con lo especificado en la Tabla 6 (véase Figura 7). Lo anterior se comprueba por medición.
TABLA 6-Dimensiones del vástago de punta POL
| Vástago de punta POL | Dimensión mínima |
| Parte | Símbolo | mm |
| Longitud de cabeza | A | 9,9 |
| Radio de curvatura | E | 19,0 |
| Orificio | F | 3,2 |
| Diámetro de cabeza | K | 18,0 |
| Diámetro de contacto | M | 13,9 |
| Diámetro | N | 14,0 |
FIGURA 7-Vástago de punta POL (Ilustrativa no limitativa)
En los casos en que se presenta arosello, éste debe cumplir con la prueba de variación de la masa, volumen y dimensiones del elastómero que se establece en el numeral 6.6.
c) Tuerca con rosca EXT izquierda
Las dimensiones de la tuerca con rosca EXT izquierda deben ser las que se especifican en la Tabla 7 (véase Figura 8) y deben llevar una ranura como identificación. Lo anterior se comprueba por medición.
TABLA 7-Dimensiones de la tuerca con rosca EXT izquierda
| Tuerca con rosca EXT izquierda | Dimensión |
| Parte | Símbolo | mm |
| 0,880-14-NGO-LH-EXT | A | 14 hilos por cada 25,4 |
| Distancia entre caras | B | 22,0 mínimo |
| Desahogo (opcional) | C | 3,2 máximo |
| Diámetro del fondo de la ranura de identificación | D | 22,6 mínimo |
| Longitud de la rosca incluyendo desahogo | E | De 13,2 a 13,7 |
| Longitud | F | 16,9 mínimo |
| Longitud total | G | 25,4 mínimo |
| Diámetro (para conexión Tipo 1) | H | 11,4 mínimo |
| Diámetro pasado (para conexiones Tipo 2, 3 I, 3 II y 4) | K | 14,4 mínimo |
FIGURA 8-Tuerca con rosca EXT izquierda (Ilustrativa no limitativa)
d) Tuerca con rosca EXT derecha
Las dimensiones de la tuerca con rosca EXT derecha deben cumplir lo que se especifica en las Tablas 8 o 9 según corresponda (véase Figura 9). Lo anterior se comprueba por medición.
TABLA 8-Dimensiones de la tuerca con rosca EXT derecha para la conexión Tipo 1
| Tuerca con rosca EXT derecha | Dimensión |
| Parte | Símbolo | mm |
| Rosca EXT derecha (7/16-24-UNS-2A) | A | 24 hilos por cada 25,4 |
| Distancia entre caras | B | 10,95 mínimo |
| Orificio | C | De 6,52 a 6,65 |
| Diámetro | D | De 8,40 a 8,51 |
| Diámetro | E | De 9,01 a 9,52 |
| Diámetro | F | De 9,01 a 9,52 |
| Longitud | G | De 10,26 a 10,66 |
| Longitud | H | 7,92 mínimo |
| Longitud | I | 1,57 máximo |
| Longitud total | J | De 15,87 a 16,28 |
TABLA 9-Dimensiones de la tuerca con rosca EXT derecha para la conexión Tipo 2
| Tuerca con rosca EXT derecha | Dimensión |
| Parte | Símbolo | mm |
| Rosca EXT derecha (7/16-24-UNS-2A) | A | 24 hilos por cada 25,4 |
| Distancia entre caras | B | 10,95 mínimo |
| Orificio | C | De 4,65 a 4,93 |
| Diámetro | D | De 7,87 a 8,51 |
| Diámetro | E | De 8,95 a 9,52 |
| Diámetro | F | De 8,95 a 9,52 |
| Longitud | G | De 10,23 a 11,50 |
| Longitud | H | 7,92 mínimo |
| Longitud | I | 1,87 mínimo |
| Longitud total | J | De 15,80 a 22,0 |
| Ángulo de abocinado | | 45° |
| Las dimensiones adicionales de la tuerca corresponden al diseño de fabricación. |
FIGURA 9-Tuerca con rosca EXT derecha para conexiones Tipo 1 o Tipo 2 (Ilustrativa no limitativa)
TABLA 10-Dimensiones de la tuerca con rosca EXT NPT para la conexión Tipo 2
| Tuerca con rosca EXT NPT | Dimensión |
| Parte | Símbolo | mm |
| 1/4-18 NPT | A | 18 hilos por cada 25,4 |
| Distancia entre caras | B | 14,10 mínimo |
| Longitud de la rosca | C | 8,5 mínimo |
| Longitud total | D | 18,7 mínimo |
| Diámetro | E | 9,10 mínimo |
FIGURA 10-Tuerca con rosca EXT NPT para conexión Tipo 2 (Ilustrativa no limitativa)
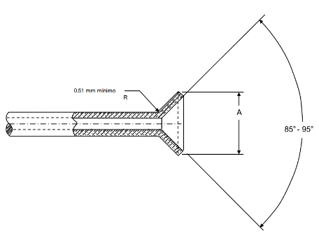
e) Abocinado
La conexión Tipo 1 debe llevar un abocinado de acuerdo con lo que se especifica en la Tabla 11 (véase Figura 11), lo cual se comprueba por medición. El abocinado no debe presentar fisuras o agrietamientos. Esta condición se comprueba por inspección visual.
TABLA 11-Dimensiones del abocinado del tubo de cobre
| Tubo de cobre | Símbolo | Dimensión |
| mm |
| Diámetro de abocinado | A | 8,0 mínimo |
| Ángulo de abocinado | B | De 85° a 95° |
| Radio de abocinado | R | 0,51 mínimo |
FIGURA 11-Abocinado del tubo (Ilustrativa no limitativa)
5.15 Resistencia a la presión hidrostática
Las conexiones Tipo 1, 2, 3 I, 4 I y 4 II, no deben presentar fugas al someterse a una presión hidrostática de 3,4 MPa (34,67 kgf/cm2) y las conexiones Tipo 3 II no deben presentar fugas al someterse a una presión hidrostática de 2,06 MPa (21 kgf/cm2). Estas condiciones se comprueban conforme al numeral 6.5.
5.16 Acabado
Los conectores no deben presentar porosidades ni grietas, y las superficies externas o internas deben estar libres de rebabas. Estas características se comprueban visualmente.
5.17 Soldadura
La soldadura utilizada en la conexión Tipo 1 debe ser compatible con los materiales que van a soldarse y tener un punto de fusión mínimo de 573 °C. Estas especificaciones se comprueban mediante la presentación del certificado de calidad, cuyo contenido sea en idioma español o en su defecto en idioma inglés, de conformidad a lo dispuesto en el PEC a que se refiere el Capítulo 8 de la presente Norma Oficial Mexicana.
5.18 Conexión como accesorio
Cuando las conexiones de cualquiera de los tipos mencionados en la presente Norma Oficial Mexicana formen parte de un conjunto para suministrar gas regulado al aparato de consumo, la conexión debe cumplir con la parte aplicable de la presente Norma Oficial Mexicana, lo cual se comprueba mediante la presentación de un informe de pruebas, en términos de lo dispuesto en el PEC a que se refiere el Capítulo 8, sin perjuicio del cumplimiento de las especificaciones establecidas en la presente Norma Oficial Mexicana.
5.19 Accesorios adicionales
Cuando las conexiones de cualquiera de los tipos mencionados en la presente Norma Oficial Mexicana cuenten con accesorios o elementos adicionales, tales como guías, dispositivos de exceso, interrupción o apertura de flujo, entre otros, éstos deben cumplir con las especificaciones del fabricante, lo cual se comprueba mediante la presentación de un informe de pruebas, en términos de lo dispuesto en el PEC a que se refiere el Capítulo 8, sin perjuicio del cumplimiento de las especificaciones establecidas en la presente Norma Oficial Mexicana.
6. Métodos de prueba
6.1 Generalidades
Los instrumentos de medición y dispositivos que se indican en la presente Norma Oficial Mexicana, representan los requisitos mínimos para la aplicación de las pruebas y pueden sustituirse por otros equivalentes que permitan obtener el resultado de la prueba en las unidades o valores que se especifican.
Antes de iniciar el ciclo de pruebas, los especímenes deben acondicionarse a una temperatura de 20 °C ± 5 °C, como mínimo durante 6 h.
6.2 Resistencia a la tensión
a) Aparatos y/o instrumentos
- Dinamómetro adecuado y con capacidad de aplicar la fuerza que se establece en la Tabla 3.
b) Especímenes para prueba
Tomar como mínimo 100 mm de la conexión más el vástago con punta POL o el conector.
c) Procedimiento
Colocar y sujetar el espécimen entre las mordazas del dinamómetro.
Ajustar el dinamómetro a cero y aplicar una fuerza de tensión gradualmente hasta alcanzar los valores que se especifican en la Tabla 3.
d) Expresión de resultados
La conexión no debe presentar desprendimiento ni fractura.
6.3 Resistencia al momento de torsión de los conectores roscados
a) Aparatos y/o instrumentos
- Medidor de momento de torsión adecuado para efectuar las mediciones conforme a la prueba;
- Prensa mecánica de sujeción;
- Accesorios (conexiones); y
- Verificadores de roscas.
b) Preparación del espécimen
Los conectores que se emplean para la determinación de la resistencia al momento de torsión no deben tener rebabas ni deformidades.
c) Procedimiento
No debe utilizarse ningún tipo de sellador (cinta teflón, pintura, entre otros) en las roscas durante la aplicación del momento de torsión.
Comprobar que en las roscas rectas y roscas tipo ACME el verificador "pasa" entre libremente a través de la longitud de la rosca y el verificador "no pasa" entre máximo dos hilos para roscas rectas; para rosca tipo ACME debe entrar máximo un hilo. Para roscas cónicas el verificador debe estar dentro de la tolerancia de ± 1 hilo.
Sujetar el conector a probar en la prensa de manera que quede libre de la sección roscada. Enseguida, acoplar un conector y por medio del medidor de momento de torsión aplicar el momento, de acuerdo con lo que se especifica en el numeral 5.11.
d) Expresión de resultados
La prueba se cumple cuando el conector no presenta grietas, deformaciones ni roscas barridas.
6.4 Presión máxima de trabajo
a) Aparatos e instrumentos
- Línea de aire adecuada para efectuar el procedimiento de prueba;
- Dispositivo para elevar la presión neumática;
- Manómetro adecuado para efectuar las mediciones conforme a la prueba; y
- Cronómetro apropiado para efectuar la medición conforme a la prueba.
b) Procedimiento
Montar la conexión en el dispositivo y elevar la presión de acuerdo al tipo de conexión a probar, como se especifica en el numeral 5.8 y mantener dicha presión durante 1 h.
c) Expresión de resultados
La prueba se cumple cuando no existen fugas ni deformaciones permanentes en la conexión bajo prueba.
6.5 Resistencia hidrostática
a) Aparatos e instrumentos
- Agua o aceite hidráulico;
- Dispositivo para elevar la presión hidrostática;
- Manómetro adecuado para efectuar las mediciones conforme a la prueba; y
- Cronómetro apropiado para efectuar la medición conforme a la prueba.
b) Procedimiento
Montar la conexión en el dispositivo para elevar la presión, incrementar gradualmente hasta alcanzar la presión que se especifica en el numeral 5.15 dependiendo del tipo de conexión. Mantener dicha presión durante 30 min.
Posteriormente, comprobar la presión de reventamiento, por lo que, en este caso, aumentar la presión gradualmente en la conexión a probar, la cual no debe reventarse a una presión menor que la establecida en el numeral 5.9 de acuerdo con el tipo de conexión.
c) Expresión de resultados
La prueba se cumple cuando en la conexión no existen fugas ni reventamiento.
6.6 Variación de volumen y pérdida en la masa
a) Fundamento
Este método de prueba tiene por objeto comprobar que después del ataque de un agente químico, no se afecta la condición final del elastómero.
b) Reactivos y materiales
- n-hexano;
- Alcohol etílico;
- Agua destilada; y
- Papel filtro.
c) Aparatos y/o instrumentos
- Balanza analítica con aproximación mínima de 0,001g;
- Recipiente con tapa;
- Cronómetro con resolución mínima de 0,01 s;
- Medidor de longitud con resolución mínima de 0,01 mm; y
- Medidor de espesores con resolución mínima de 0,01 mm.
d) Procedimiento
d.1) Preparación y conservación de los especímenes
Antes de realizar la prueba que se indica en el inciso d.2), medir el diámetro interno, diámetro externo y espesor del espécimen, en al menos tres puntos y calcular el promedio de las lecturas de cada uno.
Después de realizar lo que se indica en el inciso d.2), medir nuevamente el diámetro interno, diámetro externo y espesor de cada espécimen como se describe anteriormente.
d.2) Determinación de la variación de la masa
Tomar el espécimen a probar y determinar la masa (P1) en la balanza analítica.
La determinación de la masa debe realizarse con aproximación al miligramo.
Introducir el espécimen en n-hexano cubriéndolo completamente durante 70 h ± 1 h a temperatura ambiente en un recipiente cerrado.
Al final de ese tiempo, sacar el espécimen y enjuagar con alcohol etílico y agua destilada.
Secar el espécimen con el papel filtro y dejar reposar a temperatura ambiente durante 72 h y al final determinar la masa (P2).
Esta última determinación de masa (P2) puede realizarse también de la forma siguiente:
Después de secar el espécimen con el papel filtro se introduce en un horno de circulación de aire a una temperatura de 70 °C ± 2 °C durante 2 h.
Al término de ese período, sacar del horno y dejar reposar entre 1 h y 2 h. Después del proceso de enfriado, determinar la masa (P2).
e) Expresión de resultados
e.1) Fórmula para calcular el por ciento de la variación de la masa
La prueba se cumple cuando no existen fugas ni deformaciones permanentes en la conexión bajo prueba.
En donde:
P1 es la masa del espécimen, en mg; y
P2 es la masa del espécimen, después de secarse del agua y dejarse reposar el tiempo que se requiere, en mg.
e.2) Fórmula para calcular el cambio del por ciento en la dimensión
En donde:
Li es la dimensión inicial, en mm; y
Lf es la dimensión final después de la inmersión, en mm.
Esta fórmula debe aplicarse para cada una de las características que se miden (diámetro interno, diámetro externo y espesor).
Al final de la prueba el espécimen no debe presentar:
i. Deformaciones permanentes o deterioros;
ii. Grietas;
iii. Fracturas;
iv. Degradación;
v. Aumento en dimensiones mayores que 3 % o disminuciones en dimensiones mayores que 1 %; y
vi. Pérdida en masa mayor que 10 %.
6.7 Informe de la prueba
El informe de la prueba debe contener como mínimo los datos siguientes:
a) Identificación del laboratorio de pruebas;
b) Responsable del laboratorio;
c) Identificación del equipo que se utiliza en las pruebas;
d) Reactivos que se utilizan para las pruebas;
e) Temperatura ambiente durante las pruebas;
f) Duración de la prueba en horas (cuando aplique);
g) Resultados que se obtienen de las pruebas;
h) Comentarios u observaciones sobre los resultados, si existen; y
i) Fecha o fechas de realización de las pruebas.
7. Marcado
7.1 En el producto
La conexión debe marcarse en alguna de las partes metálicas de forma permanente con la marca o símbolo del fabricante, importador, distribuidor o comercializador.
La conexión debe marcarse en el producto y/o por medio de etiquetas, como mínimo, con la información siguiente, en idioma español:
a) Nombre y dirección del fabricante, importador, distribuidor o comercializador;
b) Modelo del producto;
c) Longitud de la conexión, en centímetros o en metros;
d) Presión máxima de trabajo en MPa o kPa;
e) La leyenda en esencia, "Gas L.P.", "Gas Natural", "GLP", "GN";
f) Fecha de fabricación;
g) La leyenda HECHO EN MÉXICO o HECHO EN [país de origen], para la designación del país de origen, por ejemplo: HECHO EN ITALIA, HECHO EN DINAMARCA;
h) Contraseña oficial de cumplimiento con la presente Norma Oficial Mexicana, conforme a lo establecido en la NOM-106-SCFI-2000; y
i) Garantía.
7.2 En el empaque
El empaque, de acuerdo como se comercialice, debe marcarse en forma clara y, como mínimo, con la información siguiente, en idioma español:
a) Marca, nombre y dirección del fabricante, importador, distribuidor o comercializador;
b) Modelo del producto;
c) Longitud de la conexión, en centímetros o en metros;
d) La leyenda HECHO EN MÉXICO o HECHO EN [país de origen], para la designación del país de origen, por ejemplo: HECHO EN ITALIA, HECHO EN DINAMARCA;
e) Contraseña oficial de cumplimiento con la presente Norma Oficial Mexicana, conforme a lo establecido en la NOM-106-SCFI-2000; y
f) Cantidad de piezas.
En caso de que la conexión objeto de la presente Norma Oficial Mexicana se comercialice como parte de un kit de instalación, ésta debe cumplir con lo establecido en 7.1.
8. Procedimiento para la Evaluación de la Conformidad (PEC)
8.1 Muestreo
Para efectos de la evaluación de la conformidad, el muestreo está sujeto a lo dispuesto en la Tabla 12, seleccionando de manera aleatoria el lote y los especímenes para prueba.
TABLA 12-Especímenes que se requieren para las pruebas
| Prueba | Conexión | Observaciones |
| Tipo 1 | Tipo 2 | Tipo 3 I | Tipo 3 II | Tipo 4 |
| 6.2 Resistencia a la tensión | 3 | 3 | 3 | 3 | 3 | ----- |
| 6.3 Resistencia al momento de torsión de los conectores roscados | ----- | ----- | ----- | ----- | ----- | Utilizar los mismos especímenes de 6.2 |
| 6.4 Presión máxima de trabajo | 3 | 3 | 3 | 3 | 3 | ----- |
| 6.5 Resistencia hidrostática | ----- | ----- | ----- | ----- | ----- | Utilizar los mismos especímenes de 6.4 |
| 6.6 Variación de volumen y pérdida en la masa | ----- | ----- | ----- | ----- | ----- | Para esta prueba deben entregarse 5 especímenes de arosellos nuevos independientes a las piezas muestreadas, cuando aplique |
8.2. Procedimiento
El presente procedimiento es aplicable a las conexiones integrales y conexiones flexibles que se utilizan en las instalaciones de aprovechamiento de Gas L.P. o Gas Natural materia de esta Norma Oficial Mexicana, de fabricación nacional o extranjera, que se importen, distribuyan o comercialicen en los Estados Unidos Mexicanos.
8.2.1 Fase Preparatoria
El cumplimiento de las especificaciones descritas en la presente Norma Oficial Mexicana debe hacerse constar mediante certificado de la conformidad, emitido a partir de la evaluación de la conformidad que se realice a las conexiones integrales y conexiones flexibles que se utilizan en las instalaciones de aprovechamiento de Gas L.P. o Gas Natural. Dicho certificado podrá obtenerse a través de la DGN en términos de lo dispuesto en el numeral 8.2.2, inciso a) o, en su caso, de un organismo de certificación conforme al inciso b) del mismo numeral.
Los procedimientos de certificación de la conformidad que instrumenten los organismos de certificación con motivo de la presente Norma Oficial Mexicana estarán sujetos a la aprobación de la DGN.
El certificado de la conformidad a que se refiere el numeral anterior debe emitirse por cada modelo de conexiones integrales y conexiones flexibles que se utilizan en las instalaciones de aprovechamiento de Gas L.P. o Gas Natural, de acuerdo a la clasificación señalada en el numeral 4, y podrá incluir una familia de modelos conforme a lo siguiente:
Los modelos deben cumplir con cada uno de los criterios indicados a continuación:
a) Que sean del mismo tipo:
i. Conexión integral (cola de cochino).
ii. Conexión integral flexible.
iii. Conexión flexible de alta presión.
iv. Conexión flexible de baja presión.
v. Conexión punta POL.
b) Los diferentes modelos deben ser fabricados en la misma planta productiva;
c) Se permiten diferentes marcas, siempre y cuando se fabriquen por la misma planta productiva;
d) Se permiten variantes de componentes externos en cuanto a forma y diseño siempre y cuando sean del mismo material;
e) El ensamble formado por una manguera flexible tramada o trenzada/tubo, casquillos o férulas y conectores deben ser del mismo material utilizado en la fabricación;
f) Se permite la variación en la longitud de la conexión, según corresponda, siempre que las dimensiones de los conectores sean las mismas y que estén de acuerdo con las longitudes indicadas en el Tabla 4. Debe evaluarse la conexión que presente menor longitud.
g) Se permiten cambios estéticos, gráficos y variaciones de color.
No deben considerarse como modelos de productos para efectos de certificación a aquellos que no cumplan con uno o más de los criterios aplicables a la definición de familia de modelos del numeral 3.13.
Para efectos de certificación inicial se tendrá que enviar a pruebas de laboratorio el o los modelos más representativos de la familia de modelos propuesta.
Se considerará como modelo más representativo de la familia, aquel que cumpla con la mayor cantidad de características existentes en los demás modelos pertenecientes a la misma familia.
En caso de que algún modelo cuente adicionalmente con características diferentes, dicho modelo también debe ser sometido a pruebas de laboratorio.
El número de modelos que pertenezcan a una familia, para ser certificada, no está limitado siempre que cumplan con cada uno de los criterios aplicables e indicados en el presente numeral.
Cualquier controversia en la clasificación de familia de modelos será resuelta por la DGN.
8.2.2. Fase de Certificación
Para obtener el certificado de la conformidad de las conexiones integrales y conexiones flexibles que se utilizan en las instalaciones de aprovechamiento de Gas L.P. o Gas Natural, se estará a lo siguiente:
a) Para obtener el certificado de la conformidad por parte de la autoridad competente, el interesado debe obtener en el módulo de información de la autoridad competente, en su sitio de internet http://www.gob.mx/cms/uploads/attachment/file/13037/SE-04-005_Solicitud_de_certificacion.pdf en la delegación o subdelegación correspondiente, el formato de solicitud SE-04-005 "Certificación a Solicitud de Parte de Normas Oficiales Mexicanas competencia de la Secretaría de Economía" y/o a través de la página https://www.sinec.gob.mx, en la sección de Trámites. El interesado debe llenar la solicitud en original y copia y la acompañará de la documentación técnica correspondiente. Para tal efecto, debe cumplir con las especificaciones señaladas en la presente Norma Oficial Mexicana, incluyendo los planos o dibujos y especificaciones técnicas del modelo o de la familia de modelos de las conexiones integrales y conexiones flexibles que se utilizan en las instalaciones de aprovechamiento de Gas L.P. o Gas Natural.
En dichas especificaciones, se debe incluir la descripción y comprobación de la totalidad de los requisitos técnicos requeridos de acuerdo a su clasificación, incluyendo certificados, informes, reportes, lista de partes y componentes, memorias técnicas, fotografías, descripción de materiales, especificaciones del proceso de fabricación, propiedades, evidencia de información comercial, información de marcado y demás documentación que avale el cumplimiento con las especificaciones carentes de procedimiento técnico.
Los certificados de calidad deben contener como mínimo, nombre y dirección del fabricante, importador, distribuidor o comercializador, según corresponda, nombre y firma del responsable o representante legal, fecha y lote de fabricación, especificaciones y referencia a la normatividad aplicable.
El interesado debe obtener el listado completo de los laboratorios de prueba aprobados en el campo de aplicación de la NOM de que se trate, mismo que podrán consultar en los sitios de internet http://www.gob.mx/se/acciones-y-programas/competitividad-y-normatividad-normalizacion?state=published, y/o a través de la página https://www.sinec.gob.mx. El informe de resultados de las pruebas aplicables al producto correspondiente, tendrá una vigencia máxima de noventa días naturales a partir de la fecha de su emisión.
El interesado debe obtener información sobre el monto correspondiente al pago vigente, que debe hacer por concepto de productos y aprovechamientos para la certificación solicitada conforme al
pago señalado en el sitio de internet http://www.e5cinco.economia.gob.mx/swb/es/e5cinco/listadetramites_servicios, o la página de internet de la autoridad competente.
El interesado debe entregar en la oficialía de partes de la autoridad competente o en las delegaciones o subdelegaciones de la dependencia, el original de la solicitud, los documentos indicados en su instructivo, además de los documentos indicados de acuerdo al esquema de certificación que elija; o bien, los enviará por correo certificado o servicio de mensajería, siempre y cuando el particular haya cubierto el importe de ese servicio de mensajería.
b) Para obtener el certificado de la conformidad por parte de los organismos de certificación, el interesado, deberá contactar directamente a dichos organismos y cumplir con los requisitos correspondientes en los términos de los procedimientos de certificación de la conformidad señalados en el artículo 80 de la Ley. Los organismos de certificación podrán requerir documentación similar a la mencionada en el inciso a) del presente numeral;
c) Para obtener el certificado del sistema de control de la calidad, el interesado deberá contactar directamente a los organismos de certificación de sistemas de control de la calidad y cumplir con los requisitos aplicables a dicha certificación.
Los certificados de la conformidad son intransferibles y se otorgarán al fabricante, importador, distribuidor o comercializador de las conexiones integrales y conexiones flexibles que se utilizan en las instalaciones de aprovechamiento de Gas L.P. o Gas Natural, materia de esta Norma Oficial Mexicana, que lo solicite, previo cumplimiento de los requisitos a que se refieren los numerales 8.2.1, párrafo 3 y 8.2.2 del presente PEC.
8.2.3. Procedimientos y tipos de certificación
Los procedimientos para la certificación y verificación de la presente Norma Oficial Mexicana serán realizados conforme a las modalidades siguientes:
a) Certificación con verificación y seguimiento, mediante pruebas periódicas;
b) Certificación con verificación y seguimiento, mediante el sistema de control de la calidad de la línea de producción;
c) Certificación por lote.
La certificación por lote será posible, siempre y cuando haya una identificación única por cada modelo de producto que conforme dicho lote. Para la certificación por lote, es necesario realizar un muestreo previo para seleccionar la muestra de producto que será enviada a pruebas de laboratorio.
8.2.4. Vigencia del Certificado
La vigencia de los certificados de la conformidad será de acuerdo con las modalidades que se describen a continuación y estará sujeta al cumplimiento en todo momento de las especificaciones y disposiciones señaladas en la presente Norma Oficial Mexicana:
I. Un año a partir de la fecha de su emisión, para los certificados con verificación y seguimiento, mediante pruebas periódicas;
II. Tres años a partir de la fecha de emisión, para los certificados con verificación y seguimiento, mediante el sistema de control de la calidad;
III. Los certificados por lote sólo amparan la cantidad de conexiones integrales y conexiones flexibles que se utilizan en las instalaciones de aprovechamiento de Gas L.P. o Gas Natural que se fabriquen, comercialicen, importen, distribuyan o exporten, con base en dichos certificados, por lo que carecerán de vigencia. Los certificados deben indicar la cantidad de piezas del lote y su fecha o fechas de fabricación.
Las vigencias a que se refiere este numeral están sujetas al resultado de la verificación y, en su caso, del seguimiento correspondiente, en los términos establecidos en el numeral 8.2.7.
8.2.5. Ampliación, modificación o reducción del alcance del certificado de la conformidad de producto
Una vez otorgado el certificado de la conformidad de producto se puede ampliar, reducir o modificar su alcance, a petición del titular del certificado, siempre y cuando se demuestre que se cumple con los requisitos de la presente Norma Oficial Mexicana, mediante análisis documental y, de ser el caso, pruebas tipo.
El titular del certificado puede ampliar, modificar o reducir en los certificados de la conformidad de producto, modelos, marcas, especificaciones técnicas, entre otros, siempre y cuando se cumpla con los criterios generales en materia de certificación y correspondan a la misma familia de productos.
Los certificados de la conformidad de producto que se expidan por solicitud de ampliación serán vigentes hasta la misma fecha que los certificados de cumplimiento que correspondan.
Para ampliar, modificar o reducir el alcance del certificado de la conformidad de producto, se deben presentar los documentos siguientes:
a) Información técnica que justifique los cambios solicitados y que demuestre el cumplimiento con las especificaciones establecidas en la presente Norma Oficial Mexicana, y con los requisitos de agrupación de familia y con la modalidad de certificación correspondiente.
b) En caso de que el producto sufra alguna modificación, el titular del certificado debe notificarlo al organismo de certificación de producto correspondiente, para que se compruebe que continúa cumpliendo con la presente Norma Oficial Mexicana.
NOTA: Para propósitos de la evaluación de la conformidad de la presente Norma Oficial Mexicana, se establecen los criterios para la agrupación de modelos de productos similares como una familia de productos, mismos que podrán ser modificados o complementados mediante criterios generales en materia de certificación.
Los titulares deben informar por escrito cuando cese la relación con sus importadores, distribuidores y comercializadores para la cancelación de las ampliaciones de los certificados respectivos.
Las ampliaciones de titularidad de los certificados expedidos dentro de las modalidades mencionadas en los incisos a) y b) del numeral 8.2.3, tendrán como fecha de vencimiento la misma que la indicada en los certificados que dieron origen a éstos.
Para el caso de ampliación de titularidad en modalidad I, el ampliado debe contar con un sistema de control de la calidad de la línea de producción certificado, por lo que la verificación y seguimiento se realizará conforme a los requisitos de dicha modalidad.
Los certificados podrán ser cancelados de inmediato a petición del fabricante, importador, distribuidor o comercializador que solicitó el certificado, o bien, su ampliación. Cuando sea cancelado un certificado, las ampliaciones de los certificados y/o titularidad, según corresponda, serán igualmente canceladas. La vigencia de los certificados quedará sujeta al resultado de las verificaciones y, en su caso, del seguimiento correspondiente, así como a la evaluación del producto muestreado, conforme a lo dispuesto en este numeral y al numeral 8.2.7.
8.2.6. Producción
Las personas físicas o morales que cuenten con certificado de la conformidad de las conexiones integrales y conexiones flexibles que se utilizan en las instalaciones de aprovechamiento de Gas L.P. o Gas Natural, materia de esta Norma Oficial Mexicana, deben conservar los registros e informes de resultados de las pruebas referidas en los numerales 5 y 6.
8.2.7. Verificación y seguimiento
Los actos de verificación que se requieran llevar a cabo para evaluar la conformidad de las conexiones integrales y conexiones flexibles que se utilizan en las instalaciones de aprovechamiento de Gas L.P. o Gas Natural estarán a cargo de la DGN o los organismos de certificación correspondientes y serán realizados en términos de la Ley Federal sobre Metrología y Normalización, y su Reglamento. Dichos actos podrán realizarse mediante inspección visual y documental, mediante muestreo, mediciones y realización de pruebas, en términos de lo dispuesto en los numerales 5, 6, 7 y 8.1.
Los actos referidos en el párrafo anterior podrán realizarse en los lugares de fabricación, almacenaje, comercialización y/o venta de las conexiones integrales y conexiones flexibles que se utilizan en las instalaciones de aprovechamiento de Gas L.P. o Gas Natural, según corresponda.
De conformidad con las disposiciones jurídicas aplicables, los gastos que se originen por las verificaciones requeridas para llevar a cabo la evaluación de la conformidad con la presente Norma Oficial Mexicana, serán a cargo de la persona a quien se efectúen dichas verificaciones.
Las verificaciones de seguimiento serán realizadas por la DGN o el organismo de certificación y se programarán de común acuerdo con el titular del certificado. La periodicidad de estas verificaciones será de dos veces al año para la certificación con verificación mediante pruebas periódicas al producto y una vez al año para la certificación con verificación mediante el sistema de control de la calidad de línea de producción.
Para los certificados emitidos en la modalidad prevista en el inciso c) de 8.2.3, certificación por lote, no aplica verificación de seguimiento.
En el caso de certificados emitidos por la DGN, las verificaciones de vigilancia serán realizadas por la
DGN, además podrá realizar visitas de verificación con base en denuncias recibidas o como medida preventiva a posibles violaciones a la Ley, la presente Norma Oficial Mexicana y demás normativa aplicable, pudiendo auxiliarse de los laboratorios de pruebas y organismos de certificación.
Para fines de certificación y cuando en la verificación se requiera de muestreo y pruebas al producto, para la selección de la muestra, se aplicará el método siguiente:
a) Para cualquiera de las familias de modelos de los productos materia de esta Norma Oficial Mexicana, la muestra estará constituida conforme al numeral 8.1 de la presente Norma Oficial Mexicana;
b) El muestreo se realizará en la fábrica o bodega del titular del certificado o directamente en punto de venta. Para el caso de muestreo en punto de venta no se requiere un lote mínimo de especímenes;
c) La muestra seleccionada en la fábrica se podrá tomar de la línea de producción o del área de producto terminado.
Los resultados del informe de pruebas y de las verificaciones que se practiquen a las conexiones integrales y conexiones flexibles que se utilizan en las instalaciones de aprovechamiento de Gas L.P. o Gas Natural, materia de esta Norma Oficial Mexicana, serán tomados en cuenta por la DGN o por los organismos de certificación, para efectos de suspender, cancelar y/o mantener la vigencia del certificado de la conformidad correspondiente. En caso de que derivado de dichos resultados se demuestre cumplimiento con todas las especificaciones y requisitos establecidos en la presente Norma Oficial Mexicana, el titular del certificado podrá solicitar la emisión de un nuevo certificado por un período de vigencia igual al anteriormente otorgado, sujetándose a lo indicado en el numeral 8.2.2 del presente PEC utilizando los informes derivados de las verificaciones correspondientes.
8.2.8. Suspensión y cancelación de certificación de la conformidad
Sin perjuicio de las condiciones contractuales de la prestación del servicio de certificación, se deben aplicar los supuestos siguientes para suspender o cancelar un certificado de la conformidad del producto.
8.2.8.1 Se procederá a la suspensión del certificado:
a) Por incumplimiento con la NOM aplicable en aspectos de marcado o información requerida por la norma aplicable.
b) Cuando el seguimiento no pueda llevarse a cabo por causas imputables al titular del certificado.
c) Cuando el titular del certificado no presente al OCP el informe de pruebas derivado de los seguimientos 30 días naturales a partir de la fecha de emisión del informe de pruebas y dentro la vigencia del certificado.
d) Por cambios o modificaciones a las especificaciones o diseño de los productos certificados que no hayan sido evaluados por causas imputables al titular del certificado.
e) Cuando la dependencia lo determine con base en el artículo 112, fracción V de la Ley Federal sobre Metrología y Normalización y 102 de su Reglamento.
La suspensión debe ser notificada al titular del certificado, otorgando un plazo de 30 días naturales para hacer las aclaraciones pertinentes o subsanar las deficiencias del producto o del proceso de certificación. Pasado el plazo otorgado y en caso de que no se hayan subsanado los incumplimientos, la DGN procederá a la cancelación inmediata del certificado de la conformidad del producto.
8.2.8.2 Se procederá a la cancelación inmediata del certificado:
a) En su caso, por cancelación del certificado del sistema de control de la calidad de la línea de producción.
b) Cuando se detecte falsificación o alteración de documentos relativos a la certificación.
c) A petición del titular del certificado, siempre y cuando se hayan cumplido las obligaciones contractuales en la certificación, al momento en que se solicita la cancelación.
d) Cuando se incurra en declaraciones engañosas en el uso del certificado de la conformidad del producto.
e) Por incumplimiento con especificaciones de la NOM, que no sean aspectos de marcado o información.
f) Una vez notificada la suspensión, no se corrija el motivo de ésta, en el plazo establecido.
g) Cuando la dependencia lo determine con base en el artículo 112, fracción V de la Ley Federal sobre Metrología y Normalización y 102 de su Reglamento.
h) Se hayan efectuado modificaciones al producto sin haber notificado al organismo de certificación
correspondiente.
i) No se cumpla con las características y condiciones establecidas en el certificado de conformidad de producto.
j) El documento donde consten los resultados de la evaluación de la conformidad pierda su utilidad o se modifiquen o dejen de existir las circunstancias que dieron origen al mismo, previa petición de parte.
En todos los casos de cancelación se procede dar aviso a las autoridades correspondientes, informando los motivos de ésta. El organismo de certificación de producto mantendrá el expediente de los productos con certificados de la conformidad de producto cancelados por incumplimiento con la presente NOM.
Los organismos de certificación deben informar permanentemente a la DGN sobre los certificados de la conformidad que hayan otorgado, suspendido y/o cancelado.
8.2.9. Certificado del sistema de control de la calidad
En caso de pérdida, o suspensión de la vigencia del certificado del sistema de control de la calidad, el titular del certificado de la conformidad debe dar aviso inmediato al organismo de certificación y/o a la DGN, según corresponda.
En el caso de pérdida de la vigencia del certificado del sistema de control de la calidad, el certificado de la conformidad quedará cancelado a partir de la fecha de terminación de la auditoría realizada por el organismo de certificación de sistemas de control de la calidad.
Los organismos de certificación notificarán de inmediato a la DGN para los efectos a que hubiere lugar.
En caso de suspensión de la vigencia del certificado del sistema de control de la calidad, el certificado de la conformidad quedará suspendido por un período máximo de 30 días naturales a partir de la fecha de terminación de la auditoría realizada por el organismo de certificación de sistemas de control de la calidad. Si dentro del término anteriormente señalado se restablece la vigencia del certificado del sistema de control de la calidad, la vigencia del certificado de la conformidad se restablecerá hasta la fecha para la que originalmente fue otorgado. En caso contrario, dicho certificado quedará automáticamente cancelado y los organismos de certificación notificarán de inmediato a la DGN para los efectos a que hubiere lugar.
En ambos casos, el titular del certificado de la conformidad cancelado podrá solicitar la modalidad de certificación de la conformidad con verificación mediante pruebas periódicas a producto.
9. Vigilancia
La vigilancia de la presente Norma Oficial Mexicana estará a cargo de la Secretaría de Economía y de la Procuraduría Federal del Consumidor, conforme a sus respectivas atribuciones.
10. Concordancia con normas internacionales
Esta Norma Oficial Mexicana no es equivalente (NEQ) con ninguna Norma Internacional, por no existir esta última al momento de su elaboración.
11. Bibliografía
- NMX-Z-013-SCFI-2015, Guía para la estructuración y redacción de Normas (Cancela a la NMX-Z-013/1-1977), fecha de publicación en el Diario Oficial de la Federación el 2015-11-18.
- V-1:2013, Standard for Compressed Gas Cylinder Valve and Inlet Connections.
- UL 569:2009, Standard for pigtails and flexible hose connectors for LP-Gas.
TRANSITORIOS
Primero: La presente Norma Oficial Mexicana, una vez que sea publicada en el Diario Oficial de la Federación como norma definitiva, entrará en vigor a los 180 días naturales siguientes al día de su publicación.
Segundo: Los certificados de la conformidad vigentes respecto de la Norma Oficial Mexicana NOM-014-SESH-2013, Conexión integral y conexión flexible que se utilizan en instalaciones de aprovechamiento de Gas L.P. o Gas Natural. Especificaciones y métodos de prueba, que hayan sido emitidos con anterioridad a la fecha de entrada en vigor de la presente Norma Oficial Mexicana como definitiva, continuarán vigentes hasta que concluya su término, o hasta agotar inventario de los productos amparados por el certificado referido. La vigencia de dichos certificados no podrá exceder de un año contado a partir de su fecha de emisión.
Tercero: Los laboratorios de prueba y los organismos de certificación para producto podrán iniciar los trámites de acreditación en la presente Norma Oficial Mexicana contemplando las respectivas normas referidas en este documento, una vez que el Diario Oficial de la Federación publique la norma definitiva.
Ciudad de México, a 28 de agosto de 2017.- El Director General de Normas y Presidente del Comité Consultivo Nacional de Normalización de la Secretaría de Economía, Alberto Ulises Esteban Marina.- Rúbrica.