NORMA Oficial Mexicana NOM-200-SCFI-2017, Calentadores de agua de uso doméstico y comercial que utilizan como combustible Gas L.P. o Gas Natural.- Requisitos de seguridad, especificaciones, métodos de prueba, marcado e información comercial (cancela a la NOM-011-SESH-2012, Calentadores de agua de uso doméstico y comercial que utilizan como combustible Gas L.P. o Gas Natural.- Requisitos de seguridad, especificaciones, métodos de prueba, marcado e información comercial).

Al margen un sello con el Escudo Nacional, que dice: Estados Unidos Mexicanos.- Secretaría de Economía.- Dirección General de Normas.

NORMA OFICIAL MEXICANA NOM-200-SCFI-2017, "CALENTADORES DE AGUA DE USO DOMÉSTICO Y COMERCIAL QUE UTILIZAN COMO COMBUSTIBLE GAS L.P. O GAS NATURAL.- REQUISITOS DE SEGURIDAD, ESPECIFICACIONES, MÉTODOS DE PRUEBA, MARCADO E INFORMACIÓN COMERCIAL" (CANCELA A LA NOM-011-SESH-2012, CALENTADORES DE AGUA DE USO DOMÉSTICO Y COMERCIAL QUE UTILIZAN COMO COMBUSTIBLE GAS L.P. O GAS NATURAL.- REQUISITOS DE SEGURIDAD, ESPECIFICACIONES, MÉTODOS DE PRUEBA, MARCADO E INFORMACIÓN COMERCIAL).
ALBERTO ULISES ESTEBAN MARINA, Director General de Normas y Presidente del Comité Consultivo Nacional de Normalización de la Secretaría de Economía (CCONNSE), con fundamento en los artículos 34, fracciones II, XIII y XXXIII de la Ley Orgánica de la Administración Pública Federal; 39, fracción V, 40, fracciones II y XIII, 47, fracción III, de la Ley Federal sobre Metrología y Normalización, y 22 fracciones I, IV, IX, X y XXV del Reglamento Interior de esta Secretaría, y
CONSIDERANDO
Que con fecha 18 de diciembre de 2015 el Comité Consultivo Nacional de Normalización de la Secretaría de Economía, aprobó la publicación del Proyecto de Norma Oficial Mexicana PROY-NOM-200-SCFI-2015, CALENTADORES DE AGUA DE USO DOMÉSTICO Y COMERCIAL QUE UTILIZAN COMO COMBUSTIBLE GAS L.P. O GAS NATURAL.- REQUISITOS DE SEGURIDAD, ESPECIFICACIONES, MÉTODOS DE PRUEBA, MARCADO E INFORMACIÓN COMERCIAL, (CANCELA A LA NOM-011-SESH-2012, CALENTADORES DE AGUA DE USO DOMÉSTICO Y COMERCIAL QUE UTILIZAN COMO COMBUSTIBLE GAS L.P. O GAS NATURAL.- REQUISITOS DE SEGURIDAD, ESPECIFICACIONES, MÉTODOS DE PRUEBA, MARCADO E INFORMACIÓN COMERCIAL), la cual se realizó en el Diario Oficial de la Federación el 15 de diciembre de 2016, con objeto de que los interesados presentaran sus comentarios;
Que durante el plazo de 60 días naturales contados a partir del día siguiente de la fecha de publicación de dicho Proyecto de Norma Oficial Mexicana, la Manifestación de Impacto Regulatorio a que se refiere el artículo 45 de la Ley Federal sobre Metrología y Normalización estuvo a disposición del público en general para su consulta; y que dentro del mismo plazo, los interesados presentaron comentarios sobre el contenido del citado Proyecto de Norma Oficial Mexicana, mismos que fueron analizados por el grupo de trabajo, realizándose las modificaciones conducentes a éste;
Que con fecha 28 de agosto de 2017, el Comité Consultivo Nacional de Normalización de la Secretaría de Economía aprobó la norma referida;
Que la Ley Federal sobre Metrología y Normalización establece que las Normas Oficiales Mexicanas se constituyen como el instrumento idóneo para la protección de los intereses del consumidor, expide la siguiente: Norma Oficial Mexicana NOM-200-SCFI-2017 CALENTADORES DE AGUA DE USO DOMÉSTICO Y COMERCIAL QUE UTILIZAN COMO COMBUSTIBLE GAS L.P. O GAS NATURAL.- REQUISITOS DE SEGURIDAD, ESPECIFICACIONES, MÉTODOS DE PRUEBA, MARCADO E INFORMACIÓN COMERCIAL, (CANCELA A LA NOM-011-SESH-2012, CALENTADORES DE AGUA DE USO DOMÉSTICO Y COMERCIAL QUE UTILIZAN COMO COMBUSTIBLE GAS L.P. O GAS NATURAL.- REQUISITOS DE SEGURIDAD, ESPECIFICACIONES, MÉTODOS DE PRUEBA, MARCADO E INFORMACIÓN COMERCIAL), SINEC- 20170817135530852.
Ciudad de México, a 28 agosto de 2017.- Director General de Normas y Presidente del Comité Consultivo Nacional de Normalización de la Secretaría de Economía., Alberto Ulises Esteban Marina.- Rúbrica.
NORMA OFICIAL MEXICANA NOM-200-SCFI-2017 CALENTADORES DE AGUA DE USO DOMÉSTICO Y
COMERCIAL QUE UTILIZAN COMO COMBUSTIBLE GAS L.P. O GAS NATURAL.- REQUISITOS DE
SEGURIDAD, ESPECIFICACIONES, MÉTODOS DE PRUEBA, MARCADO E INFORMACIÓN COMERCIAL
(CANCELA A LA NOM-011-SESH-2012, CALENTADORES DE AGUA DE USO DOMÉSTICO Y
COMERCIAL QUE UTILIZAN COMO COMBUSTIBLE GAS L.P. O GAS NATURAL.- REQUISITOS DE
SEGURIDAD, ESPECIFICACIONES, MÉTODOS DE PRUEBA, MARCADO E INFORMACIÓN
COMERCIAL)
Prefacio
La elaboración de la presente Norma Oficial Mexicana es competencia del Comité Consultivo Nacional de Normalización de la Secretaría de Economía (CCONNSE) integrado por:
·   Secretaría de Economía.
·   Secretaría de Salud.
·   Secretaría del Trabajo y Previsión Social.
·   Secretaría de Medio Ambiente y Recursos Naturales.
·   Secretaría de Agricultura, Ganadería, Desarrollo Rural, Pesca y Alimentación.
·   Secretaría de Comunicaciones y Transportes.
·   Secretaría de Turismo.
·   Secretaría de Desarrollo Social.
·   Secretaría de Gobernación.
·   Secretaría de Energía.
·   Centro Nacional de Metrología.
·   Comisión Federal de Competencia Económica.
·   Procuraduría Federal del Consumidor.
·   Comisión Nacional del Agua.
·   Instituto Mexicano del Transporte.
·   Cámara Nacional de la Industria de Transformación.
·   Confederación de Cámaras Nacionales de Comercio, Servicios y Turismo.
·   Confederación de Cámaras Industriales de los Estados Unidos Mexicanos.
·   Asociación Nacional de Tiendas de Autoservicio y Departamentales.
·   Asociación Nacional de Importadores y Exportadores de la República Mexicana.
·   Cámara Nacional de Comercio de la Ciudad de México.
·   Consejo Nacional Agropecuario.
·   Universidad Nacional Autónoma de México.
·   Instituto Politécnico Nacional.
Con objeto de elaborar la presente Norma, se constituyó un Grupo de Trabajo con la participación voluntaria de los siguientes actores:
·   Asociación de Normalización y Certificación, A.C.
·   Asociación Nacional de Fabricantes de Aparatos Domésticos, A.C.
·   Calentadores de América, S.A. de C.V.
·   CAMOMEX, S.A. de C.V.
·   Desarrollo de Productos, S.A. de C.V.
·   Empresa Mexicana de Manufactura, S.A. de C.V.
 
·   Equipos Metalcerámicos Mexicanos, S.A. de C.V.
·   Gilotronics, S.A. de C.V.
·   IUSA, Industrias Unidas, S.A. de C.V.
·   Laboratorio CALOREX, Grupo Calorex, S.A. de C.V.
·   Laboratorio de Ensayos DELTA
·   Laboratorio de Ensayos a Gasodomésticos
·   Laboratorio de Ensayos Industrias Lennox de México, S.A. de C.V.
·   MABE, S.A. de C.V.
·   Manufacturera General de Metales RS, S.A. de C.V.
·   Mex Top, S.A. de C.V.
·   Pruebas especializadas SIGMA, S.A. de C.V.
·   Rheem de México, S.A. de C.V.
·   Robert Bosch, S. de R.L. de C.V.
·   Whirlpool México, S.A. de C.V.
Índice del contenido
1.     Objetivo y campo de aplicación
2.     Referencias Normativas
3.     Términos, definiciones y términos abreviados
4.     Clasificación
5.     Especificaciones
6.     Instalación y equipo para las pruebas
7.     Métodos de prueba
8.     Marcado e información comercial
9.     Protección del producto
10.   Procedimiento para la Evaluación de la Conformidad (PEC)
11.   Muestreo
12.   Sanciones
13.   Vigilancia
14.   Concordancia con Normas Internacionales
15.   Bibliografía
TRANSITORIOS
APÉNDICE A. (Normativo)
1. Objetivo y campo de aplicación
Esta Norma Oficial Mexicana establece los requisitos mínimos de seguridad, especificaciones, métodos de prueba, marcado e información comercial que deben cumplir los calentadores de agua que utilizan como combustible Gas L.P. o Gas Natural con una carga térmica no mayor que 108 kW, que proporcionan agua caliente en fase líquida, los cuales se importan o comercializan en el territorio de los Estados Unidos Mexicanos.
Asimismo, esta Norma Oficial Mexicana establece el procedimiento para la evaluación de la conformidad correspondiente.
2. Referencias Normativas
Para los fines de esta Norma Oficial Mexicana, es indispensable aplicar las Normas Oficiales Mexicanas y las Normas Mexicanas que se listan a continuación o las que las sustituyan, ya que constituyen disposiciones de esta Norma Oficial Mexicana:
2.1 Norma Oficial Mexicana NOM-008-SCFI-2002, Sistema general de unidades de medida, fecha de publicación en el Diario Oficial de la Federación el 2002-11-27.
2.2 Norma Oficial Mexicana NOM-106-SCFI-2000, Características de diseño y condiciones de uso de la contraseña oficial (cancela a la NOM-106-SCFI-2000, publicada el 2 de noviembre y el 11 de diciembre de 2000), fecha de publicación en el Diario Oficial de la Federación el 2001-02-02.
2.3 Norma Mexicana NMX-Z-012/1-1987, Muestreo para la inspección por atributos - Parte 1: Información general y aplicaciones, fecha de publicación en el Diario Oficial de la Federación el 1987-10-28.
2.4 Norma Mexicana NMX-Z-012/2-1987, Muestreo para la inspección por atributos - Parte 2: Método de muestreo, tablas y gráficas, fecha de publicación en el Diario Oficial de la Federación el 1987-10-28.
2.5 Norma Mexicana NMX-Z-012/3-1987, Muestreo para la inspección por atributos - Parte 3: Regla de cálculo para la determinación de planes de muestreo, fecha de publicación en el Diario Oficial de la Federación el 1987-07-31.
2.6 Norma Mexicana NMX-X-016-SCFI-2013, Industria del Gas - Termopares y pilotos que se utilizan en sistemas de seguridad contra falla de flama - Especificaciones y métodos de prueba (cancela a la NMX-X-016-SCFI-2006), fecha de publicación en el Diario Oficial de la Federación el 2013-07-24.
2.7 Norma Mexicana NMX-X-018-SCFI-2013, Industria del Gas - Válvulas termostáticas y semiautomáticas con sistema de seguridad contra falla de flama, para usarse en calentadores de agua y calefactores de ambiente que utilizan como combustible Gas L.P. o Gas Natural - Especificaciones y métodos de prueba (cancela a la NMX-X-018-SCFI-2006), fecha de publicación en el Diario Oficial de la Federación el 2013-07-24.
3. Términos, definiciones y términos abreviados
Para la correcta aplicación de ésta Norma Oficial Mexicana se establecen las siguientes definiciones:
3.1 agua fría
Agua a temperatura ambiente para alimentación del calentador, que proviene de una fuente común de abastecimiento (por ejemplo: cisterna, red, tinaco, entre otros).
3.2 calentador
Aparato o equipo que está diseñado para calentar agua, la cual se utiliza bajo demanda hidrosanitaria, que utiliza como combustible Gas L.P. o Gas Natural, y cuenta con control de corte automático por temperatura o por presión/flujo.
3.3 calentador de almacenamiento
Aquel en el que el agua se calienta en un depósito de almacenamiento. No requiere flujo de agua para encender, ya que su principio de funcionamiento es por diferencial de temperatura en el depósito, y está provisto de una válvula termostática (Termostato) o control electrónico de temperatura.
3.4 calentador de condensación
Calentador de tiro forzado en el que el vapor de agua contenido en los productos de combustión se condensa parcialmente con el fin de calentar o precalentar agua utilizando el calor latente de dicho vapor de agua.
3.5 calentador de rápida recuperación
Aquel en el que el agua se calienta de manera continua a una temperatura uniforme, el calentamiento se realiza de forma directa al paso del agua por uno o más intercambiadores de calor, los cuales forman parte o están contenidos en uno o más depósitos. No requiere presión / flujo de agua para encender, ya que su principio de funcionamiento es por diferencial de temperatura y está provisto de una válvula termostática (Termostato) o control electrónico de temperatura.
3.6 calentador de tiro forzado
Calentador provisto con ventilador para la entrada de aire y/o la evacuación de gases producto de la combustión.
3.7 calentador instantáneo
 
Aquel en el que el agua se calienta de manera continua a una temperatura uniforme, al paso del agua por un serpentín, requiere presión/flujo de agua para funcionar.
3.8 cámara de combustión
Espacio del calentador donde se lleva a cabo la combustión.
3.9 capacidad volumétrica
Cantidad de agua que almacena el depósito del calentador de almacenamiento.
3.10 carga térmica
Cantidad de calor que absorbe una determinada masa de agua en el calentador para incrementar su temperatura en un cierto intervalo de tiempo.
3.11 certificado de la conformidad
Al documento mediante el cual la DGN o los organismos de certificación para producto hacen constar que los calentadores de uso doméstico y/o comercial que utilizan como combustible Gas L. P. o Gas Natural cumplen con las especificaciones que se establecen en esta Norma Oficial Mexicana.
3.12 certificado del sistema de control de la calidad
Al documento que otorga un organismo de certificación de sistema de control de la calidad establecido en términos de la Ley, a efecto de hacer constar ante la DGN o los organismos de certificación para producto, que el sistema de control de la calidad del proceso de fabricación del producto contempla procedimientos de verificación para el cumplimiento con esta Norma Oficial Mexicana.
3.13 colector de gases
Elemento del calentador que concentra los gases producto de la combustión para que sean conducidos al exterior.
3.14 combustible
Material que durante el proceso de oxidación es capaz de liberar energía en forma de calor y luz.
3.15 combustión
Reacción de oxidación de un combustible durante la cual se producen calor y luz.
3.16 control para el suministro de gas
Dispositivo que permite el flujo de gas al piloto o al quemador, que se efectúa mediante dispositivos de obturación que pueden ser accionados eléctricamente desde un módulo de control o mecánicamente por la demanda de agua.
3.17 cuerpo exterior
Camisa, forro de vista o acabado exterior del calentador.
3.18 cuerpo interior del calentador de rápida recuperación
Conjunto conformado al menos con un depósito y uno o varios intercambiadores de calor para incrementar y mantener la temperatura del agua.
3.19 cuerpo interior del calentador instantáneo
Conjunto conformado al menos con un sistema valvular y control para el suministro de gas, para incrementar la temperatura del agua.
3.20 flujo automático de agua y/o flujo automático de gas (modulante)
Calentador de agua en el que varía el flujo de agua y/o de gas por la acción de un(os) dispositivo(s) automático(s) incorporado(s) al aparato.
3.21 flujo de agua variable y flujo de gas variable
Calentador de agua en el que se puede variar el flujo de gas y de agua por la acción de dispositivos manuales incorporados al aparato.
3.22 flujo de agua fijo y flujo de gas variable
Calentador de agua en el que se puede variar el flujo de gas por la acción de un dispositivo manual incorporado al aparato.
 
3.23 deflector
Dispositivo que evita la salida directa al ambiente de los gases producto de la combustión.
3.24 depósito
Parte del calentador donde se almacena el agua.
3.25 difusor o corta tiro
Dispositivo que retarda la salida de los gases producto de la combustión, que evita un tiro inverso y el exceso de tiro de la chimenea.
3.26 DGN
Dirección General de Normas de la Secretaría de Economía.
3.27 esprea
Dispositivo con un orificio de dimensiones conocidas, a través del cual se suministra el combustible.
3.28 familia de modelos
Al grupo de modelos de un mismo producto, referidos en esta Norma Oficial Mexicana como del mismo tipo, en el que las variantes son de carácter estético o de apariencia, pero conservan las características de funcionamiento que aseguran el cumplimiento de esta Norma Oficial Mexicana.
3.29 informe de pruebas
Al documento que emite un laboratorio de pruebas, mediante el cual se presenta ante la DGN o los organismos de certificación para producto los resultados obtenidos de las pruebas realizadas a los calentadores de uso doméstico y/o comercial que utilizan como combustible Gas L. P. o Gas Natural.
El informe de pruebas tendrá la vigencia de noventa días naturales a partir de la fecha de su emisión para efectos de la solicitud de certificación en los organismos de certificación para producto.
3.30 intercambiador de calor
Sistema para transferir el calor, producto de la combustión, al agua a calentar.
3.31 laboratorio de pruebas
Al laboratorio de pruebas acreditado y aprobado conforme lo establece la Ley Federal sobre Metrología y Normalización, y su Reglamento.
3.32 laboratorio de pruebas extranjero
A aquel laboratorio de pruebas que se encuentra fuera del territorio nacional y el cual está acreditado por el organismo de acreditación de su país y cuenta con reconocimiento mutuo ante nuestro organismo nacional de acreditación, adicionalmente debe estar acreditado y aprobado para la presente Norma Oficial Mexicana.
3.33 Ley
A la Ley Federal sobre Metrología y Normalización y su Reglamento.
3.34 muestreo de producto
Al procedimiento mediante el cual se seleccionan los calentadores de agua de uso doméstico y comercial que utilizan como combustible Gas L. P. o Gas Natural, con el fin de someterlos a las pruebas que se establecen en esta Norma Oficial Mexicana.
3.35 Organismo de Certificación de Producto (OCP)
A la persona moral acreditada y aprobada conforme a la Ley, que tenga por objeto realizar funciones de certificación de los calentadores de uso doméstico y/o comercial que utilizan como combustible Gas L.P. o Gas Natural.
3.36 organismo de certificación de sistemas de control de la calidad
A la persona moral acreditada conforme a la Ley, que tenga por objeto realizar funciones de certificación de sistemas de control de la calidad de la línea de producción de los calentadores de uso doméstico y/o comercial que utilizan como combustible Gas L. P. o Gas Natural, y que tenga los procedimientos de verificación de conformidad con lo dispuesto en la Ley.
3.37 PEC
 
Procedimiento para la evaluación de la conformidad para determinar el grado de cumplimiento con esta Norma Oficial Mexicana.
3.38 piloto
Dispositivo donde se genera la flama que enciende el (los) quemador(es) principal(es) y puede mantener caliente el termopar.
3.39 presión de prueba hidrostática
Presión a la que debe efectuarse la prueba hidrostática a los calentadores a fin de valorar su cumplimiento normativo.
3.40 presión máxima de trabajo
Presión máxima que soporta(n) el (los) depósito(s) o el cuerpo interior del calentador.
3.41 NOM
Norma Oficial Mexicana
3.42 quemador
Dispositivo que se utiliza para efectuar la mezcla aire-combustible y realizar la combustión, con el fin de aprovechar el calor liberado.
3.43 serpentín
Tubo o arreglo de tubos y sus accesorios dentro del cual fluye el agua a calentar, y que se encuentra en contacto con la corriente de gases de combustión.
3.44 sistema valvular
Sistema integrado por válvulas y serpentín en un calentador instantáneo.
3.45 termopar
Dispositivo que consta de una o varias uniones de dos o más metales distintos y que tiene la característica de generar una fuerza electromotriz que se debe a una diferencia de temperatura en sus extremos.
3.46 tiempo de recuperación
Tiempo que requiere el calentador de almacenamiento para elevar la temperatura del agua que se almacena en el depósito de 25 °C a 50 °C (298.15 K a 323.15 K).
3.47 tiro forzado
Sistema de calentamiento de aire en el cual la circulación del mismo se realiza por un ventilador.
3.48 tubo de inmersión o vena
Tubo que se utiliza para hacer llegar el agua fría al fondo del depósito, además de realizar el efecto antisifón.
3.49 tubo de tiro
Tubo metálico que, como parte del depósito, transmite al agua el calor de los gases producto de la combustión, mientras los conduce hacia el exterior.
3.50 válvula para drenado
Válvula que se utiliza para permitir la salida de agua junto con los sedimentos o partículas sólidas que se contienen en el agua y evitar la acumulación de éstos.
3.51 válvula termostática (termostato)
Válvula automática que controla el suministro de gas al (los) quemador(es) o piloto(s), manteniendo la temperatura del agua entre límites preestablecidos. Consta básicamente de un sistema de seguridad contra falla de flama, un dispositivo de control y dirección de gas, válvula principal y un sensor de temperatura.
Puede contar además con reguladores de presión, tanto para el(los) quemador(es) como para el(los) piloto(s) y con un interruptor eléctrico o sensor de seguridad para sobrecalentamiento.
3.52 verificación
A la constatación ocular o comprobación a la que están sujetos los calentadores de uso doméstico y/o comercial que utilizan como combustible Gas L. P. o Gas Natural, mediante muestreo, medición, pruebas de laboratorio, o revisión de documentos, que se realizan para evaluar la conformidad con la presente Norma Oficial Mexicana, en un momento determinado.
3.53 seguimiento
Evaluación de los servicios, procesos y productos mediante verificación ocular, muestreo, pruebas tipo, investigación de campo o evaluación del sistema de control de la calidad, posterior a la expedición del certificado de la conformidad del producto, para comprobar el cumplimiento con la presente Norma Oficial Mexicana, así como las condiciones bajo las cuales se otorgó inicialmente dicho certificado.
4. Clasificación
Los calentadores objeto de la presente Norma Oficial Mexicana se clasifican de la manera siguiente:
4.1 De acuerdo con su carga térmica
a)    Doméstico: cuya carga térmica es menor o igual que 35 kW.
b)    Comercial: cuya carga térmica es mayor que 35 kW y menor o igual que 108 kW.
4.2 De acuerdo con su funcionamiento
a)    Calentador de almacenamiento.
b)    Calentador de rápida recuperación.
c)    Calentador instantáneo:
i.    Flujo de agua fijo y flujo de gas variable.
ii.   Flujo de agua variable y flujo de gas variable.
iii.   Flujo automático de agua y flujo automático de gas.
4.3 De acuerdo con su construcción
Para el caso de los calentadores de almacenamiento y rápida recuperación se sub clasifican de la manera siguiente:
a)    Con depósito galvanizado.
b)    Con depósito porcelanizado.
c)    Con depósito de acero inoxidable, cobre o aluminio.
Cualquier calentador diferente a la clasificación anterior debe cumplir las especificaciones que le apliquen y los métodos de prueba que puedan efectuarse a dicho aparato.
Cualquier controversia en la clasificación de los calentadores de agua será resuelta por la DGN.
5. Especificaciones
5.1 Tubo de inmersión o vena
Los calentadores de almacenamiento y de rápida recuperación deben contar con un tubo de inmersión o vena, metálico o de plástico, excepto cuando la alimentación del agua fría sea por el fondo o por la parte lateral inferior. Este tubo de inmersión o vena debe cumplir con lo siguiente:
a)    Colocarse en la entrada de agua fría.
b)    Contar con uno o más orificios de efecto antisifón.
Estas características deben comprobarse visualmente.
5.2 Tiempo de recuperación
El tiempo de recuperación de los calentadores de almacenamiento debe cumplir con lo que se indica en la Tabla 1, o si es menor, de acuerdo a las especificaciones del fabricante. Esto se comprueba con el método de prueba descrito en el numeral 7.2.
TABLA 1-Tiempo máximo de recuperación
Capacidad (L)
Tiempo (min)
Menor o igual que 25
21
Mayor que 25 y hasta 38
22
Mayor que 38 y hasta 46
24
Mayor que 46 y hasta 77
30
Mayor que 77 y hasta 100
42
Mayor que 100 y hasta 133
56
Mayor que 133 y hasta 220
68
Mayor que 220 y hasta 280
75
Mayor que 280
85
5.3 Resistencia hidrostática
El depósito del calentador de almacenamiento debe soportar una presión hidrostática mínima de 1.27 MPa (12.95 kgf/cm2) y el o los depósitos del calentador de rápida recuperación, así como el sistema valvular del calentador instantáneo, deben soportar una presión hidrostática mínima de 0.686 MPa (7 kgf/cm2), sin presentar fugas de agua ni deformaciones permanentes. Esto se comprueba conforme al método de prueba descrito en el numeral 7.3.
5.4 Válvula termostática (Termostato)
Los calentadores, según sea el caso, deben estar provistos de las válvulas y dispositivos de control de gas necesarios para el funcionamiento normal de los mismos, conforme a la presión de alimentación de gas especificada por el fabricante y a las características del propio calentador, debiendo además cumplir con las siguientes condiciones:
a)    Situarse de forma que su posición, funcionamiento y accesibilidad no sean alterados por las maniobras a las que están sometidas durante la operación normal del calentador.
b)    Instalarse de forma que sea imposible un desplazamiento involuntario en relación con el circuito de alimentación de gas.
Las válvulas termostáticas que utilicen los calentadores, materia de esta Norma Oficial Mexicana, deben cumplir con la Norma Mexicana NMX-X-018-SCFI-2013, esto se comprueba mediante la presentación del certificado de la conformidad, en los términos de lo dispuesto en el PEC a que se refiere el numeral 10 de la presente Norma Oficial Mexicana.
En el diseño y fabricación de calentadores no se permite el uso de válvulas semiautomáticas.
5.5 Termopar
En el caso de calentadores que cuenten con termopar, éste debe cumplir con las especificaciones descritas en la norma mexicana NMX-X-016-SCFI-2013, esto se comprueba mediante la presentación del certificado de la conformidad, en términos de lo dispuesto en el PEC a que se refiere el numeral 10.
5.6 Piloto
Cuando el calentador cuente con piloto(s), éste(os) debe(n) garantizar el encendido rápido y seguro del (los) quemador(es). Todos los componentes del piloto deben estar diseñados para evitar ser dañados o desplazados accidentalmente durante el funcionamiento normal del aparato. Las posiciones relativas del piloto y del quemador deben estar suficientemente bien determinadas para permitir un buen funcionamiento del conjunto. Esta condición se comprueba visualmente.
El piloto debe cumplir con las especificaciones descritas en la norma mexicana NMX-X-016-SCFI-2013, esto se comprueba mediante la presentación del certificado de la conformidad, en términos de lo dispuesto en el PEC a que se refiere el numeral 10.
5.7 Espreas
Las espreas o conjunto de espreas y portaespreas (manifold) deben ser desmontables y tener un medio indeleble de identificación de su orificio. No se permite el uso de espreas con orificio regulable o variable. El cumplimiento de estas especificaciones debe comprobarse por inspección visual.
5.8 Combustión
La concentración máxima de monóxido de carbono (CO) que se produce durante la combustión y que se mide conforme a las Figuras 5 a), 5 b) o 5 c), según corresponda, debe cumplir con lo indicado en la Tabla 2 en las condiciones de presión normal y presión aumentada. Esto se comprueba con el método de prueba descrito en el numeral 7.4.
TABLA 2-Concentración máxima de CO
Condiciones de
prueba
Presión de prueba
Concentración mg/g
(partes por millón)
Gas L.P. kPa (gf/cm2)
Con una tolerancia de ±
2%
Gas Natural kPa
(gf/cm2)
Con una tolerancia de ±
2%
1. Normal
2.74 (27.94)
1.76 (17.95)
0.018 (180)
2. Aumentada
3.23 (32.94)
2.25 (22.94)
0.040 (400)
5.9 Resistencia de las flamas a las corrientes de aire
a)    Al someterse el calentador, funcionando únicamente con el (los) piloto(s) encendido(s), a una corriente de aire con una velocidad de 21 km/h ± 2 km/h, la(s) flama(s) no debe(n) extinguirse.
b)    Al someterse el calentador, funcionando con el (los) piloto(s) y el (los) quemador(es) encendido(s), a una corriente de aire con una velocidad de 21 km/h ± 2 km/h, las flamas no deben extinguirse ni salir de la cámara de combustión.
Estas condiciones se comprueban con el método de prueba descrito en el numeral 7.5.
5.10 Carga térmica
La carga térmica de los calentadores debe cumplir con lo que establezca el fabricante. Esto se constata con el método de prueba descrito en los numerales 7.2 ó 7.7, según corresponda.
5.11 Temperatura de los gases de combustión
La temperatura de los gases de combustión no debe exceder de 573.15 K (300 °C). Esta condición se comprueba con el método de prueba descrito en el numeral 7.4.
5.12 Difusor o corta tiro
Los calentadores deben contar con un difusor o corta tiro. Esta condición se comprueba visualmente.
5.13 Temperatura de las partes que se operan manualmente
La temperatura de las partes que se operan manualmente no debe exceder de 328.15 K (55 °C). Esta condición se comprueba conforme al numeral 7.4.
5.14 Materiales
Todos los materiales que se utilizan en la fabricación de los calentadores, incluyendo componentes y accesorios, no deben deformarse, fundirse ni mostrar fugas de gas o agua durante su funcionamiento normal. Estas condiciones deben comprobarse visualmente durante las pruebas.
5.15 Control(es) de operación y drenado
Los calentadores deben disponer de uno o más controles para su operación y de una o más válvulas para drenado u otro(s) dispositivo(s) para dicho fin, según corresponda al diseño del calentador, los cuales deben ubicarse en un lugar accesible. Esta condición se comprueba visualmente.
5.16 Tuberías y conexiones
Las tuberías y conexiones para gas deben ser de acero al carbón, cobre, latón o aluminio y estar diseñadas para soportar las presiones de uso del calentador, lo cual se comprueba mediante la ejecución de los diferentes ensayos realizados al calentador y que se incluyen en esta Norma Oficial Mexicana.
Los tubos cortos (niples) y coples para agua, deben ser de cobre o acero, contar con cuerda tipo NPT y soportar una presión hidrostática mínima de 1.27 MPa (12.95 kgf/cm2) para los calentadores de almacenamiento y de 0.686 MPa (7 kgf/cm2) para los calentadores de rápida recuperación e instantáneos.
Esto se comprueba conforme a lo descrito en el numeral 7.3.
5.17 Aislamiento térmico
Los calentadores de almacenamiento y de rápida recuperación deben contar con aislamiento térmico, por ejemplo, fibra de vidrio, poliuretano, fibra cerámica, entre otros, comprobándose visualmente. Para el cumplimiento de esta condición, el aire no se considera como aislamiento térmico. En el caso de los calentadores instantáneos es optativo contar con aislamiento térmico.
5.18 Protección contra la corrosión
 
El área del depósito para agua del calentador de almacenamiento y de rápida recuperación que se encuentra en contacto con dicho líquido, debe protegerse contra la corrosión, ya sea con un galvanizado o un porcelanizado. Esta condición se comprueba conforme a lo descrito en el numeral 7.6, con excepción de los calentadores con depósito de acero inoxidable (únicamente serie 300), cobre o aluminio.
Las propiedades del acero inoxidable, cobre o aluminio deben comprobarse mediante la presentación del certificado de calidad de fabricante, cuyo contenido sea en idioma español o en su defecto en idioma inglés, en términos de lo dispuesto en el PEC a que se refiere el numeral 10.
5.18.1 Los calentadores de almacenamiento y de rápida recuperación, con depósito(s) galvanizado(s), deben cumplir con lo siguiente:
a)    Ser galvanizado(s) por inmersión en caliente.
b)    El material del galvanizado debe contar con una masa mínima de zinc de 0.448 kg/m2.
       Estas condiciones se comprueban mediante la presentación de los certificados de calidad o documentos correspondientes, en términos de lo dispuesto en el PEC a que se refiere el numeral 10.
c)    El espesor mínimo de la película de galvanizado debe ser 0.0635 mm, comprobándose conforme a lo establecido en el numeral 7.6.
5.18.2 Los calentadores de almacenamiento y de rápida recuperación, con depósito(s) porcelanizado(s), deben cumplir con lo siguiente:
a)    Ser porcelanizado(s) en su interior.
b)    Tener un espesor mínimo de 0.15 mm de porcelanizado, comprobándose de acuerdo al numeral 7.6.
c)    Contar con ánodo de sacrificio.
5.19 Capacidad volumétrica
La capacidad de almacenamiento de agua en el depósito del calentador de almacenamiento debe ser la marcada por el fabricante con una tolerancia de ± 5%. Esto se comprueba conforme a lo señalado en el numeral 7.1.
5.20 Especificaciones particulares para los calentadores de rápida recuperación e instantáneos:
5.20.1 Capacidad de calentamiento
La capacidad de calentamiento debe permitir elevar la temperatura del agua fría como mínimo 25 K (25 °C) proporcionando el flujo de agua que se establece en la placa o etiqueta de acuerdo con las especificaciones del fabricante. El flujo de agua no debe ser menor que 2 L/min. Esta condición se demuestra conforme al método de prueba descrito en el numeral 7.7.
5.20.2 Control para el suministro de gas
El calentador instantáneo debe estar provisto de un control para el suministro de gas que soporte una presión mínima de 0.686 MPa (7 kgf/cm2) en sus partes que están en contacto con el agua, sin presentar fugas; esto se comprueba de acuerdo con el método descrito en el numeral 7.3. Las partes que están en contacto con el gas (por ejemplo: Válvula de Gas), deben soportar una presión mínima de 3.4 kPa (35 gf/cm2); esta condición se comprueba mediante la ejecución de los diferentes ensayos realizados al calentador y que se incluyen en esta Norma Oficial Mexicana.
5.20.3 Presión de apertura del control para suministro de gas
El calentador instantáneo debe abrir su control para el suministro de gas de acuerdo con la presión de agua menor o igual a la que especifique el fabricante. Esto se verifica con el método de prueba descrito en el numeral 7.9.
5.21 Equipamiento eléctrico y electrónico
Cuando el calentador cuente con componentes o partes eléctricas o electrónicas, éstas deben cumplir con las especificaciones correspondientes, lo cual se comprueba mediante la presentación del certificado de calidad o documento análogo, en términos de lo dispuesto en el PEC a que se refiere el numeral 10.
5.22 Sistema de corte de gas
Los Calentadores de tipo instantáneo deben contar con al menos dos válvulas integradas o por separado para el corte de gas hacia el quemador, debiendo asegurar que, en caso de que cualquiera de ellas llegase a no funcionar, la otra actúe suspendiendo el flujo de gas y, por tanto, apagando el equipo.
 
El circuito de gas debe ser hermético, y la fuga de aire no debe ser mayor que:
a)    Para las válvulas 1 y 2: 0,06 dm3/h.
b)    Para cada una de las válvulas adicionales (cuando aplique): 0,06 dm3/h.
c)    Para el total de las válvulas del subensamble para el corte de gas: 0,14 dm3/h.
Esto se comprueba conforme a lo señalado en el numeral 7.9, aplicado a un subensamble (dos válvulas integradas o por separado) para el corte de gas, que debe proporcionar el solicitante.
Los calentadores del tipo instantáneo deben contar con sensores que aseguren que el equipo deje de funcionar cuando exista:
a)    Ausencia de flama en el quemador.
b)    Sobre temperatura de agua caliente.
c)    Interrupción de flujo de agua.
6. Instalación y equipo para las pruebas
Las pruebas establecidas en la presente Norma Oficial Mexicana deben realizarse utilizando los gases de prueba que se especifican a continuación:
a)    Tratándose de calentadores que utilizan Gas L. P. como combustible, debe utilizarse propano con una porción molar mínima de 95% (certificada).
b)    Tratándose de calentadores que utilizan Gas Natural como combustible, debe utilizarse metano con una porción molar mínima de 95% (certificada).
c)    Si se utiliza Gas L.P. debe tener un poder calorífico inferior de 93 MJ/m3 ± 2 MJ/m3.
d)    Si se utiliza Gas Natural debe tener un poder calorífico inferior de 34 MJ/ m3 ± 2 MJ/ m3.
Para los incisos a) y b) debe presentarse un certificado de análisis del gas, para comprobar la porción molar mínima.
Para determinar el poder calorífico previsto en los incisos c) y d) debe utilizarse cromatógrafo, calorímetro u otro analizador.
Cuando se utilice cromatógrafo o calorímetro debe determinarse el poder calorífico del gas durante las pruebas. Este dato debe registrarse en el informe de pruebas.
La porción molar o el poder calorífico del gas que se utiliza para el desarrollo de las pruebas, debe registrarse en el informe de pruebas.
Los calentadores de agua objeto de cumplimiento con esta Norma Oficial Mexicana, deben entregarse junto con los accesorios requeridos para su funcionamiento u operación durante las pruebas.
Las pruebas establecidas en la presente Norma Oficial Mexicana deben realizarse conforme a lo dispuesto a continuación:
a)    Para los numerales 7.1, 7.3 y 7.6 no es indispensable el uso de los gases de prueba.
b)    La prueba del numeral 7.9 debe realizarse con aire o gas inerte.
c)    En los numerales 7.5 y 7.8 las pruebas deben realizarse con gases de prueba o gas comercial (L.P. o Natural).
d)    Para el desarrollo de los métodos de prueba descritos en los numerales 7.2, 7.4 y 7.7 se debe usar los gases de prueba.
6.1. Instalación de los calentadores
El manómetro de línea de gas debe colocarse a una distancia no mayor que 152 mm, medidos de manera lineal, de la entrada de gas.
6.1.1. Instalación del calentador de almacenamiento
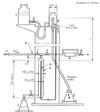
En la Figura 1 se muestra un esquema de la instalación mínima de un calentador de almacenamiento para realizar las siguientes pruebas, conforme al numeral 7:
 
a)    Capacidad volumétrica.
b)    Tiempo de recuperación y carga térmica.
c)    Combustión.
d)    Resistencia de las flamas a las corrientes de aire.
e)    Temperatura de los gases de combustión.
f)     Temperatura de las partes operadas manualmente.

FIGURA 1Calentador de almacenamiento (ilustrativa no limitativa)
6.1.2 Instalación del calentador de rápida recuperación
En la Figura 2 se muestra un esquema de la instalación mínima de un calentador de rápida recuperación para realizar las siguientes pruebas, conforme al numeral 7:
a)    Combustión.
b)    Resistencia de las flamas a las corrientes de aire.
c)    Temperatura de los gases de combustión.
d)    Temperatura de las partes operadas manualmente.
e)    Capacidad de calentamiento y carga térmica.
 

FIGURA 2Calentador de rápida recuperación (ilustrativa no limitativa)
6.1.3. Instalación del calentador instantáneo
En la Figura 3 se muestra un esquema de la instalación mínima de un calentador instantáneo para realizar las siguientes pruebas, conforme al numeral 7:
a)    Combustión.
b)    Resistencia de las flamas a las corrientes de aire.
c)    Temperatura de los gases de combustión.
d)    Temperatura de las partes operadas manualmente.
e)    Capacidad de calentamiento y carga térmica.
f)     Presión de apertura del control para el suministro de gas.

 
FIGURA 3Calentador instantáneo (ilustrativa no limitativa)
6.2. Equipo para realizar las pruebas
El equipo mínimo para realizar las pruebas a los calentadores se describe en la Tabla 3.
TABLA 3-Equipo e instrumentos
Equipo
Clave
Resolución máxima
Manómetro de línea de gas
P1
0.01 kPa (1x10-4 kgf/m2)
Regulador línea de gas
Pc
N/A
Termómetro línea de agua caliente
T2
0.1 K (0.1 °C)
Termómetro línea de agua fría
T1
0.1 K (0.1 °C)
Cronómetro
N/A
1 s
Báscula 
N/A
0.1 kg
Analizador de gases de combustión CO
N/A
0.0002 mg/g (2 ppm)
Ventilador
N/A
N/A
Anemómetro
N/A
1 m/seg
Medidor de espesores
N/A
0.0254 mm
Equipo para elevar la presión del agua
N/A
N/A
Cinta métrica flexible
N/A
0.1 cm
Recipientes de peso conocido
N/A
N/A
Regulador de línea de agua
R-1
N/A
Manómetro de línea de agua
P2
0.1 kPa (1x10-4 kgf/cm2) para calentadores con presión de apertura máxima de 20 kPa (0.2 kgf/cm2)
Manómetro de línea de agua
P2
1 kPa (0.01 kgf/cm2) para calentadores con presión de apertura de 20 kPa a 50 kPa
(0.2 kgf/cm2 a 0.5 kgf/cm2).
Manómetro de línea de agua para prueba de resistencia hidrostática
P3
0.0196 MPa
(0.2 kgf/cm2)
Medidor de flujo de agua (1)
F-2
0.017 dm³/s
Banco de pruebas
N/A
N/A
(1) Puede sustituirse el medidor de flujo de agua para el registro del agua calentada, por
una báscula y recipientes de peso conocido.
 
7. Métodos de prueba
Los instrumentos de medición, equipos y dispositivos que se indican en la presente Norma Oficial Mexicana, representan los requisitos mínimos para la aplicación de las pruebas y pueden sustituirse por otros equivalentes o de propiedades metrológicas superiores que permitan obtener el resultado de la prueba en las unidades o valores que se especifican.
Para el correcto desarrollo de las pruebas previstas en la presente Norma Oficial Mexicana, la temperatura del agua a la entrada del calentador debe ser a 20 °C ± 2 °C.
Las pruebas deben llevarse a cabo a una temperatura ambiente de 17 °C a 27 °C, a menos que se especifique otra temperatura en el numeral correspondiente.
 
7.1. Prueba de capacidad volumétrica
a)    Fundamento
       Esta prueba sólo se aplica a los calentadores de almacenamiento, pudiendo utilizarse indistintamente los procedimientos descritos en el inciso b) del presente numeral. Para la determinación de la capacidad volumétrica debe considerarse que 1 kg de agua ocupa el volumen de 1 L.
b)    Procedimiento
i.    Determinar el peso del calentador con el depósito vacío.
ii.   Llenar el depósito con agua fría.
iii.   Determinar el peso del calentador.
iv.   Obtener la capacidad por diferencia de pesos.
v.   Instalar el calentador como se muestra en la Figura 1.
vi.   Abrir la válvula de alimentación de agua fría para llenar el depósito, una vez que está lleno cerrar la válvula.
vii.  Utilizar la salida de drenado para verter el agua en el (los) recipiente(s) de peso conocido.
viii. Pesarlo(s) y por diferencia obtener la capacidad.
c)    Expresión de Resultados
       El producto cumple cuando el valor que se obtiene se encuentra dentro del intervalo de ± 5% de la capacidad volumétrica que establece el fabricante.
7.2.  Prueba de tiempo de recuperación y carga térmica
a)   Fundamento
      Esta prueba sólo se aplica a los calentadores de almacenamiento.
b)   Procedimiento
i.      Instalar el calentador como se muestra en la Figura 1.
ii.     Comprobar que la punta del sensor de temperatura (T2) se encuentra a una profundidad de 25 mm ± 5 mm a partir de la parte superior interna del depósito del calentador.
iii.    Poner en funcionamiento el calentador con su control de temperatura al máximo a presión normal de alimentación de gas conforme a lo dispuesto en la Tabla 2.
iv.    Medir y registrar el tiempo que tarda en incrementarse la temperatura del agua de 298.15 K a 323.15 K (25 °C a 50 °C).
       Para obtener la carga térmica se aplica la siguiente ecuación.

En donde:
Qa       es el calor que se absorbe durante el periodo de prueba (carga térmica) en kW.
ma      es la masa de agua calentada durante la prueba, en kg.
cpa      es la carga térmica específica del agua, igual a 4.186 kJ/(kg·K), para el intervalo de temperatura de 270.15 K a 360.15 K (-3 °C a 87 °C).
T    es el incremento de la temperatura de la masa de agua (Tf - Ti), en K.
T        es el tiempo de duración de la prueba, en s.
Tf        es la temperatura final, en K.
Ti        es la temperatura inicial, en K.
 
c)    Expresión de Resultados
       El producto cumple cuando:
i.    El tiempo que se registra no excede lo que marca el fabricante y cumple con lo que se indica en la Tabla 1.
ii.   La carga térmica de los calentadores no es menor a lo especificado por el fabricante.
7.3. Prueba de resistencia hidrostática
a)    Fundamento
       Esta prueba se aplica a los calentadores de almacenamiento, de rápida recuperación e instantáneos.
b)    Procedimiento
i.    Desensamblar o retirar el cuerpo exterior del calentador.
ii.   Instalar el (los) depósito(s) o sistema valvular, al banco de pruebas.
iii.   Colocar el manómetro a la salida del flujo de agua del calentador a una distancia no mayor que 250 mm.
iv.   Sellar todas las conexiones tales como válvula de drenado, termostato, válvula de alivio, etc., según sea el caso, a fin de evitar que se presenten fugas cuando se aplique la presión hidrostática.

FIGURA 4-Exterior del calentador (ilustrativa no limitativa)
7.3.1. Para el caso de calentadores de almacenamiento y de rápida recuperación:
 
a)    Procedimiento
i.    Llenar el (los) depósito(s) con agua.
ii.   Determinar la capacidad volumétrica de acuerdo al inciso 7.1.
iii.   Incrementar la presión hasta alcanzar la presión de prueba hidrostática especificada por el fabricante, la cual no podrá ser inferior de 1.27 MPa (12.95 kgf/cm2) para los calentadores de almacenamiento y de 0.686 MPa (7 kgf/cm2) para los calentadores de rápida recuperación, en un tiempo no menor de 2 min.
iv.   Mantener esta presión durante 8 min.
v.   Comprobar de manera visual que no existan fugas en el (los) depósito(s).
vi.   Al finalizar este tiempo reducir la presión hasta alcanzar la presión atmosférica y determinar la capacidad volumétrica de acuerdo al inciso 7.1.
% Deformación= Vf Vi / Vi *100
       En donde:
       Vi es el volumen inicial, en L.
       Vf es el volumen final, en L.
7.3.2. Para los calentadores instantáneos:
a)    Procedimiento
       El equipo para elevar la presión del agua se conecta a la entrada de agua fría del calentador y se obtura la salida. En caso de contar con válvula de alivio o de sobrepresión integrada, ésta debe retirarse y obturar el orificio. Una vez cumplidas estas condiciones:
i.    Llenar el sistema valvular con agua.
ii.   Incrementar la presión hasta alcanzar la presión de prueba hidrostática especificada por el fabricante, la cual no podrá ser inferior de 0.686 MPa (7 kgf/cm2), en un tiempo no menor de 2 min.
iii.   Mantener esta presión durante 8 min.
iv.   Comprobar de manera visual que no existan fugas en el calentador. Al finalizar este tiempo reducir la presión hasta alcanzar la presión atmosférica.
b)    Expresión de Resultados
i.    En ningún caso los calentadores deben presentar fugas de agua.
ii.   Los calentadores de almacenamiento y de rápida recuperación, no deben presentar cambios en volumen mayores que 1% con respecto a la medición inicial.
iii.   Los calentadores instantáneos no deben presentar deformaciones permanentes apreciables visualmente.
7.4. Prueba de combustión, temperatura de gases de combustión y las partes operadas manualmente
a)    Fundamento
       Esta prueba se aplica a los calentadores de almacenamiento, de rápida recuperación e instantáneos.
b)    Procedimiento
       Las pruebas de la concentración máxima de las emisiones de CO deben efectuarse considerando las presiones de gas que se indican en la Tabla 2.
i.    Instalar el calentador como se muestra en las Figuras 1, 2 o 3, según corresponda. Colocar el ducto de toma de muestra en la salida del difusor o corta tiro o colector de gases. Figura 5 a).
       El ducto de toma de muestra debe ser tal que no se altere el área de salida del difusor o corta tiro o colector de gases.
 
       En el caso de que el calentador cuente con tubo de salida de gases, éste debe instalarse de acuerdo a las instrucciones del fabricante, en lugar del ducto de toma de muestra. Figura 5 b).
ii.   Poner a funcionar el calentador con su control de temperatura a su máxima capacidad con la presión normal de alimentación de gas.
       Para operar el calentador con su control de temperatura a su máxima capacidad, debe considerarse lo siguiente:
·  Para los calentadores de almacenamiento se llena el depósito previamente con agua fría. En caso de que el termostato pudiera cortar la alimentación del gas antes de terminar la prueba, se debe circular agua fría hasta terminar la prueba.
·  Para los calentadores de rápida recuperación e instantáneos, se ajusta el flujo de agua de acuerdo a lo especificado por el fabricante.
·  Para calentadores equipados con control digital de temperatura, éste debe programarse de tal forma que se obtenga el incremento de temperatura mínimo de 25 K (25 °C).
iii.   Colocar la sonda del analizador de CO y el sensor de temperatura en el ducto de toma de muestra en la posición prevista para ello a los 10 min de operación. (Figura 5 a).
      En el caso de que el calentador cuente con tubo de salida de gases, la sonda del analizador se coloca al final del tubo y en su parte central. (Figura 5 b).
      Cuando el calentador sea provisto de salida de gases frontal y no sea posible ensamblarlo con el ducto de toma de muestra, la sonda del analizador se coloca en la salida de gases y en la parte central de dicha salida, la cual no debe quedar dentro ni alejada de la salida. (Figura 5 c).
iv.   Para los calentadores de rápida recuperación e instantáneos, registrar el valor de CO, la temperatura de los gases de combustión y la temperatura de las partes operadas manualmente a los 15 min de operación, posteriormente retirar la sonda.
v.   Para los calentadores de almacenamiento, registrar el valor de CO a los 15 min y retirar la sonda, cuando el calentador alcance los 333.15 K (60°C) registrar la temperatura de los gases de combustión; el calentador debe permanecer encendido hasta que alcance la temperatura de corte y en ese momento se toma la temperatura de las partes operadas manualmente.
vi.   Apagar el calentador y hacer circular agua fría hasta obtener una diferencia menor que 2 K (2 °C) en la entrada y la salida de agua.
7.4.1. Para la prueba de presión aumentada, mantener el calentador como se indica en 7.4. inciso b)
a)    Procedimiento
i.    El calentador debe ponerse en funcionamiento con su control de temperatura a su máxima capacidad.
ii.   En el caso de los calentadores equipados con control digital de temperatura, éste debe programarse de tal forma que se obtenga el incremento de temperatura mínimo de 25 K (25 °C).
iii.   Ajustar la presión de gas de acuerdo con la Tabla 2, en lo referente a presión aumentada.
iv.   Colocar la sonda en la posición prevista para ello a los 10 min de operación.
v.   Registrar el valor de CO a los 15 min de operación, posteriormente retirar la sonda.
b)    Expresión de Resultados
       El calentador cumple cuando:
i.    La concentración de las emisiones de CO es igual o menor a lo que se establece en la Tabla 2, bajo las condiciones de presión normal y presión aumentada.
ii.   El calentador cumple cuando la temperatura de los gases de combustión no excede de 573.15 K (300 °C).
iii.   Las partes que se operan manualmente cumplen cuando su temperatura no excede de 328.15K (55 °C).
 

FIGURA 5 a)-Equipo para el análisis de CO (ilustrativa no limitativa)

FIGURA 5 b)-Equipo para el análisis de CO en calentadores provistos de ducto (ilustrativa no
limitativa)
 

FIGURA 5 c)-Equipo para el análisis de CO en calentadores con salida de gases frontal (ilustrativa
no limitativa)
7.5. Prueba de resistencia de las flamas a las corrientes de aire
a)     Fundamento
       Esta prueba se aplica a los calentadores de almacenamiento, de rápida recuperación e instantáneos.
b)    Procedimiento
       Antes de iniciar la prueba, debe verificarse que la velocidad del aire que se incide en las partes del calentador sea de 21 km/h ± 2 km/h. El ventilador o equipo para aplicar las corrientes de aire debe permitir aplicar de forma directa las corrientes de aire en las partes indicadas.
i.    Se instala el calentador como se muestra en las Figuras 1, 2 o 3, según corresponda.
ii.   Para calentadores de almacenamiento y rápida recuperación, se llena(n) el (los) depósito(s) con agua fría; para calentadores instantáneos se llena el sistema valvular.
iii.   Se pone a funcionar el calentador únicamente con el (los) piloto(s) encendido(s), en caso de presentarlo(s) y operando de manera continua, con la puerta cerrada, en caso de tenerla; para los calentadores de rápida recuperación e instantáneos, se hace circular agua ajustando el flujo de acuerdo a lo indicado por el fabricante.
iv.   Se aplica una corriente de aire a través de un ducto de un diámetro interior de 50 mm ± 2 mm y a una velocidad de 21 km/h ± 2 km/h en dirección a cada una de las siguientes partes por un tiempo de 10 s como mínimo:
·  En cada una de las entradas de aire para combustión.
·  Base.
·  Puerta, en caso de tenerla.
·  Difusor o corta tiro o colector de gases.
 
v.   Se pone a funcionar el calentador con el (los) piloto(s), en caso de presentarlo (s) y operando de manera continua, y quemador(es) encendido(s), con la puerta cerrada en caso de tenerla, y se repite lo descrito en el inciso d); para el caso de calentadores de rápida recuperación e instantáneos se hace circular agua ajustando el flujo de acuerdo a lo indicado por el fabricante.
       En todos los casos ajustar y mantener la presión de gas a la presión normal de alimentación indicada en la Tabla 2.
c)    Expresión de resultados
       El calentador cumple cuando las flamas del (los) quemador(es) y el (los) piloto(s) no se extinguen y no se salen de la cámara de combustión.
7.6. Prueba de protección contra la corrosión
Esta prueba se aplica a la parte interna de los depósitos galvanizados o porcelanizados de los calentadores de almacenamiento y de rápida recuperación.
a)    Procedimiento
       El (los) depósito(s) debe(n) ser seccionado(s) y tomar una muestra con un área mínima de 100 cm2. Se realizan mediciones con el instrumento para medir espesores en cuatro puntos donde el recubrimiento no haya sido dañado o alterado por el corte. Los puntos de medición deben estar equidistantes entre sí y lo más alejado posible uno del otro.
b)    Expresión de resultados
       El (los) depósito(s) galvanizado(s) cumple(n) cuando en ninguno de los casos el espesor es menor que 0.0635 mm.
       El (los) depósito(s) porcelanizado(s) cumple(n) cuando en ninguno de los casos el espesor es menor que 0.15 mm.
7.7. Prueba de capacidad de calentamiento y carga térmica
Esta prueba sólo se aplica a los calentadores de rápida recuperación e instantáneos.
a)    Procedimiento
i.    Se instala el calentador como se muestra en las Figuras 2 o 3, según corresponda.
       Los sensores de temperatura se deben colocar a no más de 152 mm de la salida de agua caliente y de la entrada de agua fría, se registran las temperaturas tanto en la entrada como en la salida del calentador.
       En el caso de los calentadores de rápida recuperación, se llena(n) el (los) depósito(s) con agua fría.
       En el caso de los calentadores instantáneos se llena el sistema valvular con agua fría.
ii.   Se pone a funcionar el calentador con su control de temperatura a su máxima capacidad con la presión normal de alimentación de gas. Se ajusta el flujo de agua de acuerdo a lo indicado por el fabricante hasta que se estabilice la temperatura del agua, la cual no debe variar más de 2 K (2 °C) en la salida.
       Para calentadores equipados con control digital de temperatura, éste debe programarse de tal forma que se obtenga el incremento de temperatura mínimo de 2 K (2 °C).
iii.   La determinación de la capacidad de calentamiento se puede dar de dos formas:
       Primera: Se colecta el agua calentada en el(los) recipiente(s) de peso conocido por espacio de 5 min, se procede a pesarlos en la báscula y por diferencia de peso se obtiene la masa de agua calentada que es equivalente a la capacidad de calentamiento.
       Segunda: Por medio del medidor de flujo de agua se determina el mismo durante 5 min.
iv.   Con los valores obtenidos y aplicando la ecuación descrita en el numeral 7.2.1 se determina la
carga térmica.
b) Expresión de resultados
       La capacidad de calentamiento y la carga térmica no deben ser menores a lo especificado por el fabricante. El incremento de temperatura debe ser como mínimo 25 K (25 °C).
7.8. Prueba de presión de apertura del control para suministro de gas
a)    Fundamento
Esta prueba sólo aplica a los calentadores instantáneos.
b)    Procedimiento
i.    Se instala el calentador como se muestra en la Figura 3 observando que el manómetro esté colocado en un tramo recto de tubería a una distancia no menor que 10 cm ni mayor que 30 cm de la conexión de entrada de agua fría del calentador. Este tramo de tubería debe ser del diámetro nominal especificado en el instructivo de instalación del fabricante y en caso de que no esté especificado, debe ser del mismo diámetro de la conexión de entrada del agua del calentador.
ii.   Se enciende el piloto o se energiza el sistema, según aplique.
iii.   Se incrementa gradualmente la presión del agua hasta que encienda el quemador. En este momento se toma la lectura del manómetro y se registra.
       En caso que el calentador cuente con perilla o accesorio equivalente para control de flujo de agua, la prueba debe realizarse con el control de flujo de agua en posición de flujo máximo y repetirse en posición de flujo mínimo. En cualquiera de estos casos, la presión que se debe reportar es la que sea menor.
b)    Expresión de resultados
       El quemador debe encender a una presión menor o igual a la que especifique el fabricante.
7.9. Hermeticidad del circuito de gas
a)    Fundamento
       Esta prueba sólo aplica a calentadores de agua tipo instantáneo, para verificar hermeticidad de las válvulas del control para el suministro de gas, debiendo observar las condiciones establecidas en esta Norma Oficial Mexicana. La prueba debe realizarse al subensamble (dos válvulas integradas o por separado) para el corte de gas proporcionado por el solicitante.
       El solicitante debe indicar la forma, así como proporcionar los dispositivos (cuando aplique) para activar o desactivar las válvulas (eléctrica, mecánica, etc.), a fin de que puedan abrir o cerrar para efectos de ejecutar la prueba, y debe entregar los medios con los cuales se bloqueará la salida.
b)    Aparatos y/o Instrumentos
·  El descrito en el apéndice A o mediante un medidor de flujo con resolución mínima de 0.001 dm3/h.
·  Fuente de alimentación de aire que suministre una presión de 5 kPa y 15 kPa.
·  Manómetro con una resolución mínima de 0.1 kPa.
c)    Procedimiento
i.    Acondicionar el subensamble a temperatura ambiente, la cual debe estar a 22 °C ± 5 °C y mantenerse en ese intervalo durante la ejecución de toda la prueba.
ii.   Conectar el subensamble para el corte de gas a una alimentación de aire que suministre la presión de prueba.
iii.   Conectar el equipo descrito en el apéndice A o el medidor de flujo a la entrada del subensamble.
 
iv.   Numerar las válvulas del subensamble considerando la secuencia en que cierren el paso de gas respecto a la entrada del mismo.
v.   Realizar las pruebas en las condiciones de presión a la entrada del subensamble para el corte de gas, considerando las disposiciones especiales para cada uno, como se señala en las pruebas 7.9.1, 7.9.2 y 7.9.3 siguientes:
7.9.1. Hermeticidad de la primera válvula
a)    Procedimiento
       Comprobar la hermeticidad de la primera válvula (cerrada), estando las válvulas posteriores en posición abierta activadas de acuerdo a las indicaciones del solicitante. La presión de prueba debe ser 15 kPa durante un minuto.

FIGURA 6 a)-Prueba de hermeticidad de la primera válvula (ilustrativa no limitativa)
7.9.2. Hermeticidad de la segunda válvula
a)    Procedimiento
       Comprobar la hermeticidad de la segunda válvula (cerrada), estando las demás válvulas en posición abierta, activadas de acuerdo a las indicaciones del solicitante. La presión de prueba debe ser 5 kPa y repetirse a 15 kPa, ambas pruebas durante un minuto.

FIGURA 6 b)-Prueba de hermeticidad de la segunda válvula (ilustrativa no limitativa)
En caso de que el subensamble para el corte de gas cuente con más de dos válvulas se debe realizar la prueba para cada válvula adicional conforme al procedimiento descrito en este numeral.
7.9.3. Hermeticidad para el total de las válvulas del subensamble para el corte de gas
a)    Procedimiento
 
a.1)  Para comprobar la hermeticidad y la fuga total con todas las válvulas abiertas, activadas de acuerdo a las indicaciones del solicitante, se debe bloquear la salida de gas con los medios proporcionados, sellando de tal forma que no permita la salida de aire, posteriormente aplicar una presión de prueba de 5 kPa y repetirse a 15 kPa, durante un minuto.

FIGURA 6 c)-Prueba de hermeticidad para el total de las válvulas del subensamble para el corte de gas
(ilustrativa no limitativa)
i.     Comprobar que los sensores aseguren el funcionamiento de los calentadores instantáneos conforme a lo siguiente:
a.2)    Sensor de ausencia de flama en el quemador.
i.       Instalar el calentador y ajustar flujo de agua a capacidad marcada.
ii.      La presión de gas debe ser normal de acuerdo a la Tabla 2.
iii.     Verificar que el calentador esté encendido.
iv.     Desconectar o retirar el sensor a fin de extinguir la flama del quemador.
v.      Verificar que cuando hay ausencia de flama el equipo corte el suministro de gas.
a.3)    Sensor de sobre temperatura de agua caliente.
i.       Instalar el calentador y ajustar flujo de agua a capacidad marcada.
ii.      La presión de gas debe ser normal de acuerdo a la Tabla 2.
iii.     Ajustar el control de temperatura o el flujo de gas a su máxima capacidad, según sea el caso.
iv.     Verificar que el calentador esté encendido.
v.      Disminuir gradualmente el flujo de agua hasta el corte del suministro de gas y el quemador se apague en el intervalo de temperatura que declara el solicitante.
a.4)    Sensor interruptor de flujo de entrada de agua.
i.       Instalar el calentador y ajustar flujo de agua a capacidad marcada.
ii.      La presión de gas debe ser normal de acuerdo a la Tabla 2.
iii.     Verificar que el calentador esté encendido.
iv.     Cerrar el suministro de agua súbitamente y verificar que el calentador se apaga.
b)      Expresión de resultados
La prueba se cumple cuando
b.1)    El sistema redundante de seguridad cuenta con dos o más válvulas y la fuga de aire no sobrepasa los valores siguientes:
i.       Para las válvulas 1 y 2: 0,06 dm3/h.
ii.      Para cada una de las válvulas adicionales (cuando aplique): 0,06 dm3/h.
iii.     Para el total de las válvulas del subensamble para el corte de gas: 0,14 dm3/h.
 
b.2)    Los sensores aseguran que el equipo deja de funcionar cuando existe:
i.       Ausencia de flama en el quemador.
ii.      Sobre temperatura de agua caliente.
iii.     Interrupción de flujo de agua.
8. Marcado e información comercial
8.1. Identificación del producto.
Los calentadores objeto de esta Norma Oficial Mexicana deben contar con una o más placas o etiquetas fijas en lugar visible que proporcionen la información necesaria para su operación. Asimismo, deben llevar una o más placas o etiquetas de identificación fija en forma permanente, ya sean adheridas, remachadas o atornilladas al cuerpo exterior, en un lugar visible y de un material resistente a la oxidación. Las placas o etiquetas deben contener como mínimo la información siguiente en idioma español:
a)    Nombre y dirección del fabricante, importador, distribuidor o comercializador.
b)    Marca, modelo y número de serie (número específico que identifica un solo aparato).
c)    Tipo de calentador (almacenamiento, de rápida recuperación o instantáneo).
d)    Tipo de gas (L.P. o Natural, según su diseño).
e)    Presión normal de alimentación del gas: para Gas L.P. 2.74 kPa (27.94 gf/cm2) y para Gas Natural 1.76 kPa (17.95 gf/cm2).
f)     Capacidad volumétrica expresada en litros para los calentadores de almacenamiento, o capacidad de calentamiento en L/min con T mínimo de 25 K (25 °C) para los calentadores de rápida recuperación e instantáneos.
g)    Tiempo máximo de recuperación expresado en minutos para los calentadores de almacenamiento.
h)    Presión máxima de trabajo específica para el calentador.
       Nota: Ésta debe ser como mínimo de 0.63 MPa (6.42 kgf/cm2) para los calentadores de almacenamiento y de 0.45 MPa (4.59 kgf/cm2) para los calentadores de rápida recuperación e instantáneos.
i)     La leyenda que identifique al país de origen del producto, por ejemplo "Producto de...", "Hecho en....", "Manufacturado en....", "Producido en....", u otros análogos.
j)     Carga térmica en kW.
k)    Presión hidrostática mínima requerida para la apertura del control para suministro de gas en MPa para los calentadores instantáneos.
l)     Contraseña oficial de certificación, conforme a la Norma Oficial Mexicana NOM-106-SCFI-2000.
m)   Mes y año de fabricación del calentador.
n)    Presión de prueba hidrostática especificada por el fabricante, importador, distribuidor o comercializador.
De manera adicional, esta información en forma total o parcial podrá incluirse en el envase, empaque o embalaje del producto.
8.2. Operación del calentador.
En la placa(s) o etiqueta(s) de identificación o en la placa(s) o etiqueta(s) por separado colocada(s) en un lugar visible, deben indicarse las instrucciones de operación del calentador en idioma español.
8.3. Instalación del calentador.
En una placa o etiqueta colocada en un lugar visible, por separado, o en un manual, se deben especificar las características mínimas necesarias para una correcta instalación y funcionamiento en idioma español, además debe incluirse el siguiente texto:
a)    Sistema abierto (por medio de tinaco) para alimentación de agua al calentador: Se debe instalar en la salida de agua caliente un jarro de aire.
b)    Sistema cerrado para alimentación de agua al calentador: Se debe instalar en la salida de agua
caliente una válvula de alivio calibrada a lo que especifique el fabricante del calentador.
c)    La presión de alimentación de gas debe estar regulada de acuerdo al tipo de combustible que se utilice: Gas L.P. a 2.74 kPa (27.94 gf/cm2) y Gas Natural a 1.76 kPa (17.95 gf/cm2).
d)    Incluir la leyenda que en esencia indique lo siguiente: No instale el calentador en lugares cerrados, mal ventilados o cercanos a material inflamable.
e)    Incluir la leyenda que en esencia indique: En el caso de que el calentador requiera un ducto para la correcta extracción de los gases de combustión, éste debe ser exclusivo para la salida de los gases del calentador.
8.4. Garantía del producto.
Todo calentador debe contar con una póliza de garantía con una vigencia mínima por dos años contados a partir de la fecha de entrega al consumidor, donde se indique como mínimo lo siguiente: nombre, denominación o razón social y domicilio del fabricante, importador, distribuidor o comercializador, identificación del producto, duración de la garantía, conceptos que cubre la garantía, sus limitaciones o excepciones, lugares donde puede hacerse efectiva la garantía.
Para reclamar la garantía, el usuario debe presentar la póliza de garantía sellada o el comprobante de compra o documento que acredite su entrega. Dicha información deber ser en idioma español.
8.5. Dispositivo para drenado.
Para los calentadores que lo requieran, en una placa o etiqueta colocada próxima al drenado, se indicará la instrucción de drenar el depósito como mínimo cada dos meses en idioma español.
8.6. Protección catódica.
En caso de que el calentador cuente con protección catódica, deberá indicarlo en una placa o etiqueta colocada en un lugar visible, además de la leyenda "La protección catódica alarga la vida del calentador" en idioma español.
9. Protección del producto
Todo calentador de uso doméstico y/o comercial que utiliza como combustible Gas L.P. o Gas Natural debe estar protegido para evitar daños durante su manejo y transporte.
10. Procedimiento para la evaluación de la conformidad (PEC)
La evaluación de la conformidad de los calentadores de uso doméstico y/o comercial que utilizan como combustible Gas L.P. o Gas Natural sujetos a la observancia de la presente Norma Oficial Mexicana, será realizada en términos de este PEC por la Dirección General de Normas (DGN) y, en su caso, por organismos de certificación acreditados y aprobados en dicha normatividad, conforme a lo dispuesto por la Ley Federal sobre Metrología y Normalización y su Reglamento.
10.1. Procedimiento
El presente procedimiento es aplicable a los calentadores de uso doméstico y/o comercial que utilizan como combustible Gas L.P. o Gas Natural, materia de esta Norma Oficial Mexicana, de fabricación nacional o extranjera, que se importen, distribuyan o comercialicen en territorio nacional.
10.1.1. Fase Preparatoria
El cumplimiento de las especificaciones descritas en la presente Norma Oficial Mexicana debe hacerse constar mediante certificado de la conformidad, emitido a partir de la evaluación de la conformidad que se realice a los calentadores de uso doméstico y/o comercial que utilizan como combustible Gas L. P. o Gas Natural. Dicho certificado podrá obtenerse a través de la DGN en términos de lo dispuesto en el numeral 10.1.2 inciso a) o, en su caso, de un organismo de certificación conforme al inciso b) del mismo numeral.
Los procedimientos de certificación de la conformidad que instrumenten los organismos de certificación con motivo de la presente Norma Oficial Mexicana estarán sujetos a la aprobación de la DGN.
El certificado de la conformidad a que se refiere el numeral anterior debe emitirse por cada modelo de calentadores de uso doméstico y/o comercial que utilizan como combustible Gas L. P. o Gas Natural, de acuerdo a la clasificación señalada en el numeral 4 y podrá incluir una familia de modelos, conforme a lo siguiente:
a)    De acuerdo a su carga térmica en:
a.1)    Misma carga térmica:
 
i.    Doméstico, cuya carga térmica es menor o igual que 35 kW.
ii.   Comercial, cuya carga térmica es mayor que 35 kW y menor o igual que 108 kW.
b)    De acuerdo con su funcionamiento:
b.1)    Calentador de almacenamiento:
i.    Mismo tipo de válvula termostática (termostato) [bajo el mismo principio de funcionamiento y misma capacidad, pudiendo ser de diferente marca].
ii.   Misma capacidad volumétrica en litros
b.2)    Calentador de rápida recuperación.
i.    Mismo tipo de válvula termostática (termostato) [bajo el mismo principio de funcionamiento y misma capacidad, pudiendo ser de diferente marca].
ii.   Mismo flujo de agua en litros por minuto (L/min)
b.3)    Calentador instantáneo.
b.3.1)    Mismo flujo de agua en litros por minuto (L/min):
i.    Flujo de agua fijo y flujo de gas variable.
ii.   Flujo de agua variable y flujo de gas variable.
iii.   Flujo automático de agua y flujo automático de gas.
c)    De acuerdo con su construcción:
Para el caso de los calentadores de almacenamiento y rápida recuperación se sub clasifican de la manera siguiente:
i.     Con depósito galvanizado.
ii.     Con depósito porcelanizado.
iii.    Con depósito de acero inoxidable, cobre o aluminio.
No pueden considerarse como modelos de productos para efectos de certificación a aquellos que no cumplan con uno o más de los criterios aplicables a la definición de familia de modelos del numeral 3.28.
Para efectos de certificación inicial se tendrá que enviar a pruebas de laboratorio el o los modelos más representativos de la familia propuesta.
Se considerará como modelo más representativo de la familia, aquel que cumpla con la mayor cantidad de características existentes en los demás modelos pertenecientes a la misma familia.
En caso de que algún modelo cuente adicionalmente con características diferentes (funcionalidad y seguridad), dicho modelo debe someterse a pruebas de laboratorio.
Cualquier controversia en la clasificación de familia de productos será resuelta por la DGN.
El número de modelos que pertenezcan a una familia, para ser certificada, no está restringido, siempre y cuando cumplan con cada uno de los criterios aplicables e indicados anteriormente.
10.1.2. Fase de Certificación
Para obtener el certificado de la conformidad de los calentadores de uso doméstico y/o comercial que utilizan como combustible Gas L.P. o Gas Natural, se estará a lo siguiente:
a)    Para obtener el certificado de la conformidad por parte de la autoridad competente, el interesado debe obtener en el módulo de información de la autoridad competente, en su sitio de internet http://www.gob.mx/cms/uploads/attachment/file/13037/SE-04-005_Solicitud_de_certificacion.pdf, en la delegación o subdelegación correspondiente, el formato de solicitud SE-04-005 "Certificación a Solicitud de Parte de Normas Oficiales Mexicanas competencia de la Secretaría de Economía" y/o a través de la página https://www.sinec.gob.mx en la sección de Trámites. El interesado debe llenar la solicitud en original y copia y la acompañará de la documentación técnica correspondiente. Para tal efecto, debe cumplir con las especificaciones señaladas en la presente Norma Oficial Mexicana incluyendo especificaciones técnicas, eléctricas y electrónicas del modelo o de la familia de modelos de calentador de uso doméstico y/o comercial que utiliza como combustible Gas L. P. o Gas Natural, según corresponda.
       En dichas especificaciones debe incluirse la descripción y comprobación de la totalidad de los requisitos técnicos requeridos de acuerdo a su clasificación, incluyendo certificados, informes,
reportes, lista de partes y componentes, instructivos de operación y de instalación, fotografías, control de temperatura, descripción de materiales, evidencia de información comercial, información de marcado y demás documentación que avale el cumplimiento con las especificaciones carentes de procedimiento técnico.
       Los certificados de calidad deben contener como mínimo, nombre y dirección del fabricante, importador, distribuidor o comercializador, según corresponda, nombre y firma del responsable o representante legal, fecha y lote de fabricación, especificaciones y referencia a la normatividad aplicable, preferentemente en idioma español o en su defecto en inglés.
       El interesado debe obtener el listado completo de los laboratorios de prueba aprobados en el campo de aplicación de la NOM de que se trate, mismo que podrán consultar en los sitios de internet http://www.gob.mx/se/acciones-y-programas/competitividad-y-normatividad-normalizacion?state=published, y/o a través de la página https://www.sinec.gob.mx. El informe de resultados de las pruebas aplicables al producto correspondiente, tendrá una vigencia de noventa días naturales a partir de la fecha de su emisión.
       El interesado debe obtener información sobre el monto correspondiente al pago vigente, que debe hacer por concepto de productos y aprovechamientos para la certificación solicitada conforme al pago señalado en el sitio de internet http://www.e5cinco.economia.gob.mx/swb/es/e5cinco/listadetramites_servicios, o la página de internet de la autoridad competente.
       El interesado debe entregar en la oficialía de partes de la autoridad competente o en las delegaciones o subdelegaciones de la dependencia, el original de la solicitud, los documentos indicados en su instructivo, además de los documentos indicados de acuerdo al esquema de certificación que elija; o bien, los enviará por correo certificado o servicio de mensajería, siempre y cuando el particular haya cubierto el importe de ese servicio de mensajería.
b)    Para obtener el certificado de la conformidad por parte de los organismos de certificación, el interesado deberá contactar directamente a dichos organismos y cumplir con los requisitos correspondientes en los términos de los procedimientos de certificación de la conformidad señalados en el artículo 80 de la Ley. Los organismos de certificación podrán requerir documentación similar a la mencionada en el inciso a) del presente numeral.
c)    Para obtener el certificado del sistema de control de la calidad, el interesado deberá contactar directamente a los organismos de certificación de sistemas de control de la calidad y cumplir con los requisitos aplicables a dicha certificación.
       Los certificados de la conformidad son intransferibles y se otorgarán al fabricante, importador, distribuidor o comercializador de los calentadores de uso doméstico y/o comercial que utilizan como combustible Gas L. P. o Gas Natural, materia de esta Norma Oficial Mexicana, que lo solicite, previo cumplimiento de los requisitos a que se refieren los numerales 10.1.1 y 10.1.2 del presente PEC.
10.1.3. Procedimientos y tipos de certificación.
Los procedimientos para la certificación y verificación de la presente Norma Oficial Mexicana serán conforme a las siguientes modalidades:
a)    Certificación con verificación y seguimiento, mediante pruebas periódicas.
b)    Certificación con verificación y seguimiento, mediante el sistema de control de la calidad de la línea de producción.
c)    Certificación por lote.
La certificación por lote será posible, siempre y cuando haya una identificación única por cada modelo de producto que conforme dicho lote. La certificación bajo esta modalidad será para lotes máximos de 500 calentadores. Para la certificación por lote, es necesario realizar un muestreo previo para seleccionar la muestra de producto que será enviada a pruebas de laboratorio.
10.1.4. Vigencia del Certificado
La vigencia de los certificados de la conformidad será la que a continuación se describe y estará sujeta al cumplimiento en todo momento de las especificaciones y disposiciones señaladas en la presente Norma Oficial Mexicana:
i.     Un año a partir de la fecha de su emisión, para los certificados con verificación y seguimiento,
mediante pruebas periódicas.
ii.     Tres años a partir de la fecha de emisión, para los certificados con verificación y seguimiento, mediante el sistema de control de la calidad.
iii.    Los certificados por lote sólo amparan la cantidad de calentadores que se fabriquen, comercialicen, importen, distribuyan o exporten, con base en dichos certificados, por lo que carecerán de vigencia. Los certificados deben indicar la cantidad de piezas del lote y sus fechas de fabricación.
Las vigencias a que se refiere este artículo están sujetas al resultado de la verificación y en su caso, del seguimiento correspondiente, en los términos establecidos en el numeral 10.1.7.
En caso de pérdida o suspensión de la vigencia del certificado de sistema de control de la calidad, el titular del certificado de la conformidad debe dar aviso inmediato al organismo de certificación y/o a la DGN, según corresponda.
En el caso de pérdida de la vigencia del certificado del sistema de control de la calidad, el certificado de la conformidad quedará cancelado a partir de la fecha de terminación de la auditoría realizada por el organismo de certificación de sistemas de control de la calidad.
Los organismos de certificación notificarán de inmediato a la DGN para los efectos a que hubiere lugar.
En caso de suspensión de la vigencia del certificado del sistema de control de la calidad, el certificado de la conformidad quedará suspendido por un periodo máximo de 30 días naturales a partir de la fecha de terminación de la auditoría realizada por el organismo de certificación de sistemas de control de la calidad. Si dentro del término anteriormente señalado se restablece la vigencia del certificado del sistema de control de la calidad, la vigencia del certificado de la conformidad se restablecerá hasta la fecha para la que originalmente fue otorgado. En caso contrario, dicho certificado quedará automáticamente cancelado y los organismos de certificación notificarán de inmediato a la DGN para los efectos a que hubiere lugar.
En ambos casos, el titular del certificado de la conformidad cancelado podrá solicitar la modalidad de certificación de la conformidad con verificación mediante pruebas periódicas a producto.
10.1.5. Ampliación, modificación o reducción del alcance de la certificación
Las ampliaciones de titularidad de los certificados expedidos dentro de las modalidades mencionadas en las fracciones a) y b) del numeral 10.1.3, tendrán como fecha de vencimiento la misma que la indicada en los certificados que dieron origen a éstos.
Para el caso de ampliación de titularidad en el inciso b) de 10.1.3, el ampliado debe contar con un sistema de control de la calidad de la línea de producción certificado, por lo que la verificación y seguimiento se realizará conforme a los requisitos de dicha modalidad.
Los certificados podrán ser cancelados de inmediato a petición del fabricante, importador, distribuidor o comercializador que solicitó su ampliación.
Cuando sea cancelado un certificado, las ampliaciones de los certificados y/o titularidad, según corresponda, serán igualmente canceladas. La vigencia de los certificados quedará sujeta al resultado de las verificaciones y, en su caso, del seguimiento correspondiente, así como a la evaluación del producto muestreado, conforme a lo dispuesto en este numeral y al numeral 10.1.7.
10.1.6. Producción
Las personas físicas o morales que cuenten con certificado de la conformidad de calentadores de uso doméstico y/o comercial que utilizan como combustible Gas L.P. o Gas Natural, materia de esta Norma Oficial Mexicana, deben conservar los registros e informes de resultados de las pruebas referidas en los numerales 5 y 8.
10.1.7. Verificación y seguimiento.
Los actos de verificación que se requieran llevar a cabo para evaluar la conformidad de los calentadores de uso doméstico y/o comercial que utilizan como combustible Gas L.P. o Gas Natural, estarán a cargo de la DGN o de los organismos de certificación correspondientes y serán realizados en términos de la Ley y su Reglamento. Dichos actos podrán realizarse mediante inspección visual y documental, mediante muestreo y realización de pruebas en términos de lo dispuesto en los numerales 7 y 11. Las espreas de los quemadores
del calentador de uso doméstico y/o comercial que utiliza como combustible Gas L. P. o Gas Natural, pueden ser cambiadas de acuerdo a las especificaciones del fabricante, dependiendo de la altitud donde se vayan a realizar las pruebas de laboratorio.
Los actos referidos en el párrafo anterior podrán realizarse en los lugares de fabricación, almacenaje, comercialización y/o venta de los calentadores de uso doméstico y/o comercial que utilizan como combustible Gas L.P. o Gas Natural, según corresponda.
Las verificaciones de seguimiento serán realizadas por la DGN o el organismo de certificación y se programarán de común acuerdo con el titular de dicho certificado. La periodicidad de estas verificaciones será de una vez al año para la certificación con verificación mediante pruebas periódicas al producto, en donde se llevará a cabo el muestreo de producto para su envío a pruebas, y, una vez al año para la certificación con verificación mediante el sistema de control de la calidad de línea de producción, cabe señalar que en sólo una de ellas se llevará a cabo el muestreo de producto para su envío a pruebas.
Para los certificados emitidos en la modalidad establecida en el inciso c) del numeral 10.1.3, certificación por lote, no aplica verificación de seguimiento.
En el caso de certificados de la conformidad emitidos por la DGN, las verificaciones de vigilancia serán realizadas por la DGN, sin perjuicio de que la DGN podrá realizar visitas de verificación con base en denuncias recibidas o como medida preventiva a posibles violaciones a la Ley, esta Norma Oficial Mexicana y demás normativa aplicable, pudiendo auxiliarse de los laboratorios de pruebas y organismos de certificación.
Para fines de certificación y cuando en la verificación se requiera de muestreo y pruebas al producto, para la selección de la muestra, se aplicará el siguiente método:
i.     Para cualquiera de las familias de modelos de los productos materia de esta Norma Oficial Mexicana, la muestra estará constituida conforme al numeral 11 de la presente Norma Oficial Mexicana.
ii.     El muestreo se realizará en la fábrica o bodega del titular del certificado o directamente en punto de venta. Para el caso de muestreo en punto de venta no se requiere un lote mínimo de especímenes.
iii.    La muestra seleccionada en la fábrica se podrá tomar de la línea de producción o del área de producto terminado.
10.1.8. Suspensión y cancelación de certificados de la conformidad
Sin perjuicio de las condiciones contractuales de la prestación del servicio de certificación, se deben aplicar los supuestos siguientes para suspender o cancelar un certificado de la conformidad de producto.
10.1.8.1. Se procederá a la suspensión del certificado:
i.     Por incumplimiento con la Norma Oficial Mexicana aplicable en aspectos de marcado o información requerida.
ii.     Cuando el seguimiento no pueda llevarse a cabo por causas imputables al titular del certificado.
iii.    Cuando el titular del certificado no presente al OCP el informe de pruebas derivado de los seguimientos 30 días naturales a partir de la fecha de emisión del informe de pruebas y dentro la vigencia del certificado de la conformidad del producto.
iv.    Por cambios o modificaciones a las especificaciones establecidas en la presente Norma Oficial Mexicana de los productos certificados que no hayan sido evaluados por causas imputables al titular del certificado.
v.     Cuando la dependencia lo determine con base en el artículo 112, fracción V de la Ley Federal sobre Metrología y Normalización y 102 de su Reglamento.
La suspensión debe ser notificada al titular del certificado, otorgando un plazo de 30 días naturales para hacer las aclaraciones pertinentes o subsanar las deficiencias del producto o del proceso de certificación. Pasado el plazo otorgado y en caso de que no se hayan subsanado los incumplimientos, la Secretaría procederá a la cancelación inmediata del certificado de la conformidad del producto.
10.1.8.2. Se procederá a la cancelación inmediata del certificado:
a)    En su caso, por cancelación del certificado del sistema de control de la calidad de la línea de producción.
b)    Cuando se detecte falsificación o alteración de documentos relativos a la certificación.
 
c)    A petición del titular del certificado, siempre y cuando se hayan cumplido las obligaciones contractuales en la certificación, al momento en que se solicita la cancelación.
d)    Cuando se incurra en falsas declaraciones en el uso del certificado de la conformidad del producto.
e)    Por incumplimiento con especificaciones de la Norma Oficial Mexicana, que no sean aspectos de marcado o información.
f)     Una vez notificada la suspensión, no se corrija el motivo de ésta, en el plazo establecido.
g)    Cuando la dependencia lo determine con base en el artículo 112 fracción V de la Ley Federal sobre Metrología y Normalización, y 102 de su Reglamento.
En todos los casos de cancelación se procede a dar aviso a las autoridades correspondientes, informando los motivos de ésta. El OCP mantendrá el expediente de los productos con certificados de la conformidad de producto cancelados por incumplimiento con la presente Norma Oficial Mexicana.
Los resultados del informe de pruebas y de las verificaciones que se practiquen a los calentadores de uso doméstico y/o comercial que utilizan como combustible Gas L. P. o Gas Natural materia de esta Norma Oficial Mexicana serán tomados en cuenta por la DGN o por los organismos de certificación para efectos de suspender, cancelar y/o mantener la vigencia del certificado de la conformidad correspondiente. En caso de que derivado de dichos resultados se demuestre cumplimiento con todas las especificaciones y requerimientos establecidos en la presente Norma Oficial Mexicana, el titular del certificado podrá solicitar la emisión de un nuevo certificado por un periodo de vigencia igual al anteriormente otorgado, sujetándose a lo indicado en el numeral 10.1.4 del presente PEC utilizando los informes de prueba derivados de las verificaciones correspondientes.
11. Muestreo
Los organismos de certificación de producto deben efectuar un muestreo aleatorio al producto certificado para su envío a pruebas de laboratorio. Este muestreo se puede realizar en los lugares en donde se fabrican, almacenan o comercializan los productos sujetos a la norma de referencia. Una vez en la fábrica, en el caso del fabricante, en la bodega en el caso de importación o en los lugares de comercialización en territorio nacional, del lote disponible se obtendrá en forma aleatoria una muestra que estará conformada por una o dos piezas (muestra testigo).
La muestra que se tome del producto para el envío al laboratorio, debe ser representativa del lote de productos o de la línea de fabricación, independientemente de la modalidad que se trate, para lo cual el porcentaje de los productos que deben enviarse a pruebas de laboratorio respecto a la totalidad de certificaciones a renovar, se puede tomar un porcentaje de informes de prueba de acuerdo a las siguientes proporciones:
Renovaciones
No. de
informes
Tipo de gas
L. P.
Natural
1
1
1 ó 0
1 ó 0
2 a 6
2
1
1
7 a 10
3
2 ó 1
2 ó 1
11 a 16
4
2
2
17 a 20
5
3 ó 2
3 ó 2
 
Para la renovación de más de 20 certificados, se requiere de por lo menos el 30% de informes de pruebas, aplicando las mismas consideraciones de la tabla anterior.
Para la renovación de certificados otorgados en ambos gases, en el momento del muestreo se seleccionarán productos de ambos gases, según se establece en la tabla anterior. Cabe señalar que el producto a muestrear, debe ser un modelo diferente al modelo probado al inicio de la certificación, en el caso de certificados con agrupaciones de familia.
Para la modalidad por lote, es válido utilizar el muestreo que se establece en las normas mexicanas NMX-Z-012/1-1987, NMX-Z-012/2-1987 y NMX-Z-012/3-1987.
12. Sanciones
 
El incumplimiento de lo dispuesto en la presente Norma Oficial Mexicana será sancionado por la Secretaría de Economía de conformidad con la Ley Federal sobre Metrología y Normalización, así como demás disposiciones aplicables, sin perjuicio de lo que en el ámbito de sus atribuciones corresponda a la Procuraduría Federal del Consumidor en los términos de la Ley Federal de Protección al Consumidor.
13. Vigilancia
La vigilancia de la presente Norma Oficial Mexicana está a cargo de la Secretaría de Economía y la Procuraduría Federal del Consumidor, conforme a sus respectivas atribuciones.
14. Concordancia con normas internacionales
Esta Norma Oficial Mexicana no es equivalente (NEQ) con alguna Norma Internacional, por no existir esta última al momento de elaborarla.
15. Bibliografía
-      Ley Federal sobre Metrología y Normalización, fecha de publicación en el Diario Oficial de la Federación el 1992-07-01, y sus reformas.
-      Ley Federal de Protección al Consumidor, fecha de publicación en el Diario Oficial de la Federación el 1992-12-24, y sus reformas.
-      Reglamento de la Ley Federal sobre Metrología y Normalización, fecha de publicación en el Diario Oficial de la Federación el 1999-01-04, y sus reformas.
-      Norma Mexicana NMX-Z-013-SCFI-2015, Guía para la estructuración y redacción de normas (cancela a la NMX-Z-013/1-1977), fecha de publicación en el Diario Oficial de la Federación el 2015-11-18.
-      ANSI Z21.10.1-2014/CSA 4.1-2014, Gas water heaters, volume I, storage water heaters with input ratings of 75,000 Btu per hour or less.
-      NCh 1938 Artefactos de producción instantánea de agua caliente para usos sanitarios que utilizan combustibles gaseosos (calefones). Parte 1: Requisitos Generales; Parte 2: Métodos de ensayo.
-      UNE-EN 26:1997, Gas-fired instantaneous water heaters for sanitary uses production, fitted with atmospheric burners.
TRANSITORIOS
PRIMERO. La presente Norma Oficial Mexicana, una vez que sea publicada en el Diario Oficial de la Federación como norma definitiva, entrará en vigor a los 180 días naturales siguientes al día de su publicación.
SEGUNDO. Los certificados de la conformidad vigentes respecto de la Norma Oficial Mexicana NOM-011-SESH-2012, "Calentadores de agua de uso doméstico y comercial que utilizan como combustible Gas L.P. o Gas Natural.- Requisitos de seguridad, especificaciones, métodos de prueba, marcado e información comercial", que hayan sido emitidos con anterioridad a la fecha de entrada en vigor de la presente Norma Oficial Mexicana, continuarán vigentes hasta que concluya su término.
La vigencia de tales certificados no podrá exceder la señalada en el procedimiento para la evaluación de la conformidad establecido en la Norma Oficial Mexicana NOM-011-SESH-2012, "Calentadores de agua de uso doméstico y comercial que utilizan como combustible Gas L.P. o Gas Natural.- Requisitos de seguridad, especificaciones, métodos de prueba, marcado e información comercial".
TERCERO. La presente Norma Oficial Mexicana no es aplicable a los calentadores de agua de uso doméstico y/o comercial que utilizan como combustible Gas L. P. o Natural, que hayan sido fabricados o importados con anterioridad a su entrada en vigor, por lo que podrán comercializarse sin requisito adicional alguno hasta agotar el inventario del producto.
CUARTO. Los organismos de certificación de producto y los laboratorios de pruebas que cuenten con acreditación vigente en la NOM-011-SESH-2012, podrán ampliar su acreditación en los numerales 5.21 y 7.9 según corresponda, observando esta Norma Oficial Mexicana NOM-200-SCFI-2017, "Calentadores de agua de uso doméstico y comercial que utilizan como combustible Gas L.P. o Gas Natural.- Requisitos de seguridad, especificaciones, métodos de prueba, marcado e información comercial", una vez que se publique en el Diario Oficial de la Federación.
 
Ciudad de México, a 28 de agosto de 2017.- El Director General de Normas y Presidente del Comité Consultivo Nacional de Normalización de la Secretaría de Economía, Alberto Ulises Esteban Marina.- Rúbrica.
APÉNDICE A. (Normativo)
PRUEBA DE HERMETICIDAD DEL CIRCUITO DE GAS-MÉTODO VOLUMÉTRICO
A.1.  Dispositivo de prueba
a)   Utilizar un banco de prueba que se monta con los elementos de Figura A.1, en un local con temperatura constante, de 22 °C ± 5 °C.
b)   El equipo está fabricado de vidrios, con las válvulas 1 a 5 del mismo material, provistas de un resorte. El fluido de prueba es agua destilada.
c)   Regular la altura de "L", entre el nivel de agua en el recipiente de nivel constante "D" y el extremo superior del tubo "G", de modo que corresponda a la presión de prueba (Pa o mm de columna de agua).
A.2. Procedimiento
a)   Ajustar la presión de prueba del aire a la entrada del calentador por medio de un regulador de presión "F".
b)   Mantener cerradas las válvulas 1 a 5 y conectar el tubo al calentador "B" que se prueba, manteniendo cerrada la válvula "K".
c)   Con la válvula 2 abierta. Cuando el agua situada en el recipiente de nivel constante "D" se desborda, cayendo al recipiente de desbordamiento "E", la válvula 2 está cerrada.
d)   Abrir las válvulas 1 a 4. Mediante la conexión "A", establecer la presión en la probeta graduada "H" y en el dispositivo "B". Cerrar la válvula 1.
e)   Abrir la válvula 3. Esperar un tiempo de 15 min para que se establezca el equilibrio térmico del aire en el calentador de prueba y en el calentador "B" que se prueba.
f)    Comprobar la fuga que pueda tener el calentador "B" que se prueba, mediante el desbordamiento del agua desde el tubo "G", que cae en la probeta graduada "H".

a)     Entrada
b)     Muestra a envasar
c)     Depósito de agua
d)     Recipiente de nivel constante
e)     Recipiente de desbordamiento del nivel constante
f)      Regulador de presión
g)     Tubo
h)     Probeta graduada
i)      Recipiente de desbordamiento
j)      Válvula de corte de salida
k)     Distancia entre el nivel de agua en el recipiente de nivel constante D y el extremo del tubo G, la que se regula de modo que la altura del agua corresponda a la presión de ensayo.
       1 al 5 Válvulas manuales de corte
FIGURA A.1. Dispositivo para la verificación de la hermeticidad del circuito de gas (Método
volumétrico) (Ver 7.9 y Apéndice A)
 
________________________________