NORMA Oficial Mexicana NOM-036-ENER/SE-2025, Eficiencia térmica y seguridad de estufas que funcionan con leña. Especificaciones, métodos de prueba y marcado.
Al margen un sello con el Escudo Nacional, que dice: Estados Unidos Mexicanos.- Energía.- Secretaría de Energía.- Comisión Nacional para el Uso Eficiente de la Energía.
NORMA OFICIAL MEXICANA NOM-036-ENER/SE-2025, EFICIENCIA TÉRMICA Y SEGURIDAD DE ESTUFAS QUE FUNCIONAN CON LEÑA. ESPECIFICACIONES, MÉTODOS DE PRUEBA Y MARCADO.
ISRAEL JÁUREGUI NARES, Presidente del Comité Consultivo Nacional de Normalización para la Preservación y Uso Racional de los Recursos Energéticos (CCNNPURRE) y Director General de la Comisión Nacional para el Uso Eficiente de la Energía (CONUEE) y LILIAN AURORA PÉREZ ORNELAS, Presidenta del Comité Consultivo Nacional de Normalización de la Secretaría de Economía (CCONNSE) y Directora General de Normas, con fundamento en los artículos 17, 33, fracción X y 34 fracciones II y XIII de la Ley Orgánica de la Administración Pública Federal; 4 de la Ley Federal de Procedimiento Administrativo; 10 y 11, fracciones I y VI de la Ley de Planeación y Transición Energética; 1, 3, fracciones V, VII y IX, 10, fracciones II y IX, 24, 25, 30, 35, fracción X, 36, 39, Tercero y Octavo Transitorios de la Ley de Infraestructura de la Calidad; artículo 19 fracciones I, III, V y VIII de la Ley Federal de Protección al Consumidor; 2 apartado F, fracción II, 71, 72 y 76 del Reglamento Interior de la Secretaría de Energía; 1; 2, Apartado A, fracción II, numerales 4 y 19; 3, segundo párrafo; 11; y 12, fracciones I, XXVIII y XXIX, 36 fracción I, II, IX y X del Reglamento Interior de la Secretaría de Economía; el artículo Único del Acuerdo por el que se delegan en el Director General de la Comisión Nacional para el Uso Eficiente de la Energía las facultades que se indican; primero, fracción VI, subfracción VI.1. del Acuerdo por el que se adscriben orgánicamente a las unidades administrativas de la Secretaría de Economía, publicado en el Diario Oficial de la Federación el 10 de abril de 2024; y apartado X, inciso A, numerales 11 y 15, e inciso D numerales 1, 2 y 3 del Manual de Organización General de la CONUEE; y
CONSIDERANDO
Que la Ley Orgánica de la Administración Pública Federal, define las facultades de la Secretaría de Energía, entre las que se encuentra la de expedir normas oficiales mexicanas sobre eficiencia energética.
Que la CONUEE es un órgano administrativo desconcentrado de la Secretaría de Energía, que cuenta con autonomía técnica y operativa, y que tiene por objeto promover la eficiencia energética y constituirse como órgano de carácter técnico en materia de aprovechamiento sustentable de la energía.
Que la Ley de Planeación y Transición Energética, considera a la eficiencia energética como todas las acciones que conlleven a una reducción, económicamente viable, de la cantidad de energía que se requiere para satisfacer las necesidades energéticas de los servicios y bienes que demanda la sociedad, asegurando un nivel de servicio igual o superior.
Que la Ley Federal de Protección al Consumidor faculta a la Secretaría de Economía para establecer Normas Oficiales Mexicanas que tengan por objeto establecer disposiciones de seguridad de producto a fin de proteger a los consumidores.
Que la presente Norma Oficial Mexicana se elaboró en cumplimiento a lo dispuesto por la Ley de Planeación y Transición Energética, que tiene por objeto establecer y regular la planeación vinculante en el Sector Energético y el fortalecimiento de la Transición Energética, así como el Aprovechamiento Sustentable de la Energía, el cumplimiento de las obligaciones en materia de Energías Limpias y la reducción de Emisiones Contaminantes, manteniendo la competitividad de los sectores productivos, con el fin de coadyuvar con la soberanía, justicia y autosuficiencia energética, y que es reglamentaria de los párrafos 6 y 8 del artículo 25 de la Constitución Política de los Estados Unidos Mexicanos, así como de los transitorios Décimo Séptimo y Décimo Octavo del Decreto por el que se reforman y adicionan diversas disposiciones de la Constitución Política de los Estados Unidos Mexicanos, en materia de energía, publicado en el Diario Oficial de la Federación el 20 de diciembre de 2013.
Que es necesario establecer los límites de eficiencia térmica mínimos, los requisitos de seguridad al usuario, los métodos de prueba y los requisitos de marcado con la finalidad de reducir los consumos de leña y aumentar la seguridad a los usuarios de las estufas que funcionan con leña.
Que mediante la presente Norma Oficial Mexicana, se coadyuva al fortalecimiento del marco regulatorio en materia de eficiencia energética, en congruencia con la Ley de Planeación y Transición Energética, expedida el 18 de marzo de 2025.
Que para el cumplimiento del artículo 78 de la Ley General de Mejora Regulatoria, se consideran los ahorros generados en 2023 por la NOM-013-ENER-2013, Eficiencia energética para sistemas de alumbrado en vialidades y por la NOM-031-ENER-2019, Eficiencia energética para luminarios con led para iluminación de vialidades y áreas exteriores públicas. Especificaciones y métodos de prueba.
Que habiendo cumplido el procedimiento que se establece en el artículo 38 de la Ley de Infraestructura de la Calidad, el Proyecto de Norma Oficial Mexicana PROY-NOM-036-ENER/SE-2024, Eficiencia térmica y seguridad de estufas que funcionan con leña. Especificaciones, métodos de prueba y marcado, se publicó en el Diario Oficial de la Federación del 07 de febrero de 2025, con el objeto de que los interesados presentaran sus comentarios al CCNNPURRE y al CCONNSE.
Que dentro de los 60 días naturales siguientes a la fecha de su publicación en el Diario Oficial de la Federación el Proyecto de Norma Oficial Mexicana y el Análisis de Impacto Regulatorio estuvieron a disposición del público en general para su consulta, y que, dentro del mismo plazo, los interesados presentaron comentarios sobre el contenido del Proyecto de Norma Oficial Mexicana, mismos que fueron analizados por el CCNNPURRE y el CCONNSE, realizándose las modificaciones conducentes. Las respuestas a los comentarios recibidos fueron publicadas en el Diario Oficial de la Federación el 08 de septiembre del 2025, y
Que la Ley de Infraestructura de la Calidad, considera a las Normas Oficiales Mexicanas como las regulaciones técnicas de observancia obligatoria cuyo fin esencial es el fomento de la calidad para el desarrollo económico y la protección de los objetivos legítimos de interés público previstos en dicho ordenamiento, por lo que se expide la siguiente Norma Oficial Mexicana:
NORMA OFICIAL MEXICANA NOM-036-ENER/SE-2025, EFICIENCIA TÉRMICA Y SEGURIDAD DE ESTUFAS QUE
FUNCIONAN CON LEÑA. ESPECIFICACIONES, MÉTODOS DE PRUEBA Y MARCADO
Prefacio
La presente Norma Oficial Mexicana (NOM) fue elaborada por el Comité Consultivo Nacional de Normalización para la Preservación y Uso Racional de los Recursos Energéticos (CCNNPURRE) y el Comité Consultivo Nacional de Normalización de la Secretaría de Economía (CCONNSE), con la colaboración de los siguientes organismos, instituciones y empresas:
· Aceros Estructurales de Durango, S.A. de C.V.
· Asociación Francesa de la Estufa de Masa Artesanal (AFPMA)
· Asociación Nacional de Fabricantes de Aparatos Domésticos, A.C.
· Asociación de Normalización y Certificación, A.C. (ANCE)
· Centro Nacional de Metrología
· Comisión Nacional de Vivienda
· Grupo Interdisciplinario de Tecnología Rural Apropiada, A.C.
· Instituto Mexicano del Petróleo
· Instituto Nacional de Electricidad y Energías Limpias
· Red Mexicana de Bioenergía, A.C.
· Secretaría de Energía
· Secretaría de Salud
o Instituto Nacional de Salud Pública
· Secretaría de Medio Ambiente y Recursos Naturales
o Dirección General de Industria, Energías Limpias y Gestión de la Calidad del Aire
· Sociedad Mexicana de Normalización y Certificación, S.C. (NORMEX)
· Tecnología en Estufas y Combustibles Apropiados
· Universidad Intercultural Indígena de Michoacán
· Universidad Nacional Autónoma de México
o Instituto de Investigaciones en Ecosistemas y Sustentabilidad
- Laboratorio de Innovación y Evaluación en Bioenergía
Índice de Contenido
1. Objetivo y campo de aplicación
2. Referencias normativas
3. Definiciones
4. Símbolos y abreviaturas
5. Clasificación
6. Especificaciones
7. Métodos de prueba
8. Criterio de aceptación
9. Marcado
10. Vigilancia
11. Procedimiento de Evaluación de la Conformidad
12. Sanciones
13. Concordancia con normas internacionales
Apéndice A. Normativo. Manual de operación y póliza de garantía
Apéndice B. Normativo. Formato de informe de resultados
Apéndice C. Normativo. Mediciones de emisiones y desempeño basadas en laboratorios -Consideraciones adicionales
Apéndice D. Informativo. Método gravimétrico de túnel de dilución para captura total de medición de PM2.5
Apéndice E. Informativo. Secuencia de la prueba estándar - Consideraciones adicionales
Apéndice F. Informativo. Recomendaciones para la instalación de chimeneas
14. Bibliografía
15. Transitorios
Figuras
Figura 1 - Diagrama de la secuencia de la prueba estándar para estufas con un solo nivel de potencia
Figura 2 - Diagrama de la secuencia de la prueba estándar para estufas con un rango de potencia de cocción
Figura 3 - Gráfico ilustrativo de la temperatura del agua contra el tiempo para cualquier fase de prueba cuando la temperatura del agua alcanza el punto de ebullición local antes del final del período de combustión del biocombustible
Figura 4 - Gráfico ilustrativo de la temperatura del agua contra el tiempo para cualquier fase de prueba cuando la temperatura del agua alcanza el punto de ebullición local al final del período de combustión del biocombustible
Figura 5 - Gráfico ilustrativo de la temperatura del agua contra el tiempo para cualquier fase de prueba cuando la temperatura del agua no alcanza el punto de ebullición local
Figura 6 - Ejemplo de distribución de marcado para estufas que funcionan con leña
Figura 7 - Ejemplo de distribución de marcado para estufas que funcionan con leña con incumplimiento en la especificación de emisiones fugitivas
Figura 8 - Código QR a agregar en el marcado de las estufas que funcionan con leña
Figura C.1 - Diagrama representativo de un sistema de muestreo de la concentración en masa de aerosol
Figura C.2 - Diagrama representativo de un sistema de muestreo de gas carbónico
Figura C.3 - Concentraciones variables en el tiempo de CO2 y CO en el tubo de muestra
Figura D.1 - Campana y aparatos del túnel de dilución para recolectar las emisiones totales de las estufas
Figura D.2 - Campana y aparatos del túnel de dilución para recolectar emisiones fugitivas (intramuros) de estufas
Figura D.3 - Campana y aparatos de túnel de dilución para recolectar las emisiones en la chimenea excluyendo emisiones fugitivas de las estufas
Figura D.4 - Tren de muestreo de PM2.5
Figura E.1 - Montaje de la olla de BoPET
Figura E.2 - Ejemplo de cálculo del tamaño de la olla de BoPET para una plancha de 40 cm por 60 cm
Figura E.3 - Ejemplo de las dimensiones de la superficie de la olla de BoPET en contacto con la superficie de la plancha de 40 cm por 60 cm
Figura E.4 - Ejemplo de dimensiones de olla de BoPET para una plancha de 40 cm por 60 cm
Figura E.5 - Ejemplo de cálculo del tamaño de la olla usando dos ollas de BoPET para una plancha de 40 cm por 60 cm
Figura E.6 - Ejemplo de las dimensiones de la superficie de la olla de BoPET para cada una de las dos ollas en contacto con la plancha de 40 cm por 60 cm
Figura E.7 - Ejemplo de las dimensiones de cada una de las dos ollas de BoPET para una plancha de 40 cm por 60 cm
Tablas
Tabla 1 - Valores de eficiencia térmica mínimos
Tabla 2 - Puntuaciones mínimas de la determinación del perfil de temperatura
Tabla 3 - Valores máximos de emisiones totales por energía útil para las estufas que funcionan con leña
Tabla 4 - Valores de emisiones fugitivas máximos para las estufas que funcionan con leña
Tabla 5 - Criterios de aceptación de la medición para la secuencia de la prueba estándar
Tabla 6 - Especificaciones basadas en el desempeño para los métodos de medición de CO y CO2
Tabla 7 - Muestras y pruebas a realizar
Tabla C.1 - Ventajas y desventajas de los tipos de filtros
Tabla E.1 - Equivalencias
1. Objetivo y campo de aplicación
La presente Norma Oficial Mexicana establece las especificaciones de desempeños térmicos y seguridad; así como los métodos de prueba, el Procedimiento de Evaluación de la Conformidad y el marcado, aplicable a las estufas para cocinar que utilizan leña como combustible, que cuentan con una cámara de combustión, que se fabriquen, importen, comercialicen, construyan o se ensamblen en los Estados Unidos Mexicanos. Esto con el propósito de promover un uso eficiente de los recursos energéticos, prevenir el peligro a los consumidores y para la conservación de sus bienes.
Esta Norma Oficial Mexicana tutela los objetivos legítimos de interés público, con relación a la protección a la integridad física, a la salud, y a la vida de los trabajadores en los centros de trabajo, así como al uso y aprovechamiento de los recursos naturales, establecidos en el artículo 10 fracciones II y IX de la Ley de Infraestructura de la Calidad.
2. Referencias normativas
Esta Norma Oficial Mexicana se complementa con las siguientes normas vigentes o las que las sustituyan:
2.1 NOM-008-SE-2021, Sistema general de unidades de medida (cancela a la NOM-008-SCFI-2002), publicada en el Diario Oficial de la Federación el 29 de diciembre de 2023.
2.2 NOM-106-SCFI-2017, Características de diseño y condiciones de uso de la Contraseña Oficial. Publicada en el Diario Oficial de la Federación el 8 de septiembre de 2017.
2.3 NMX-Q-001-NORMEX-2018, Estufas que funcionan con leña - Evaluación de funcionalidad, seguridad, durabilidad, eficiencia térmica y nivel de emisiones-Especificaciones, Métodos de prueba y requisitos mínimos. Declaratoria de vigencia publicada en el Diario Oficial de la Federación el 1 de marzo de 2019.
2.4 ISO 19867-1:2018. Clean cookstoves and clean cooking solutions - Harmonized laboratory test protocols - Part 1: Standard test sequence for emissions and performance, safety and durability.
2.5 ISO 25597:2013. Stationary source emissions - Test method for determining PM2,5 and PM10 mass in stack gases using cyclone samplers and sample dilution.
2.6 ISO 18125:2017. Solid biofuels - Determination of calorific value.
2.7 ISO 16948:2015. Solid biofuels - Determination of total content of carbon, hydrogen and nitrogen.
2.8 ISO 3966:2020. Measurement of fluid flow in closed conduits - Velocity area method using Pitot static tubes.
3. Definiciones
Para la correcta aplicación de esta Norma Oficial Mexicana se deben considerar las siguientes definiciones:
3.1. Alta potencia
Potencia máxima de cocinado para la cual se diseñó una estufa y se mide en kW.
3.2. Ampliación o reducción del certificado de la conformidad de producto
Cualquier modificación al certificado de la conformidad de producto durante su vigencia, que puede ser en modelo, marca, país de origen, bodega y especificaciones.
3.3. Autoridad competente
La Secretaría de Energía a través de la Comisión Nacional para el Uso Eficiente de la Energía y la Secretaría de Economía a través de la Dirección General de Normas, conforme a sus atribuciones y en el ámbito de sus respectivas competencias.
3.4. Baja potencia
Potencia mínima de cocinado para la cual se diseñó una estufa, medida en kW.
3.5. Biocombustible
Leña de pino o encino blanco.
3.6. BoPET
Tereftalato de polietileno orientado biaxialmente.
3.7. Campo
Lugar donde normalmente se realiza el cocinado, en condiciones reales, como las viviendas o las comunidades.
3.8. Centro
Es el registro de la temperatura en el centro geométrico de la plancha o comal.
3.9. Cancelación del certificado de la conformidad de producto
Acto por medio del cual el Organismo de Certificación de Producto invalida de forma definitiva el certificado de la conformidad de producto.
3.10. Cámara de combustión
Zona o región delimitada en donde se realiza la combustión del biocombustible (leña) y el comburente (generalmente aire).
3.11. Certificación
Procedimiento por el cual se asegura, mediante la revisión, el análisis e interpretación de informes de resultados y la comprobación de las características de un producto, que este se ajusta a las especificaciones establecidas en esta Norma Oficial Mexicana.
3.12. Certificado de la Conformidad de Producto
Documento mediante el cual el Organismo de Certificación de Producto hace constar que un producto, proceso o servicio cumple con las especificaciones establecidas en la presente Norma Oficial Mexicana.
3.13. Chimenea
Accesorio de una estufa que funciona con leña que permite ventilar los gases generados en la combustión de leña de las estufas.
3.14. Eficiencia térmica
Relación entre energía útil y la energía liberada.
3.15. Emisiones fugitivas
Aquellas que no son ventiladas por medio de una chimenea. Estas pueden provenir de imperfecciones en la chimenea, fugas en el cuerpo de la estufa y/o regresar por la cámara de combustión de la estufa.
3.16. Emisiones en la chimenea
Aquellas que son ventiladas por medio de una chimenea.
3.17. Energía liberada
Energía total emitida por el biocombustible de acuerdo con su poder calorífico y su masa.
3.18. Energía útil
Energía transferida al contenido del recipiente de cocinado, incluyendo el calor sensible que eleva la temperatura del contenido del recipiente y el calor latente que evapora el agua del recipiente. Propuesto en el ISO 19867-1.
3.19. Estufa que funciona con leña
Dispositivo empleado principalmente para cocinar alimentos que utiliza como combustible leña; el cual cuenta con una o más cámaras de combustión y uno o más quemadores.
3.20. Estufa tipo plancha
Estufa en la cual la mayoría del cocinado de los alimentos se realiza colocando los alimentos o las ollas en una superficie caliente: comal o plancha, que puede ser de barro, cerámica o metal (puede o no tener opción para fuego directo a través de tapas o anillos removibles).
3.21. Estufa a fuego directo
Estufa que no cuenta con una plancha o comal fija como superficie de cocinado y que es utilizada colocando los recipientes de cocinado (ollas) directamente sobre la cámara de combustión en contacto con el fuego.
3.22. Evaluación de la conformidad
Proceso técnico que permite demostrar el cumplimiento con la presente Norma Oficial Mexicana. Comprende, entre otros, los procedimientos de muestreo, prueba, inspección, evaluación y certificación.
3.23. Exterior
Área que se encuentra fuera de la vivienda, que cuenta con condiciones adecuadas de ventilación que impiden la acumulación de gases o partículas contaminantes que podrían generar un riesgo a la seguridad.
3.24. Factor de emisión por energía entregada
Relación de la masa de un contaminante emitido al ambiente por energía útil (MJu), producida durante el proceso de combustión de biocombustible (leña), se reporta en unidades de g/MJu o mg/MJu.
3.25. Familia de productos
Grupo de productos que, de acuerdo con las características descritas en el inciso 11.3.6, son clasificados como del mismo tipo, en el que las variantes son de carácter estético o de apariencia, pero conservan las características de diseño que aseguran el cumplimiento con esta Norma Oficial Mexicana.
3.26. Informe de pruebas
Documento que emite un laboratorio de pruebas acreditado y aprobado en los términos de la Ley de Infraestructura de la Calidad (LIC) y su Reglamento, mediante el cual se presentan los resultados obtenidos en las pruebas realizadas a la muestra seleccionada.
3.27. Informe del sistema de gestión de la calidad
El que otorga un Organismo de Certificación de Producto acreditado y aprobado, una vez finalizada la revisión en sitio del sistema de calidad, a efecto de hacer constar, que dicho sistema que se pretende certificar abarca la línea de producción y contempla procedimientos para asegurar el cumplimiento con la presente Norma Oficial Mexicana.
3.28. Laboratorio de pruebas
Persona acreditada y aprobada para realizar pruebas de acuerdo con esta Norma Oficial Mexicana, conforme lo establece la LIC y su Reglamento.
3.29. Lote de producción
Conjunto de unidades específicas de producto, las cuales se producen e identifican de manera inequívoca, ya sea por un número único de identificación, fecha particular de fabricación, etcétera. Del cual se toma la muestra tipo para su evaluación y así determinar su conformidad con la presente Norma Oficial Mexicana.
3.30. Material particulado 2.5
Material sólido o líquido de diámetro aerodinámico de 2.5 micrómetros, con un tamaño suficientemente pequeño para permanecer en el aire.
3.31. Monóxido de carbono
Gas tóxico formado durante la combustión de material carbonoso bajo condiciones de oxigenación inadecuada.
3.32. Olla de prueba
Recipiente construido con una película de BoPET, es flexible, de color trasparente o blanco. Se utiliza para contener agua.
3.33. Organismo de Certificación de Producto
Persona acreditada y aprobada conforme a la LIC y su Reglamento, que tenga por objeto realizar funciones de certificación a los productos, procesos y servicios que deriven en la fabricación del producto objeto del campo de aplicación de la presente Norma Oficial Mexicana.
3.34. Organismo de Certificación para sistemas de gestión de la calidad
Persona acreditada conforme a la LIC y su Reglamento, que tenga por objeto realizar funciones de certificación de sistemas de gestión de la calidad.
3.35. Plancha o comal
Superficie plana sobre la cual se realizan las tareas de cocción en la estufa que funciona con leña.
3.36. Poder calorífico
Energía de combustión de un biocombustible, determinado mediante un calorímetro, su unidad es MJ/kg.
3.37. Potencia
Energía liberada durante la combustión del biocombustible (kW) durante un periodo de tiempo.
3.38. Producto
Las estufas que funcionan con leña que se indican en el campo de aplicación de la presente Norma Oficial Mexicana.
3.39. Prueba de ebullición de agua
Prueba de una estufa usando uno o más recipientes de cocinado o intercambiadores de calor, en los cuales se calienta agua pudiendo llegar o no al punto de ebullición durante una o dos potencias de uso en un intervalo de tiempo determinado.
3.40. Quemador
Zona o región delimitada en una estufa, en donde la energía de los gases generados durante la combustión es aprovechada para las tareas de cocinado.
3.41. Recipiente de cocinado
Olla o contenedor fabricado de un material resistente al calor en el cual se preparan alimentos o se hierve agua.
3.42. Región A
Es el promedio de 4 puntos equidistantes ubicados en el punto medio entre el centro y el límite exterior de la plancha o comal.
3.43. Región B
Es el promedio de 8 puntos equidistantes ubicados en el punto medio entre la Región A y el límite exterior de la plancha o comal.
3.44. Renovación del certificado de la conformidad
Emisión de un nuevo certificado de la conformidad, previo seguimiento y cumplimiento con los requisitos y especificaciones establecidos en la presente Norma Oficial Mexicana.
3.45. Seguimiento
Comprobación a la que están sujetos los productos certificados de acuerdo con la presente Norma Oficial Mexicana, así como, en su caso, el sistema de aseguramiento de la calidad, a los que se les otorgó un certificado de la conformidad de producto con el objeto de constatar que continúan cumpliendo con la Norma Oficial Mexicana y del que depende la vigencia de dicha certificación.
3.46. Servicio
Actividad realizada en la cual interfieren proveedor o prestador de servicio y cliente o usuario, de la cual se acuerda la fabricación de estufas que funcionan con leña del Tipo 1 o Tipo 2.
Nota: Un servicio puede comprender la construcción de 1 o más estufas que funcionan con leña.
3.47. Sistema de dilución
Aparato que mezcla una muestra de vapor con aire, nitrógeno o algún otro gas en un porcentaje determinado.
3.48. Suspensión del certificado de conformidad de producto
Acto mediante el cual el Organismo de Certificación de Producto interrumpe la vigencia, de manera temporal, de forma parcial o total, del certificado de la conformidad de producto.
3.49. Tapas o anillos removibles
Accesorios del comal o plancha que al removerse permiten tener fuego directo en las tareas de cocinado.
3.50. Tasa de emisión
Masa de un contaminante emitido al ambiente en un tiempo determinado, se reporta en unidades como g/h o g/s.
3.51. Tipo 1. Construcción in situ.
Equipo que se construye en el lugar donde será utilizado, el cual podría estar construido con materiales como lo es barro, arena, ladrillo, cemento, etc.
3.52. Tipo 2. Ensamblada in situ con piezas prefabricadas.
Equipo prefabricado cuya estructura principal está hecha a base de piezas prefabricadas que se ensamblan en sitio.
3.53. Tipo 3. Ensamblada de fábrica.
Equipo que se ensambla en una planta productiva y se instala en sitio.
3.54. Túnel de dilución
Dispositivo en el cual se mezcla aire limpio o del ambiente con contaminantes mediante un flujo volumétrico controlado y medido.
4. Símbolos y abreviaturas
| > | Mayor que |
| < | Menor que |
| ~ | Aproximadamente |
| ± | Más menos |
| % | Por ciento |
| Dp | Diferencial de presión |
| s | Desviación estándar de las muestras individuales |
| sM | Error estándar de la media |
| g | Calor latente de vaporización del agua al punto de ebullición, kJ/kg |
| hc | Eficiencia térmica de la estufa sin crédito energético para el carbón restante, % |
| A | Área de la sección transversal del ducto, m2 |
| B | Masa del biocombustible alimentado, kg |
| C | Centro |
| Cp | Capacidad calorífica aproximada isobárica específica de la masa de agua entre 20 °C y 100 °C: 4.18 J kg-1 K-1 |
| CO | Monóxido de carbono |
| CO2 | Dióxido de carbono |
| G1 | Masa inicial de agua en el recipiente de cocción, kg |
| G2 | Masa final de agua en el recipiente de cocción, kg |
| H | Vapor de agua en la corriente de gas como proporción del volumen, fracción sin unidades |
| MJu | Mega Joule útil |
| mPM2.5 | Masa de material particulado fino emitido durante el período de muestreo, mg |
| mmuestra | Masa del material particulado fino recolectado en el filtro, mg |
| N | Número de muestras |
| Pc | Potencia de cocción, kW |
| PM | Material particulado |
| PM2.5 | Material particulado con diámetro menor que 2.5 mm |
| Ps | Presión absoluta del gas en el conducto en la ubicación de la medición de la velocidad, mm Hg |
| Pstd | Presión absoluta estándar, 760 mm Hg |
| Q1 | Energía útil entregada, kJ |
| Qd | Caudal volumétrico seco de gas total corregido a condiciones estándar, m3/s |
| Qnet.ar | Poder calorífico inferior del biocombustible, como se quema, kJ/kg |
| Qmuestra | Caudal volumétrico de gas en la corriente de la muestra, m3/ min |
| Qtúnel | Caudal volumétrico de gas en el túnel de dilución, m3/ min |
| qp,net,m | Poder calorífico inferior a presión constante, en J/g, del biocombustible con contenido humedad; M (usualmente como se recibe Mar) |
| qV, gr, d | Poder calorífico superior a volumen constante, en J/g, del biocombustible libre de humedad |
| RA | Región A |
| RB | Región B |
| T1 | Temperatura inicial del agua en el recipiente de cocción, °C |
| T2 | Temperatura del punto de ebullición o la temperatura más alta alcanzada del agua en el recipiente de cocción, °C |
| Ts | Temperatura absoluta del gas en el conducto, en la misma ubicación de la medición de la velocidad, K |
| Tstd | Temperatura absoluta estándar, 293 K |
| t1 | Tiempo cuando se produce el encendido, s |
| t2 | Tiempo cuando se alcanza el punto de ebullición del agua, s |
| t3 | Tiempo final al final de una fase de prueba, s |
| V | Velocidad promedio del gas en el ducto, m/s |
| w(H)d | Contenido de hidrógeno, en porcentaje en masa, del biocombustible libre de humedad (seco) (incluyendo el hidrógeno del agua de hidratación de la materia mineral, así como el hidrógeno en la sustancia de biocombustible) |
| w(N)d | Contenido de nitrógeno, en porcentaje en masa, del biocombustible libre de humedad |
| w(O)d | Contenido en oxígeno, en porcentaje en masa, del biocombustible libre de humedad |
5. Clasificación
Las estufas que funcionan con leña comprendidas en el campo de aplicación de esta Norma Oficial Mexicana se clasifican de la siguiente manera:
5.1. De acuerdo con su construcción:
a) Tipo 1. Construcción in situ.
b) Tipo 2. Ensamblada in situ con piezas prefabricadas.
c) Tipo 3. Ensamblada de fábrica.
5.2. De acuerdo con su chimenea:
a) Con chimenea
b) Sin chimenea
5.3. De acuerdo con el tipo de cocción:
a) Estufa tipo plancha
b) Estufa a fuego directo
6. Especificaciones
6.1. Eficiencia térmica
6.1.1. Eficiencia térmica utilizando la prueba de ebullición de agua
La eficiencia térmica de las estufas que funcionan con leña comprendidas dentro del campo de aplicación de esta Norma Oficial Mexicana debe ser mínimo la establecida en la Tabla 1. El método de prueba para determinar la eficiencia térmica debe ser el establecido en el inciso 7.1.
Tabla 1 - Valores de eficiencia térmica mínimos
| Eficiencia térmica mínima % |
| Baja potencia | Alta potencia |
| 20 | 20 |
6.1.2. Perfil de temperatura en la superficie de cocción
El puntaje obtenido por las estufas que funcionan con leña con plancha o comal comprendidas dentro del campo de aplicación de esta Norma Oficial Mexicana debe ser como mínimo el establecido en la Tabla 2; lo anterior de acuerdo con las Tablas de puntaje para el Método de prueba para la determinación del perfil de temperatura establecidas en el numeral E.2. de la Norma Mexicana NMX-Q-001-NORMEX-2018. El método de prueba para determinarlo debe ser el establecido en el inciso 7.1.7.
Tabla 2 - Puntuaciones mínimas de la determinación del perfil de temperatura
| Prueba | Temperatura (°C) | Puntuación mínima |
| Temperatura máxima promedio de C y RA (5 puntos) a los 10 minutos | Mayor que 200 | 3 |
| Temperatura máxima promedio de C y RA (9 puntos) a los 30 minutos | Mayor que 350 | 3 |
| Homogeneidad entre el C y la región RA | Mayor o igual que 50 y menor o igual que 80 | 3 |
| Homogeneidad entre el C y la región RB | Mayor o igual que 100 y menor o igual que 150 | 3 |
| Homogeneidad de C en sus puntos opuestos | Mayor o igual que 50 y menor o igual que 80 | 3 |
6.2. Seguridad
6.2.1. Bordes y puntos afilados
Las estufas que funcionan con leña deben estar construidas de tal manera que no presenten bordes y puntos afilados que representen un riesgo a la integridad física de las personas.
Esta condición se comprueba cuando la estufa que funciona con leña obtiene una calificación mínima de 3, después de la aplicación del método de prueba establecido en el inciso 7.2.1.
6.2.2. Inestabilidad o vuelco de la estufa
Las estufas que funcionan con leña no aseguradas al suelo o pared deben estar diseñadas de tal manera que regresen a su posición inicial después de pequeñas inclinaciones a fin de evitar accidentes que puedan representar un riesgo a la integridad física de las personas.
Esta condición se comprueba cuando la estufa que funciona con leña obtiene una calificación mínima de 3 después de la aplicación del método de prueba establecido en el inciso 7.2.2.
Se excluye de esta especificación a aquellas estufas que funcionan con leña que deban fijarse al suelo o a una pared para su uso.
6.2.3. Contención del combustible
Las estufas que funcionan con leña deben estar construidas de tal manera que no expulsen biocombustible encendido fuera de la cámara de combustión que puedan representar un riesgo a la integridad física de las personas o a la de sus bienes.
Esta condición se comprueba cuando la estufa que funciona con leña obtiene una calificación mínima de 3 después de la aplicación del método de prueba establecido en el inciso 7.2.3.
6.2.4. Temperatura superficial de la estufa
Las estufas que funcionan con leña deben estar construidas de tal manera que las temperaturas en su superficie no representen un riesgo a la integridad física de las personas cuando estas son tocadas por un corto periodo de tiempo.
Se excluye el quemador de esta especificación.
Esta condición se comprueba cuando la estufa que funciona con leña obtiene una calificación mínima de 3 después de la aplicación del método de prueba establecido en el inciso 7.2.4.
6.2.5. Transferencia de calor de la estufa hacia los alrededores
Las estufas que funcionan con leña deben estar construidas de tal manera que la transferencia de calor hacia sus alrededores no represente un riesgo a la integridad física de las personas o a la de sus bienes.
Esta condición se comprueba cuando la estufa que funciona con leña obtiene una calificación mínima de 3 después de la aplicación del método de prueba establecido en el inciso 7.2.4.
6.2.6. Temperatura de partes para la manipulación de la estufa
Las estufas que funcionan con leña deben estar construidas de tal manera que las temperaturas de las superficies que son utilizadas durante su operación normal no representen un riesgo a la integridad física de las personas.
Esta condición se comprueba cuando la estufa que funciona con leña obtiene una calificación mínima de 3 después de la aplicación del método de prueba establecido en el inciso 7.2.4.
6.2.7 Determinación de fuego o flama alrededor de la superficie de cocinado
Las estufas que funcionan con leña deben estar construidas de tal manera, que eviten que las llamas sobresalgan de la estufa y rodeen la superficie de cocinado, durante su operación normal, para reducir el riesgo a la integridad física de las personas.
Esta condición se comprueba cuando la estufa que funciona con leña obtiene una calificación mínima de 3 después de la aplicación del método de prueba establecido en el inciso 7.2.5.
6.2.8 Determinación de fuego o flama saliendo de la cámara de combustión o ductos
Las estufas que funcionan con leña deben estar construidas de tal manera, que eviten la presencia de flamas que sobresalgan de la cámara de combustión y ductos, durante su operación normal, reduciendo el riesgo a la integridad física de las personas.
Esta condición se comprueba cuando la estufa que funciona con leña obtiene una calificación mínima de 3 después de la aplicación del método de prueba establecido en el inciso 7.2.6.
Se excluye el área de cocción de esta especificación.
6.2.9. Emisiones totales por energía útil utilizando la prueba de ebullición de agua
Las emisiones totales de las estufas que funcionan con leña no deben representar un riesgo para la integridad física de las personas. Estas deben ser como máximo las establecidas en la Tabla 3. El método de prueba para determinarlas debe ser el establecido en el inciso 7.1.
Tabla 3 - Valores máximos de emisiones totales por energía útil para las estufas que funcionan con leña
| Alta potencia | Baja potencia |
| CO (g/MJu) | PM2.5 (mg/MJu) | CO (g/MJu) | PM2.5 (mg/MJu) |
| 20 | 500 | 20 | 500 |
6.2.10. Emisiones fugitivas por energía útil de las estufas que funcionan con leña
Las emisiones fugitivas de las estufas que funcionan con leña no deben representar un riesgo para la integridad física de las personas. Estas deben ser como máximo las establecidas en la Tabla 4. El método de prueba para determinarlas debe ser el establecido en el inciso 7.1.
Tabla 4 - Valores de emisiones fugitivas máximos para las estufas que funcionan con leña
| Alta potencia | Baja potencia |
| CO (g/MJu) | PM2.5 (mg/MJu) | CO (g/MJu) | PM2.5 (mg/MJu) |
| 1 | 30 | 1 | 30 |
En el caso de que la estufa bajo evaluación sea una estufa sin chimenea y exceda los valores máximos de emisiones fugitivas establecidos en la Tabla 4, esta debe marcarse como para uso exclusivo en áreas exteriores conforme a lo dispuesto en el Capítulo 9 de la presente Norma Oficial Mexicana. Este requisito no exime del cumplimiento con lo establecido en el inciso 6.2.9.
7. Métodos de prueba
7.1. Método de prueba de eficiencia térmica (desempeños térmicos)
7.1.1. Mediciones de desempeño y emisiones en laboratorio de pruebas
7.1.1.1 General
En este capítulo, se especifican mediciones y métricas para las emisiones y para el desempeño térmico. Las mediciones necesarias y opcionales se especifican para la secuencia de prueba estándar (ver inciso 7.1.2.).
Todas las estufas se deben someter a las pruebas descritas en este inciso.
Se proporciona más información sobre la medición de emisiones y el desempeño en laboratorio, en el Apéndice C de esta Norma Oficial Mexicana.
7.1.1.2. Condiciones de prueba
Condiciones ambientales (temperatura, altitud, humedad relativa, velocidad de la corriente de aire y concentraciones de contaminantes de fondo) se anotarán y registrarán inmediatamente antes e inmediatamente después de cada prueba, y los resultados incluirán la corrección de las concentraciones de fondo, según sea necesario.
Las condiciones de prueba para las estufas que utilizan combustión de biocombustible serán las siguientes:
a) temperatura ambiental comprendida entre 5 °C a 40 °C;
b) velocidad de la corriente de aire < 1.0 m/s, y
c) la estufa se colocará de manera que evite la interferencia o la contaminación cruzada entre la misma y cualquier otra fuente de emisiones o producción de calor.
Los instrumentos de tiempo real se almacenarán y utilizarán en un entorno según lo especifican los fabricantes de los instrumentos.
Si las muestras de emisiones son recolectadas en un ambiente con potencial de condensación líquida (temperatura de los gases de salida > temperatura de saturación), y de ser requerido por el equipo de medición, las muestras se secarán antes de llegar a cualquier analizador de base seca.
7.1.1.3. Mediciones
7.1.1.3.1. Mediciones requeridas para la secuencia de la prueba estándar
Para el inciso 7.1.2., las mediciones incluirán para cada fase de prueba:
a) masa de biocombustible alimentado;
b) masa de carbón remanente al final de la fase de prueba, si está presente;
c) contenido de humedad del biocombustible, como se quema, sobre una base húmeda, si corresponde;
d) contenido energético del biocombustible, como se quema (poder calorífico inferior);
e) masa de agua en el (los) recipiente (s) de cocción al principio y al final de la fase de prueba;
f) temperatura del agua en el (los) recipiente (s) de cocción; la temperatura y el tiempo se registrarán al menos cada 1 minuto; para las pruebas de emisiones, el tiempo durante la fase de prueba, así como las mediciones de temperatura y emisiones, deberán ser registradas por un sistema de adquisición de datos al menos cada 10 s;
g) masa de emisiones de PM2.5 por el método gravimétrico (filtro);
h) masa de emisiones de CO (de acuerdo con las especificaciones basadas en el desempeño en el inciso 7.1.1.3.5.);
i) masa de emisiones de CO2 (especificaciones basadas en el desempeño), y
j) energía útil entregada (inciso 7.1.3.2.).
7.1.1.3.2. Métricas requeridas para la secuencia de la prueba estándar
Para el inciso 7.1.2., las métricas reportadas por separado para cada fase de prueba incluyen:
a) eficiencia térmica sin crédito energético para el carbón remanente, si está presente;
b) potencia de cocinado;
c) tasa de quemado del biocombustible;
d) masa de PM2.5 por energía útil entregada;
e) masa de PM2.5 por tiempo;
f) masa de CO por energía útil entregada, y
g) masa de CO por tiempo.
7.1.1.3.3. Datos de emisión continuos
Para el inciso 7.1.2, los datos de emisión continuos para CO y CO2 se registrarán al menos cada 10 s y se reportarán junto con los resultados especificados en el Apéndice B de esta Norma Oficial Mexicana.
7.1.1.3.4. Objetivos de la medición de calidad
Para el inciso 7.1.2, secuencia de la prueba estándar, los datos serán rechazados si no cumplen con los criterios de aceptación de medición especificados en la Tabla 5. Para la medición de la masa de PM2.5, la balanza analítica deberá tener una resolución de 0.01 mg o mejor. La masa de carga del filtro debe ser al menos 10 veces mayor que la exactitud y precisión de la balanza (ver inciso 7.1.1.3.8.7.1.5).
Tabla 5 - Criterios de aceptación de la medición para la secuencia de la prueba estándar
| Medición | Indicadores | Criterios de aceptación |
| Masa de agua y biocombustible, balanza electrónica | Exactitud Precisión | ± 1 g ± 1 g |
| Temperatura del agua, Termopar o RTD (Detector de temperatura de resistencia) | Exactitud Precisión | ± 0.5 ° C ± 0.5 ° C |
| Calor de combustión del biocombustible (poder calorífico inferior) | Exactitud Precisión | ± 0.5% ± 0.5% |
| Masa del contenido de humedad del biocombustible, balanza electrónica | Exactitud Precisión | ± 1 g ± 0.5 g |
| Masa de PM2.5, balanza analítica | Exactitud Precisión | ± 0.05 mg ± 0.05 mg |
| Masa de PM2.5, muestreo del flujo del aire | Exactitud Precisión | ± 3% nominal ± 3% nominal |
| Tasas del flujo volumétrico del gas en el túnel de dilución | Exactitud Precisión | ± 5% nominal ± 5% nominal |
| Temperatura del gas en el túnel de dilución, termopar | Exactitud Precisión | ± 1 ° C ± 1 ° C |
| Contenido de humedad del biocombustible, higrómetro de contacto | Precisión Resolución | ± 3% ± 0.1 % |
7.1.1.3.5. Medición de monóxido de carbono
Las concentraciones de monóxido de carbono se medirán con cualquier método que pueda ser verificado con gases de calibración para cumplir con las especificaciones basadas en el desempeño que se dan en la Tabla 6. Esta verificación debe documentarse. Ejemplos de métodos de referencia se indican en la Tabla 6.
Tabla 6 - Especificaciones basadas en el desempeño para los métodos de medición de CO y CO2
| Mediciones | Referencia | Indicadores | Criterios de aceptación |
| Concentración de CO | EPA Method 10 - Carbon Monoxide - NDIR | Linealidad de calibración Sesgo cero Sesgo del lapso Derivación cero Derivación del lapso | ± 2% de escala ± 5% de escala ± 5% de escala ± 3% de escala ± 3% de escala |
| Concentración de CO2 | EPA Method 3A |
7.1.1.3.6. Verificación
Las mediciones de las concentraciones de contaminantes gaseosos se verificarán según la Tabla 6 con gases de calibración certificados al principio y al final de un período de prueba de una estufa. Las verificaciones deberán documentarse. Una verificación final fallida invalidará todos los datos de concentración de contaminantes obtenidos después de la última verificación aprobada.
7.1.1.3.7. Método gravimétrico de túnel de dilución de captura total para la medición de PM2.5
7.1.1.3.7.1 Generalidades
Este método es aplicable para la determinación de las emisiones de PM2.5 de estufas, ver Apéndice D de esta Norma Oficial Mexicana. Como se muestra en las Figuras D.1 a D.4 del Apéndice D, los gases de salida de una estufa se recolectan con una campana de recolección total, y se combinarán con aire de dilución ambiente. Las partículas deberán ser retiradas proporcionalmente de un solo punto en un túnel de dilución y recogidas en un filtro. La masa de las partículas se determinará gravimétricamente después de la eliminación del agua no unida con un desecador o después de equilibrar a temperatura y humedad constante.
7.1.1.3.7.2. Equipo y suministros
7.1.1.3.7.2.1. Tren de muestreo
La configuración del tren de muestreo se muestra en la Figura D.4 del Apéndice D, y consiste en los siguientes componentes:
7.1.1.3.7.2.1.1. Sonda
La sonda de muestreo se construye de tubos sin costura de acero inoxidable; por ejemplo, tipo 316 o grado más resistente a la corrosión.
Es recomendable realizar un muestreo isocinético. Ver el Apéndice C de esta Norma Oficial Mexicana para más información sobre el muestreo isocinético.
7.1.1.3.7.2.1.2. Dispositivo de muestreo de tamaño selectivo de partícula
Un ciclón o impactador se utilizará para la muestra de PM2.5. El ciclón o impactador para la medición de PM2.5 debe diseñarse de manera que la curva de separación de PM2.5 tenga una forma similar de separación eficiente del 50 % a 2.5 mm, como se especifica en la Figura B.1. de la ISO 25597:2013.
7.1.1.3.7.2.1.3. Portafiltro
El diseño del soporte debe proporcionar un sello positivo contra fugas desde el exterior o alrededor de los filtros.
7.1.1.3.7.2.1.4. Sistema de medición
El caudal de aire de muestreo debe ser controlado con un orificio crítico, controlador de flujo de masa u otro dispositivo de control.
a) Si se utiliza un orificio crítico, la presión manométrica a través del orificio crítico debe ser monitoreada para garantizar que la caída de presión crítica se logre.
b) Si se utiliza una válvula como dispositivo de control manual, el caudal de aire de muestreo se debe medir con un medidor de gas seco u otro dispositivo volumétrico de medición de caudal de aire.
c) Si se utiliza un medidor de gas seco, se requiere un secador. El secador debe ser cualquier sistema capaz de eliminar el agua del gas de muestra a menos del 1.5 % de humedad (porcentaje en volumen) previo del sistema de medición.
d) Si se utiliza un dispositivo volumétrico de medición del caudal de aire, la presión del aire y las temperaturas deben ser medidas y las mediciones se utilizarán para corregir cualquier condición inconsistente entre el flujo de aire de muestreo ubicado en el túnel de dilución y el flujo de aire del sistema de muestreo.
7.1.1.3.7.2.2. Dispositivo de medición del flujo de aire
El flujo de aire del túnel de dilución se puede medir con un tubo Pitot estático, una disposición de Pitot, una placa de orificio, una bomba de volumen constante, o anemómetro de alambre caliente. Si un tubo Pitot u otra sonda anemométrica es usada, entonces mediciones trazables son requeridas (ver incisos del 7.1.1.3.8.4. al 7.1.1.3.8.6.). Si se utiliza una placa de orificio o una bomba de volumen constante, el orificio o la bomba se debe ubicar aguas arriba del lugar de muestreo.
7.1.1.3.7.2.3. Medición de la temperatura del gas en el túnel de dilución
Se debe utilizar un sensor de temperatura capaz de medir la temperatura a ± 1 °C.
7.1.1.3.7.2.4. Campana para la recolección de las emisiones totales de las estufas
La campana debe estar construida de acero, como se muestra en la Figura D.1, y se considera cerrada excepto por una abertura de aproximadamente 1.2 m × 1.8 m. La campana debe tener un diámetro estándar de 0.1 m a 0.3 m capaz de conectarse a un conducto de diámetro estándar de 0.1 m a 0.3 m.
7.1.1.3.7.2.5. Campana para la recolección de emisiones fugitivas (intramuros) de las estufas
La campana debe estar construida de acero, como se muestra en la Figura D.2 del Apéndice D, y se considera cerrada excepto por una abertura de aproximadamente 1.2 m × 1.8 m. La campana debe tener un diámetro estándar de 0.1 m a 0.3 m capaz de conectarse a un conducto de diámetro estándar de 0.1 m a 0.3 m.
7.1.1.3.7.2.6. Campana para la recolección de las emisiones de chimenea de las estufas
La campana debe estar construida de acero, como se muestra en la Figura D.3 del Apéndice D, con un diámetro mínimo del extremo largo de 4 veces el diámetro del conducto, y un estándar del extremo corto de 0.1 m a 0.3 m de diámetro de acoplamiento capaz de conectarse a un conducto estándar de 0.1 m a 0.3 m de diámetro.
7.1.1.3.7.2.7. Codos de 90°
Los codos de acero de 90°, de 0.1 m a 0.3 m de diámetro, deben conectar la campana al túnel de dilución (conducto recto) y el ensamblaje opcional de la compuerta. Al menos un codo de 90° debe estar situado aguas arriba de la sección de muestreo (ver figuras D.1 a D.3 del Apéndice D).
7.1.1.3.7.2.8. Conducto recto
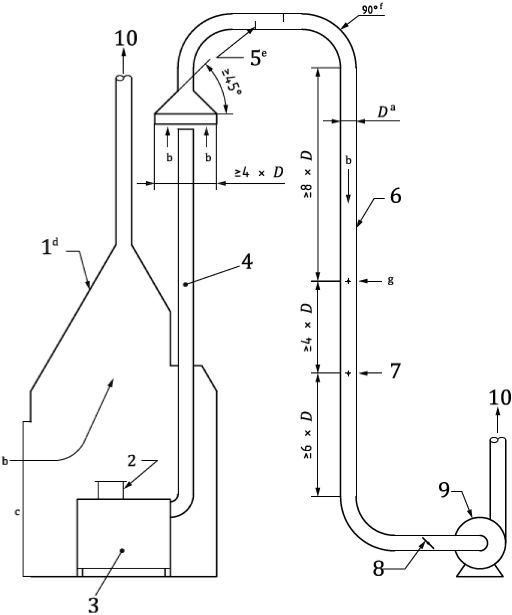
El caudal volumétrico a través de la conducción debe ser elegido de modo que el flujo sea totalmente turbulento en un número Reynolds de al menos Re = 104. Ver el Apéndice C de esta Norma Oficial Mexicana para los cálculos de ejemplo. Se debe utilizar un conducto de acero de 0.1 m a 0.3 m de diámetro para la sección de muestreo (túnel de dilución). Si una sonda anemométrica (p. ej., tubo de Pitot, sonda de anemómetro de hilo caliente) se utiliza para medir la velocidad del aire, entonces en la sección de muestreo, al menos 8 diámetros de conducto aguas abajo de los deflectores de mezclado o codo, deben ser dos agujeros (puertos transversales de velocidad) a 90° entre sí, de tamaño suficiente para permitir la entrada de una sonda para mediciones transversales. Alternativamente, este punto aguas abajo será la ubicación de una matriz Pitot. Al menos 12 diámetros del conducto aguas abajo de los deflectores de mezclado o codo deben ser uno o más agujeros (puertos de muestreo) de tamaño suficiente para permitir la entrada de la sonda de muestreo. La longitud del conducto de la salida de la campana a los puertos de muestreo no debe exceder 10 m.
7.1.1.3.7.2.9. Deflectores de mezclado
Un mezclado adecuado debe ser demostrado. Los deflectores de mezclado son opcionales y no se requieren si se demuestra un mezclado adecuado. Ver inciso C.8 del Apéndice C para un método de validación de emisiones bien mezcladas en un conducto.
Para garantizar un mezclado adecuado mediante el uso de deflectores de mezclado, se deben fijar dos semicírculos de acero a 90° del eje del ducto en lados opuestos del ducto, aguas arriba de la sección de muestreo. El espacio entre los deflectores debe ser aproximadamente de 0.3 m.
7.1.1.3.7.2.10. Soplador
Una jaula de ardilla u otro tipo de soplador capaz de extraer gas del túnel de dilución de flujo suficiente para mantener el caudal volumétrico requerido y expulsar el gas a la atmósfera.
7.1.1.3.8 Preparación del sistema
7.1.1.3.8.1. Ensamblaje y limpieza del túnel de dilución
Los esquemas de los túneles de dilución se muestran en las Figuras D.1 a D.3 del Apéndice D. Las dimensiones del túnel de dilución y otras características se describen en los incisos del 7.1.1.3.7.2.4. al 7.1.1.3.7.2.10. El túnel de dilución, las juntas de sellado y las costuras deben ser ensambladas para evitar fugas de aire. El túnel de dilución debe ser limpiado con un cepillo de alambre de tamaño apropiado para chimenea según sea necesario antes de cada período de prueba.
7.1.1.3.8.2. Determinación del tiro de estufas con chimenea
El túnel de dilución de la campana debe estar ubicado en el centro, encima de la chimenea de la estufa. El soplador del túnel de dilución debe funcionar a la velocidad de flujo que se utilizará durante la secuencia de la prueba.
El tiro impuesto en la estufa por el túnel de dilución (es decir, la diferencia en el tiro medido con y sin el túnel de dilución funcionando) debe ser medida. La distancia entre la parte superior de los gases en la estufa y el túnel de dilución de la campana debe ser ajustada de tal manera que el tiro inducido por el túnel de dilución sea inferior que 1.25 Pa. Durante esta comprobación y ajuste, no debe haber fuego en la estufa, y cualquier control de suministro de aire, puertas de abastecimiento de biocombustible, u otras partes móviles de la estufa deben estar en la(s) misma(s) posición(es) que durante la prueba.
7.1.1.3.8.3. Captura de humo
Durante una secuencia de la prueba con la estufa, el túnel de dilución debe estar funcionando, y la salida de gases debe ser monitoreada visualmente. La estufa debe estar funcionando y se determina visiblemente si el gas de salida se observa que se escapa. Si visiblemente se observa que el gas de salida se escapa, entonces se deben hacer los ajustes necesarios a la abertura de la cara de la campana, la velocidad de aire, o la distancia entre la chimenea y la campana, hasta que el gas no escape visiblemente. La estufa debe estar en funcionamiento y se debe confirmar que todo el gas visible sea recolectado por la campana. La secuencia de la prueba debe ser detenida y se determinará el tiro, el procedimiento descrito en el inciso 7.1.1.3.8.2. se debe repetir si una estufa con chimenea es evaluada.
7.1.1.3.8.4. Mediciones de la velocidad del aire con una sonda anemométrica
Si una sonda anemométrica (por ejemplo, tubo Pitot estático) es utilizada como un dispositivo de medición de la velocidad del aire, luego, durante la secuencia de una prueba la velocidad transversal se llevará a cabo y la sonda será ubicada en el túnel de dilución como se describe en el inciso 7.1.1.3.8.6. para identificar el punto de velocidad media. Los puertos de Pitot pueden obstruirse con las corrientes cargadas de partículas. Si se utiliza un tubo estático de Pitot, se demostrará que los puertos de Pitot no se han atascado durante el período de medición. Purgas traseras serán requeridas para prevenir que los puertos de Pitot se obstruyan (ver inciso 6.1.2 de la EPA Method 3 - Molecular Weight).
7.1.1.3.8.5. Velocidad transversal con una sonda anemométrica
Si un tubo estático de Pitot u otra sonda anemométrica se utiliza como dispositivo de medición de la velocidad del aire, entonces el siguiente procedimiento debe ser realizado. Se medirá el diámetro del conducto en la ubicación del puerto transversal de velocidad a través de ambos puertos.
Nota: En el inciso 7.1.1.3.8.2 se especifica que varios dispositivos pueden usarse para medir el flujo de aire. Esta subcláusula (inciso 7.1.1.3.8.5) proporciona instrucciones para el uso de un tubo estático Pitot - el dispositivo de medición de flujo de aire más común.
El área del conducto se calcula utilizando el promedio de los dos diámetros. Una comprobación de fugas preliminar de las líneas de Pitot debe ser conducida. El tubo estático Pitot calibrado se coloca en el centroide del túnel de dilución en cualquiera de los puertos de velocidad transversal. La compuerta o dispositivo similar en la entrada del soplador debe ser ajustado hasta que la velocidad indicada por el tubo estático de Pitot sea aproximadamente de 3.67 m/s, que es la velocidad recomendada para el diámetro del túnel de dilución de 0.15 m para garantizar un flujo totalmente turbulento.
Alternativamente, se pueden utilizar diámetros de túnel de dilución de 0.1 m a 0.3 m. La velocidad del aire puede ajustarse para obtener la captura total de emisiones, y el número de Reynolds será > 104 para asegurar un flujo totalmente turbulento.
La Dp y la temperatura se seguirán leyendo hasta que la velocidad se haya mantenido constante (menos del 5 % de cambio) durante 1 minuto. Una vez que se obtiene una velocidad constante en el centroide del conducto, una velocidad transversal se llevará a cabo (ver inciso 8.3 de la EPA Method 3 - Molecular Weight) utilizando cuatro puntos por recorrido. Los lineamientos sobre las mediciones transversales en el ducto adecuadas para la recolección, se pueden encontrar en las siguientes referencias ISO 3966, EPA Method 2a - Volume Meters o VDI 2640 - Measurement of fluid flow in closed conduits, German Association for Electrical, Electronic, and Information Technologies.
Si el recorrido se realiza utilizando un tubo estático de Pitot, se debe utilizar un dispositivo de medición de presión diferencial con la escala adecuada. La funcionalidad se verifica realizando una prueba de fugas del montaje del tubo de Pitot inmediatamente antes y después de las mediciones de desplazamiento. Una prueba de fugas exitosa demostrará la capacidad de mantener una presión estable (±2.5 cm H2O) de 7.6 cm H2O y 7.6 cm H2O de vacío en los puertos de impacto y presión estática, respectivamente, durante al menos 15 s.
El Dp y la temperatura del túnel se miden en cada punto transversal y se registran las lecturas. El caudal volumétrico seco de gas total corregido a condiciones estándar se calcula usando la Fórmula (1) (ver sección 12 de la EPA Method 3 - Molecular Weight). Se puede suponer que la humedad es del 4 % (100 % de humedad relativa a 29.4 °C). También se pueden usar mediciones directas de humedad (p. ej., las descritas en la EPA Method 5G - PM Wood Heaters from a Dilution Tunnel).
Donde:
Qd es el caudal volumétrico seco de gas total corregido a condiciones estándar, m3/s;
H es el vapor de agua en la corriente de gas como proporción del volumen, fracción sin unidades;
es la velocidad promedio del gas en el ducto, m/s; A es el área de la sección transversal del ducto, m2;
Tstd es la temperatura absoluta estándar, 293 K;
Ts es la temperatura absoluta del gas en el conducto en la ubicación de la medición de la velocidad, K;
Pstd es la presión absoluta estándar, 760 mm Hg;
Ps es la presión absoluta del gas en el conducto en la ubicación de la medición de la velocidad, mm Hg
7.1.1.3.8.6. Prueba de las mediciones de velocidad con una sonda anemométrica
Después de obtener resultados de velocidad transversal que satisfacen los requisitos de caudal, un punto de velocidad media debe ser escogido, y la sonda anemométrica (p. ej. tubo estático de Pitot) y el sensor de temperatura se colocan en ese lugar en el ducto. Alternativamente, la sonda anemométrica y el sensor de temperatura se localizan en el centroide del ducto y se calcula un factor de corrección de velocidad para la posición centroidal. La sonda anemométrica debe ser montada para evitar el movimiento durante la secuencia de la prueba, y los agujeros del puerto deben sellarse para minimizar la fuga de aire. La abertura de la sonda anemométrica debe estar alineada para ser paralela al eje del conducto en el punto de medición. Esta condición se debe comprobar para asegurar que se mantiene durante la secuencia de la prueba (a intervalos de 30 minutos).
La temperatura y la velocidad deben ser monitoreadas durante las secuencias de las pruebas previas a la prueba para asegurar que se mantenga el caudal adecuado. Si es necesario, se deben hacer ajustes al caudal en el túnel de dilución.
7.1.1.3.8.7. Análisis de muestras de filtros
El método de túnel de dilución de captura total especificado en los incisos del 7.1.1.3.7.1 al 7.1.1.3.8 y el método de análisis de la muestra del filtro especificado en esta subcláusula se utiliza para el inciso 7.1.2.
7.1.1.3.8.7.1. Equipos y suministros de análisis de muestras de filtros
7.1.1.3.8.7.1.1. Desecador o cámara de equilibrio
Los filtros se acondicionan antes y después del muestreo, ya sea en
a) un confinamiento hermético para remover el agua no ligada de los filtros mediante el uso de un desecante, o
b) una cámara para lograr un ambiente de equilibrio mediante el control de las condiciones de temperatura y humedad relativa para los filtros.
7.1.1.3.8.7.1.2. Desecante
Sulfato de calcio anhidro, cloruro de calcio o gel de sílice, indicando el tipo (cambia de color con la humedad) se utiliza en el desecador.
7.1.1.3.8.7.1.3. Higrómetro
Se utiliza un higrómetro con una precisión de ± 5 % para medir la humedad en el aire dentro del desecador o cámara de equilibrio.
7.1.1.3.8.7.1.4. Sensor de temperatura
Se utiliza un sensor de temperatura con una precisión de ± 2 °C para medir la temperatura del aire dentro del desecador o cámara de equilibrio.
7.1.1.3.8.7.1.5. Balanza analítica
Se utiliza una balanza analítica electrónica para el análisis gravimétrico de los filtros. La balanza analítica deberá tener una resolución de 0.01 mg o mejor y una precisión de 0.05 mg o mejor. La exactitud y precisión de la balanza debe ser de al menos 10 veces mejor a la masa de la carga del filtro.
7.1.1.3.8.7.1.6. Filtro
Se utilizan filtros de membrana de fibra de vidrio, fibra de cuarzo o PTFE (Teflón) con un diámetro de 37 mm a 100 mm +/- 2 mm, sin aglutinante orgánico, que presenta una eficacia de al menos el 99.95 % (< 0.05 % de penetración) en partículas de humo de ftalato de dioctilo de 0.3 micras.
Nota: El medio filtrante seleccionado puede afectar la precisión de las mediciones gravimétricas de material particulado. Factores para su consideración incluyen el tipo de medio, la eficiencia de la recolección y la caída de presión. Las ventajas y desventajas de tres filtros comunes se presentan en la Tabla C.1 del Apéndice C de esta Norma Oficial Mexicana.
7.1.1.3.8.7.2. Preparación previa a la prueba
7.1.1.3.8.7.2.1. Comprobación del filtro
Se recomienda el uso de pinzas y guantes quirúrgicos desechables limpios, un filtro etiquetado (identificado) y pesado se debe colocar en el portafiltro. El filtro debe estar bien centrado y la junta (si está presente) adecuadamente colocada de modo que impida que la corriente de gas de muestra evite el filtro. Cada filtro debe ser verificado por roturas después de que se complete el montaje. Si se encuentran rasgaduras después de completar una prueba, entonces se debe rechazar el resultado gravimétrico.
7.1.1.3.8.7.2.2. Control de fugas
Se realiza un control de fugas del tren de muestreo cada día de prueba. La tasa de fugas debe ser menor de 0.1 % del caudal de muestreo a la presión de funcionamiento. Ver inciso C.7 del Apéndice C de esta Norma Oficial Mexicana para el método de prueba de fugas recomendados.
7.1.1.3.8.7.2.3. Determinaciones preliminares
Se determina la presión, la temperatura y la velocidad promedio de los gases del túnel. El contenido de humedad de los gases diluidos en el túnel puede suponerse en un 4 % para los cálculos de caudal. El contenido de humedad debe medirse directamente como en la referencia informativa EPA Method 5G - PM Wood Heaters from a Dilution Tunnel.
7.1.1.3.8.7.2.4. Operación del tren de muestreo
La entrada de la sonda se coloca en el centroide de la tubería y las aberturas alrededor de la sonda y el orificio se bloquean para evitar una dilución no representativa de la corriente de gas.
7.1.1.3.8.7.3. Prueba
El muestreo debe comenzar al inicio de la secuencia de la prueba como se define en el inciso 7.1.2. Durante la secuencia de la prueba, se debe mantener un caudal de muestra constante y un caudal en el túnel de dilución (dentro del 10% de la relación de proporcionalidad inicial).
Los datos para el caudal de la muestra y el caudal en el túnel de dilución se registran al menos una vez cada 10 min durante cada secuencia de la prueba.
A los efectos de las determinaciones proporcionales de la frecuencia de muestreo, los datos del caudal calibrado de los dispositivos, tales como rotámetros de vidrio, pueden ser usados para determinar los límites de aceptabilidad. Al final de la secuencia de la prueba (ver inciso 7.1.2), la bomba de muestreo se apaga.
7.1.1.3.8.7.4. Pesaje del filtro
Antes de cada pesaje del filtro, la calibración de la balanza debe ser verificada con un peso certificado de peso similar al del filtro. Este control se debe repetir con una frecuencia no menor para cada décimo filtro pesado. Los filtros se someterán a un período de secado de al menos 24 h en un desecador o un período de equilibrio de al menos 24 h en una cámara con control de temperatura y humedad, antes de la pesada de tara y en bruto. Los filtros se devolverán al desecador durante un mínimo de 6 horas antes del segundo pesaje. Si los pesos tomados después de los equilibrios de 24 y 6 h coinciden en un valor de 0.05 mg (tomando en cuenta la precisión de la balanza), se aceptará el peso del filtro. El ciclo de equilibrio/pesaje de 6 h se debe repetir hasta que dos pesos coincidan en 0.05 mg. La temperatura y la humedad relativa para el acondicionamiento del filtro se reporta con los resultados.
7.1.1.3.9. Medición del contenido energético del biocombustible
Se prueba un número suficiente de muestras de biocombustible para proporcionar una muestra representativa.
Los números de muestras de biocombustible necesarias se determinan a partir del número necesario para reducir el error estándar sobre la media de todas las muestras a menos de 0.5 MJ/kg, se calcula usando la Fórmula (2).
Donde:
sM es el error estándar de la media;
s es la desviación estándar de las muestras individuales;
N es el número de muestras.
7.1.2. Secuencia de prueba
7.1.2.1. Generalidades
La secuencia de la prueba estándar caracteriza el desempeño de las estufas como un sistema (incluyendo biocombustible, recipiente de cocción y procedimiento de operación) con comparabilidad internacional para estufas probadas en dos niveles de potencia - bajo y alto - y los resultados a cada nivel de potencia se informará por separado.
Las estufas se deben evaluar a dos niveles de potencia, alta y baja.
7.1.2.2. Fases de la secuencia de la prueba estándar
Como se muestra en las Figuras 1 y 2, la duración de cada fase incluye un período de quema de biocombustible más el tiempo variable necesario para el apagado. Las estufas diseñadas para potencia variable deben evaluarse con períodos de quema de biocombustible de aproximadamente 30 minutos para cada fase de prueba. Las estufas diseñadas para un solo nivel de potencia deben evaluarse con períodos de combustión de biocombustible de aproximadamente 30 minutos o aproximadamente 60 minutos. El período opcional de 30 minutos o 60 minutos será determinado por las especificaciones del fabricante para la estufa.
Fase 1. Al comienzo de la fase, la estufa y el agua en el recipiente de cocinado deben estar a temperatura ambiente. Las emisiones deben ser capturadas durante el arranque, operación a alta potencia, y durante el apagado. Cualquier carbón remanente debe ser retirado de la estufa y pesado antes de comenzar la Fase 2. Para estufas diseñadas para sólo una potencia, la Fase 1 será la única fase de prueba, como se muestra en la Figura 1.
Fase 2. Al comienzo de la fase, la estufa debe estar a la temperatura de funcionamiento después de la terminación de la Fase 1 (ver ilustración de las fases de la Figura 2), y el agua en el recipiente de cocinado debe estar a temperatura ambiente. Las emisiones se capturan durante el arranque, operación a baja potencia, y durante el apagado. Cualquier carbón remanente debe ser removido de la estufa y pesado.
Nota: La temperatura de funcionamiento de la estufa no se especifica, ya que esta varía para las estufas.
7.1.2.3. Diagramas de la secuencia de la prueba estándar
La secuencia de la prueba estándar para estufas con un solo nivel de potencia se ilustra en la Figura 1.
Figura 1 - Diagrama de la secuencia de la prueba estándar para estufas con un solo nivel de potencia
En la Figura 2 se ilustra la secuencia de la prueba estándar para estufas con un rango de potencia de cocción.
Figura 2 - Diagrama de la secuencia de la prueba estándar para estufas con un rango de potencia de cocción
7.1.2.4. Requisitos de la estufa como un sistema
A continuación, se detallan los requisitos para probar una estufa como sistema, que consiste en la estufa, el recipiente para cocinar, biocombustible y procedimiento de operación. Se debe incluir una descripción detallada del sistema de estufa en los resultados, como se especifica en el Apéndice B.
7.1.2.4.1. Estufa
Se utiliza una muestra representativa de las estufas producidas de acuerdo con lo establecido en los capítulos 7 y 11 de esta Norma Oficial Mexicana.
7.1.2.4.2. Recipiente de cocción
Para estufas tipo plancha se utiliza un recipiente de cocción (una olla elaborada con BoPET de 0.127 o 14 milésimas de espesor) con tamaño y forma apropiados. Para estufas a fuego directo se utiliza un recipiente de aluminio con tamaño y forma apropiados. Si la estufa está diseñada para un determinado recipiente de cocción, entonces la estufa debe ser evaluada con ese recipiente de cocción.
Ejemplo. Las estufas diseñadas para ollas de fondo redondo, las ollas con faldones incorporados o las ollas de un tamaño específico deben probarse con la olla correspondiente.
La estufa se evalúa con un recipiente de cocción de tamaño y masa de agua adecuados que permita calentar el agua a menos de 1 °C del punto de ebullición local (durante un periodo de 30 minutos o 60 minutos) sin tapa del recipiente de cocción a niveles de potencia alta y baja.
7.1.2.4.3. Biocombustible
Se debe utilizar leña de pino y encino blanco con dimensiones de (40 ± 5) cm de largo y (12 ± 3) cm2 de área transversal y humedad entre el 7 % y 15 %.
Se utiliza un combustible como iniciador de fuego con el tamaño, la forma, la composición y el contenido de humedad adecuados. Si una estufa está diseñada para un cierto tipo de combustible de arranque, entonces la estufa se evalúa con ese combustible de arranque. Se puede usar un acelerante, como queroseno o alcohol, como combustible de arranque si el fabricante lo especifica en instrucciones escritas.
7.1.2.4.4. Procedimiento de funcionamiento
La estufa se opera durante la prueba según se indica en las instrucciones del fabricante (ver Apéndice A).
7.1.2.5. Determinación de los niveles de potencia de cocción
7.1.2.5.1. Potencia baja
Si la estufa tiene controles, como la velocidad del ventilador o el ajuste del aire, entonces los controles deben ser colocados al ajuste más bajo que permita la operación durante la fase de prueba de baja potencia. En caso contrario, se debe colocar la cantidad mínima de combustible indicada por el fabricante en el manual de usuario.
7.1.2.5.2. Potencia alta
Si la estufa tiene controles, como la velocidad del ventilador o el ajuste del aire, entonces los controles deben ser colocados al ajuste más alto que permita la operación durante la fase de prueba de alta potencia. En caso contrario, se debe colocar la cantidad máxima de combustible indicada por el fabricante en el manual de usuario.
7.1.2.6. Procedimiento para la secuencia de la prueba estándar
Los procedimientos específicos variarán en función del tipo de estufa identificada en el Apéndice D de la ISO 19867-1:2018, como se especifica en el inciso 7.1.2.7. El procedimiento general para evaluar en cada nivel de potencia es el que sigue.
7.1.2.6.1. Preparación de la prueba
Se tomarán las siguientes medidas de preparación de la prueba:
a) El personal que realice la prueba debe estar familiarizado con el método de funcionamiento de la estufa, y el personal debe poseer las capacidades y la experiencia apropiadas en las pruebas de la estufa.
b) Se tomarán fotografías de los equipos de prueba, de la configuración de la prueba y de los números de serie de la estufa, cuando sea posible, se tomará e incluirá en el reporte de la prueba.
c) Cada instrumento debe calibrarse para cumplir los requisitos especificados en el inciso 7.1.1, medición de emisiones y desempeño.
d) Se seleccionan los tipos adecuados de biocombustible (ver el inciso 7.1.2.4.3).
e) Las secuencias de las pruebas se llevan a cabo para determinar la cantidad de biocombustible requerida para el periodo de quema del biocombustible, aproximadamente 30 minutos de funcionamiento a cada nivel de potencia desde el encendido hasta que la concentración de CO2 medida en la salida de gases caiga aproximadamente a la mitad de su valor de estado estacionario, excepto las estufas diseñadas para un solo nivel de potencia. Para estas estufas, los períodos opcionales de quema del biocombustible son de aproximadamente 30 minutos o aproximadamente 60 minutos de operación desde el encendido hasta que la concentración de CO2 medida en la salida de los gases cae aproximadamente a la mitad de su valor sustraído de fondo en estado estable.
f) Se determina el poder calorífico inferior del biocombustible (ver el inciso 7.1.4.).
g) El agua en el recipiente de cocción debe pesarse y la masa de agua, G1, y la temperatura inicial del agua, T1, se registran.
h) El sensor de temperatura se coloca en el recipiente de cocción usando un soporte, y la punta del sensor se coloca en el centro del volumen de agua en el recipiente de cocción. La tapa no debe ser colocada en el recipiente de cocción.
i) Se registra la temperatura ambiente, la humedad, la velocidad del viento y la altitud.
j) El punto de ebullición local del agua puede ser calculado con la altitud o presión atmosférica del lugar donde se lleve a cabo la prueba o se determina calentando el agua (usando cualquier estufa o dispositivo de calentamiento).
Nota: El punto de ebullición local puede variar con la altitud y/o presión atmosférica.
7.1.2.6.2. Etapas de la prueba
Se tomarán las siguientes medidas de prueba:
a) El fuego se enciende y el tiempo se registra, t1, cuando se produzca el encendido (por ejemplo, cuando se enciende un fósforo).
b) La temperatura del agua se registra al menos cada minuto durante la fase de prueba. Para las pruebas que incluyen emisiones, las mediciones de la temperatura del agua y el tiempo deben registrarse mediante un sistema de adquisición de datos al menos cada 10 s, ver el inciso 7.1.1.3.1. (g).
c) Si la temperatura de ebullición local se alcanza antes de los 30 minutos (o 60 minutos opcional para estufas con un solo nivel de potencia), registre el tiempo, t2. Ver la Figura 3.
d) Si al final de los 30 minutos (o 60 minutos opcionales para estufas con un solo nivel de potencia) se ha alcanzado la temperatura del punto de ebullición local, entonces registre la temperatura del agua, T2. La prueba termina cuando 1) la temperatura del agua desciende hasta 5 °C por debajo de la temperatura de ebullición alcanzada, o 2) transcurren 5 minutos después del final del período de 30 minutos (o período opcional de 60 minutos para estufas con un solo nivel de potencia), lo que ocurra primero.
Ver Figuras 3 y 4.
e) Si al final de los 30 minutos (o 60 minutos opcionales para estufas con un solo nivel de potencia) no se ha alcanzado la temperatura del punto de ebullición local, registre la temperatura del agua, T2, y la prueba debe finalizar cuando: 1) la temperatura del agua cae 5 °C por debajo de la temperatura máxima registrada obtenida dentro de la prueba de 30 minutos (o prueba opcional de 60 minutos para estufas con un solo nivel de potencia), o 2) transcurren 5 minutos después del final del período de 30 minutos (o período opcional de 60 minutos para estufas con un solo nivel de potencia), lo que ocurra primero.
Ver Figura 5.
f) El procedimiento de apagado para las estufas de alimentación continua es el siguiente: la alimentación de biocombustible debe detenerse al final del período de quema de biocombustible, cualquier carbón debe permanecer en la estufa y el biocombustible sólido no quemado (p. ej., madera) debe retirarse de la estufa. Se permite que cualquier carbón continúe ardiendo hasta el final de la fase de prueba, como se define en los pasos d) y e).
g) Se registra la masa de carbón remanente al final de la fase de prueba, si está presente.
h) Una vez concluida la prueba, el agua se pesa y registra como G2.
i) Se registra la potencia eléctrica, si la estufa tiene ventilador. Se puede reportar la potencia eléctrica nominal del fabricante (en W) del ventilador, o se puede medir la potencia eléctrica (en W) con un vatímetro.
Figura 3 - Gráfico ilustrativo de la temperatura del agua contra el tiempo para cualquier fase de prueba cuando la
temperatura del agua alcanza el punto de ebullición local antes del final del período de combustión del
biocombustible
Figura 4 - Gráfico ilustrativo de la temperatura del agua contra el tiempo para cualquier fase de prueba cuando la
temperatura del agua alcanza el punto de ebullición local al final del período de combustión del biocombustible
Figura 5 - Gráfico ilustrativo de la temperatura del agua contra el tiempo para cualquier fase de prueba cuando la
temperatura del agua no alcanza el punto de ebullición local
7.1.2.6.3. Pruebas de emisión
Las pruebas de emisión se deben realizar simultáneamente con las pruebas de eficiencia (ver inciso 7.1.2.6.2).
Se toman los siguientes pasos de prueba de emisiones:
a) El muestreo de emisiones se inicia inmediatamente después de encender el fuego.
b) El muestreo de emisiones se toma de un túnel de dilución.
c) El muestreo y la medición de PM y CO se refieren al inciso 7.1.1.
d) El muestreo de emisiones continua hasta el final de la fase de prueba. Se requiere una muestra de filtro PM2.5 por fase de prueba.
7.1.2.6.4. Repeticiones de prueba
Se deben realizar 3 repeticiones de las pruebas para cada combinación estufa/biocombustible.
7.1.2.7. Procedimientos específicos para los tipos de estufas
Los procedimientos específicos varían en función del tipo de estufa identificada en el Apéndice D de la ISO 19867-1:2018.
7.1.2.7.1. Estufas de plancha
Las estufas de plancha (comal) se evalúan con una olla de pruebas construida con una película de BoPET con un espesor de 14 ± 5 milésimas de pulgada. En el inciso E.4 de la presente Norma Oficial Mexicana se proporciona más información sobre el montaje de las ollas de prueba.
7.1.2.7.2. Estufas con chimenea
Para las estufas con chimenea, las emisiones se miden incluyendo los gases de la chimenea y las emisiones fugitivas (emisiones intramuros) del cuerpo de la estufa, Ver incisos del 7.1.1.3.7.2.5. al 7.1.1.3.7.2.6. y Figuras D.2 y D.3. Las emisiones totales se calculan mediante la suma de las emisiones fugitivas y las de la chimenea.
En caso de cualquier modificación de la altura de la chimenea, se debe informar de la modificación, junto con un descargo de responsabilidad de que el desempeño puede verse afectado por la modificación.
7.1.2.7.3. Estufas sin chimenea
Para las estufas sin chimenea, se deben medir las emisiones fugitivas (emisiones intramuros) del cuerpo de la estufa. Ver inciso 7.1.1.3.7.2.4. y Figura D.1. Para el caso de las estufas sin chimenea, las emisiones fugitivas serán tomadas como emisiones fugitivas y como emisiones totales.
7.1.3. Cálculos
7.1.3.1 Cálculo de la masa de PM2.5
La masa de PM2.5 se calcula usando la Fórmula (3).
Donde:
mPM2.5 es la masa de material particulado fino emitido durante el período de muestreo, mg;
Qtúnel es el caudal volumétrico de gas en el túnel de dilución, m3/ min;
Qmuestra es el caudal volumétrico de gas en la corriente de la muestra, m3/ min;
mmuestra de material particulado fino recolectado en el filtro, mg.
7.1.3.2. Cálculo de energía útil entregada
La energía útil se calculará usando la Fórmula (4).
| Q1 =Cp G1 (T2 -T1 )+(G1 -G2)g | (4) |
Donde:
Q1 es la energía útil entregada, kJ;
Cp es la capacidad calorífica, 4.18 J.kg-1K-1;
G1 es la masa inicial de agua en el recipiente de cocción, kg;
G2 es la masa final de agua en el recipiente de cocción, kg;
T1 es la temperatura inicial del agua en el recipiente de cocción, °C;
T2 es la temperatura del punto de ebullición o la temperatura más alta alcanzada del agua en el recipiente de cocción, °C;
g es el calor latente de vaporización del agua al punto de ebullición, kJ/kg;
Para las estufas con recipientes de cocción múltiples, se utiliza la fórmula (4) para calcular la energía útil entregada para cada recipiente de cocción, y la energía útil entregada total es la suma de las energías útiles calculadas para todos los recipientes de cocción.
7.1.3.3. Cálculo de la potencia de cocción
La potencia de cocción se calcula usando la Fórmula (5).
Donde:
Pc es la potencia de cocción, kW;
Q1 es la energía útil entregada, kJ
t3 es el tiempo final al final de una fase de prueba, s;
t1 es el tiempo inicial al comienzo de una fase de prueba, s.
7.1.3.4. Cálculo de la eficiencia térmica de la estufa sin crédito energético para el carbón remanente
La eficiencia térmica de la estufa sin crédito energético para ningún carbón residual se calcula usando la Fórmula (6).
Donde:
hc es la eficiencia térmica de la estufa sin crédito energético para el carbón restante, %;
Q1 es la energía útil entregada, kJ;
B es la masa del biocombustible seco alimentado, kg;
Qnet.ar es el poder calorífico inferior del biocombustible, como se quema kJ/kg.
B = masa biocombustible húmedo (Kg)*(1-(%Humedad base húmeda)/100) (7)
7.1.4. Determinación del poder calorífico
El poder calorífico se determina utilizando una muestra representativa del biocombustible en una bomba calorimétrica (ver ISO 18125:2017). Las muestras representativas deben pesarse primero, luego el contenido de agua libre de las muestras debe determinarse por secado a 3 °C arriba del punto de ebullición local del agua. Las muestras secas se someterán entonces a prueba en una bomba calorimétrica (ver ISO 18125:2017) para determinar el poder calorífico superior (HHV). También se pueden analizar muestras representativas de C, H y N (ver ISO 16948:2015).
El poder calorífico inferior a presión constante a los niveles de humedad requeridos se calculará por las siguientes fórmulas por ISO 18125:2017 como sigue.
Poder calorífico inferior a presión constante para una muestra seca (base seca, en materia seca):
| qp,net,d = qV ,gr,d + 6.15 ×w(H)d - 0.8 ×[w(O)d + w(N)d ]- 218.3 ×w(H)d = qV ,gr,d - 212.2 ×w(H)d - 0.8 ×[w(O)d + w(N)d]= qV ,gr,d -1320 kJ/kg | (8) |
Poder calorífico inferior a presión constante a un contenido de humedad requerido M (por ejemplo, tal como se recibió, Mar, con lo cual el símbolo del poder calorífico es q p, net, ar) es calculado:
| qp,net,m =q V ,gr,d -212.2w(H) d - 0.8w(O) d + w(N) d 881 (1- 0.01M ) - 24.43M =qp,net,d (1-0.01M) - 24.43 M= | (9) |
Donde:
qp,net,m es el poder calorífico inferior a presión constante, en J/g, del biocombustible con contenido humedad; M (usualmente como se recibe Mar);
qV, gr, d es el poder calorífico superior a volumen constante, en J/g, del combustible libre de humedad;
w(H)d es el contenido de hidrógeno, en porcentaje en masa, del biocombustible libre de humedad (seco) (incluyendo el hidrógeno del agua de hidratación de la materia mineral, así como el hidrógeno en la sustancia de biocombustible);
w(O)d es el contenido en oxígeno, en porcentaje en masa, del biocombustible libre de humedad;
w(N)d es el contenido de nitrógeno, en porcentaje en masa, del biocombustible libre de humedad;
M es el contenido de humedad, en porcentaje en masa, para el que se requiere el cálculo. En base seca, M = 0; en base secada al aire, M = Mad; en la base como se muestreó o como se quemó (como se recibió, ar), M = Mar (contenido total de humedad como se recibió).
La entalpía de vaporización (presión constante) para el agua a 25 °C es de 44.01 kJ/mol. Este valor corresponde a 218.3 J/g para 1 % (masa/masa) de hidrógeno en la muestra del biocombustible o 24.43 J/g para 1 % (masa/masa) de humedad, respectivamente.
Nota: w(O)d + w(N)d puede derivarse restando de 100 los porcentajes de cenizas, carbono, hidrógeno y de azufre.
7.1.5. Métodos del sistema de dilución secundario
Una corriente de muestras de contaminantes del aire puede diluirse con aire, nitrógeno u otros gases para propósitos incluyendo:
a) secar la muestra,
b) enfriar la muestra, y
c) disminuir la concentración de la muestra hasta el intervalo de medición de los instrumentos utilizados.
7.1.5.1. Sistemas de dilución secundarios utilizados en la secuencia de la prueba estándar
En el inciso 7.1.2 muestreo directo desde el túnel de dilución, sin el uso de un sistema de dilución adicional, puede ser usado para determinar las emisiones de PM2.5, CO y CO2. Para la determinación de las emisiones de otros contaminantes, cuya medición es opcional, métodos del sistema de dilución secundario pueden ser utilizados.
7.1.5.2. Verificación del sistema de dilución secundario
El sistema de dilución se verifica mediante la medición directa del caudal volumétrico a través del sistema usando un instrumento de flujo primario, tal como un medidor de flujo de burbujas o equivalente, con una precisión de ± 3 % (o mejor) del caudal nominal, o usando un gas trazador con un analizador de gas correspondiente.
7.1.6. Método del balance de masa de carbono
El método del balance de masas de carbono puede utilizarse como un control de garantía de calidad opcional con el método de captura total especificado en el inciso 7.1.2. Ver el Apéndice C para más información.
7.1.7. Método de prueba para la determinación del perfil de temperatura en la superficie de cocción
Esta prueba debe realizarse de acuerdo con lo especificado en el inciso 9.20 de la Norma Mexicana NMX-Q-001-NORMEX-2018. Considerando el uso de cámara termográfica como una buena práctica.
7.2. Seguridad
7.2.1. Método de prueba para la determinación de bordes y puntos afilados
Esta prueba debe realizarse de acuerdo con lo especificado en el inciso 9.2 de la Norma Mexicana NMX-Q-001-NORMEX-2018.
7.2.2. Método de prueba de inestabilidad o vuelco del cuerpo de la estufa
Esta prueba debe realizarse de acuerdo con lo especificado en el inciso 9.3 de la Norma Mexicana NMX-Q-001-NORMEX-2018.
7.2.3. Método de prueba para la determinación de contención del combustible
Esta prueba debe realizarse de acuerdo con lo especificado en el inciso 9.4 de la Norma Mexicana NMX-Q-001-NORMEX-2018.
7.2.4. Método de prueba para la determinación de la temperatura en la superficie de la estufa, transferencia de calor de la estufa hacia los alrededores y temperatura de partes para la manipulación de la estufa.
Esta prueba debe realizarse de acuerdo con lo especificado en el inciso 9.6 de la Norma Mexicana NMX-Q-001-NORMEX-2018.
7.2.5. Método de prueba para la determinación de fuego o flama alrededor de la superficie de cocinado
Esta prueba debe realizarse de acuerdo con lo especificado en el inciso 9.8 de la Norma Mexicana NMX-Q-001-NORMEX-2018.
7.2.6. Método de prueba para la determinación de fuego o flamas saliendo de la cámara de combustión o ductos
Esta prueba debe realizarse de acuerdo con lo especificado en el inciso 9.9 de la Norma Mexicana NMX-Q-001-NORMEX-2018.
8. Criterio de aceptación
Las estufas que funcionan con leña cumplen con lo previsto en la presente Norma Oficial Mexicana si se satisface con lo establecido en los incisos 8.1. y 8.2. En caso de no cumplirse el requisito anterior, se permite repetir las pruebas al tercer espécimen, conforme a lo dispuesto en la Tabla 7. Si este espécimen no satisface las condiciones especificadas, el modelo no cumple con esta Norma Oficial Mexicana.
8.1. Resultados de las pruebas
Los resultados de todas las pruebas de eficiencia y seguridad, descritas en el Capítulo 7, cumplen con las especificaciones indicadas en el Capítulo 6.
8.2. Marcado
El titular (fabricante, importador o comercializador) es quien propone el valor de eficiencia térmica en baja y alta potencia que debe utilizarse en el marcado del modelo o familia que desee certificar, este valor debe cumplir con las siguientes condiciones:
a) Ser siempre igual o mayor que el valor de eficiencia térmica mínima establecida en la Tabla 1 de la presente Norma Oficial Mexicana.
b) El valor de eficiencia térmica en baja y alta potencia obtenido en cualquier prueba de cada una de las muestras (certificación inicial, renovación, muestreo, ampliación, etc.) debe ser igual o mayor que el valor que se indica en el marcado de eficiencia térmica, en caso contrario sólo se debe permitir un decremento de 10 % de variación siempre y cuando este valor no sea menor que el límite mínimo permisible que se indica en la Tabla 1.
9. Marcado
Las estufas que funcionan con leña objeto de esta Norma Oficial Mexicana, que se comercialicen en los Estados Unidos Mexicanos, deben llevar un marcado que proporcione a los usuarios información sobre la eficiencia térmica y seguridad (tipo de uso) del producto. Esta información permitirá comparar la eficiencia térmica y su seguridad con otros dependiendo del tipo de producto, esto, conforme al criterio de aceptación contenido en el inciso 8.2.
9.1. Permanencia
El marcado de eficiencia térmica debe ir adherido en el producto por medio de una placa de datos indeleble. En el caso de estufas del Tipo 1 y 2, el marcado podrá estar incluido en el instructivo o manual de producto.
9.2. Ubicación
El marcado debe estar ubicado en un área de exhibición del producto que sea visible al consumidor.
9.3. Información
El marcado de eficiencia térmica de las estufas que funcionan con leña debe ser en forma legible e indeleble, el tipo de letra puede ser Arial o Helvética, y de acuerdo con la distribución que se muestra en el ejemplo de las Figuras 6 y 7.
9.3.1. La leyenda: "ESTUFA QUE FUNCIONA CON LEÑA", en tipo negrita.
9.3.2. La leyenda " NOM-036-ENER/SE-2025", en tipo negrita.
9.3.3. El código QR de la información del producto en el lado derecho superior, conforme a lo dispuesto en la Figura 8 y que debe dirigir a la liga electrónica que designe la Autoridad Competente para tal fin.
9.3.4. La leyenda "Marca:", en tipo regular, seguida de la marca de la estufa que funciona con leña, en tipo negrita.
9.3.5. La leyenda "Modelo:", en tipo regular, seguida del modelo de la estufa que funciona con leña, en tipo negrita.
9.3.6. La leyenda "No. de serie:", en tipo regular, seguida de la clave de serie de la estufa que funciona con leña, en tipo negrita.
9.3.7. La leyenda "Tipo:" en tipo regular, seguida del tipo de la estufa que funciona con leña, conforme a lo dispuesto en el Capítulo 5 de esta Norma Oficial Mexicana, en tipo negrita.
9.3.8. La leyenda "Hecho en:", en tipo regular, seguida del país de origen del producto, en tipo negrita.
9.3.9. La leyenda "Eficiencia térmica de esta estufa:", en tipo negrita.
9.3.10. El pictograma "
", alusivo a un fogón. 9.3.10.1. Una escala horizontal, indicando el por ciento de eficiencia térmica de la estufa, de 0% al 50% con incrementos de 10 en 10, en tipo negrita.
9.3.10.2. En el costado derecho de la escala horizontal se debe colocarla leyenda "Alta" y el símbolo "%", en tipo negrita.
9.3.10.3. En el costado izquierdo de la escala horizontal se debe colocarla leyenda "Mínima", en tipo negrita.
9.3.10.4. Sobre la escala se debe colocar un recuadro con una punta de flecha en color negro que indique el porcentaje de eficiencia térmica que tiene la estufa, indicado con un entero sin decimal, aplicando la regla del redondeo progresivo, en tipo negrita.
Nota: El redondeo progresivo se realizará considerando las siguientes reglas: cuando el valor de la cifra decimal que precede al número a redondear sea igual o mayor que 5 el valor se incrementa en una unidad, en caso de ser menor que 5 el valor de la cifra a redondear se conserva sin cambio. Lo anterior, conforme a las cifras decimales permitidas.
Ejemplos:
25.5 se expresa a 26
25.4 se expresa a 25
La punta de flecha debe colocarse de tal manera que su punta coincida con el por ciento de eficiencia térmica de las estufas que funcionan con leña que se representa gráficamente.
Nota: En caso de que el producto tenga un valor superior al 50 % de ahorro, la punta de la flecha que indique el porcentaje deberá colocarse en el extremo derecho de la escala horizontal.
9.3.11. La Contraseña Oficial NOM de acuerdo con lo establecido en la NOM-106-SCFI-2017 y el logotipo de la Conuee "CONUEE".
9.3.12. En caso de que la estufa que funciona con leña no haya cumplido con las especificaciones de emisiones fugitivas establecidas en el inciso 6.2.10 de la presente Norma Oficial Mexicana, se debe agregar lo siguiente:
9.3.12.1. La leyenda "PARA USO EXCLUSIVO EN ÁREAS EXTERIORES" en tipo negrita.
9.3.12.2. El pictograma de
, alusivo a su uso exclusivo en áreas exteriores. 9.4. Dimensiones
Las dimensiones del marcado son las siguientes:
Alto: 10.0 cm ± 1 cm
Ancho: 6.0 cm ± 1 cm
Nota: Deben medirse en el contorno del marcado.
9.5. Distribución de la información
9.5.1. La distribución de la información dentro del marcado debe hacerse conforme al ejemplo de las Figuras 6 y 7.
Figura 6 - Ejemplo de distribución de marcado para estufas que funcionan con leña
Figura 7 - Ejemplo de distribución de marcado para estufas que funcionan con leña con incumplimiento en la
especificación de emisiones fugitivas
Figura 8 - Código QR a agregar en el marcado de las estufas que funcionan con leña
10. Vigilancia
La Secretaría de Energía, a través de la Comisión Nacional para el Uso Eficiente de la Energía y la Secretaría de Economía, a través de la Dirección General de Normas y la Procuraduría Federal del Consumidor, conforme a sus atribuciones y en el ámbito de sus respectivas competencias, son las autoridades que están a cargo de vigilar el cumplimiento de la presente Norma Oficial Mexicana.
11. Procedimiento de Evaluación de la Conformidad
El presente Procedimiento de Evaluación de la Conformidad (PEC) es aplicable a las estufas que funcionan con leña que se importen, fabriquen, ensamblen, construyan o comercialicen en el territorio nacional.
11.1. Objetivo
Este PEC se establece para facilitar y orientar a los Organismos de Evaluación de la Conformidad (OEC), fabricantes, importadores, comercializadores, constructores o prestadores de servicio en la evaluación de la conformidad en el cumplimiento de la presente Norma Oficial Mexicana NOM-036-ENER/SE-2025, Eficiencia térmica y seguridad de estufas que funcionan con leña. Especificaciones, métodos de prueba y marcado, en adelante se referirá como NOM.
11.2. Disposiciones generales
11.2.1. La evaluación de la conformidad debe realizarse por OEC, acreditados y aprobados conforme a lo dispuesto en la LIC y su Reglamento.
11.2.2. Los trámites, documentación y requisitos que se presenten al Organismo de Certificación de Producto (OCP), deben estar en idioma español.
11.2.3. El fabricante, importador, comercializador, constructor o prestador del servicio (el interesado), debe solicitar la evaluación de la conformidad con la NOM al OCP, cuando lo requiera para dar cumplimiento a las disposiciones legales o para otros fines de su propio interés y el OCP entregará al interesado la solicitud de servicios de certificación, el contrato de prestación de servicios y la información necesaria para llevar a cabo el proceso de certificación.
11.2.4. Una vez que el interesado ha analizado la información proporcionada por el OCP, presentará la solicitud con la información respectiva, así como el contrato de prestación de servicios de certificación que celebra con dicho organismo.
11.2.5. Cuando las solicitudes de los interesados no cumplan con los requisitos o no se acompañen de la información correspondiente, el OCP debe informar al interesado, para que subsane la omisión correspondiente.
11.2.6. La Secretaría de Energía a través de la Comisión Nacional para el Uso Eficiente de la Energía y la Secretaría de Economía a través de la Dirección General de Normas serán las autoridades competentes para resolver cualquier controversia en la interpretación del presente PEC.
11.3. Procedimiento
11.3.1. Modalidades
Para obtener el certificado de la conformidad del producto, el solicitante debe optar por alguna de las siguientes modalidades de certificación, de acuerdo con el tipo de producto:
· Modalidad M1 (por modelo o por familia), certificación mediante pruebas periódicas al producto, para productos Tipo 3;
· Modalidad M2 (por modelo o por familia), certificación mediante el sistema de gestión de la calidad del proceso de producción, para productos Tipo 3;
· Modalidad M3 (por modelo o por familia), certificación por lote de producción, para productos Tipo 3;
· Modalidad M4 (por modelo o por familia), certificación de servicio, para productos Tipo 1 y 2; o
· Modalidad M5 (por modelo o por familia), Auto declaración de cumplimiento, para productos Tipo 1 y 2.
11.3.2. Certificación de producto
Estas modalidades aplican exclusivamente para productos Tipo 3. Para obtener el certificado de conformidad de producto, el interesado, puede optar por:
· Modalidad M1 (por modelo o por familia), certificación mediante pruebas periódicas al producto;
· Modalidad M2 (por modelo o por familia), certificación mediante el sistema de gestión de la calidad del proceso de producción; o
· Modalidad M3 (por modelo o por familia), certificación por lote de producción.
Y, para tal efecto, debe presentar como mínimo la siguiente documentación al OCP, por cada modelo que integra la familia:
11.3.2.1. Para el certificado de la conformidad con modalidad de certificación mediante pruebas periódicas al producto (M1) y para la modalidad de certificación por lote de producción (M3):
a) En caso de familia de producto: Declaración bajo protesta de decir verdad, por medio de la cual el interesado manifestará que el producto presentado a pruebas de laboratorio es representativo de la familia que se pretende certificar, de acuerdo con los incisos 3.25 y 11.3.6.
b) Original del informe de pruebas vigente (no mayor que 180 días naturales a partir de la fecha de emisión) realizadas por un laboratorio de pruebas acreditado y aprobado. El interesado debe elegir un laboratorio de pruebas acreditado y aprobado, con objeto de someter a pruebas de laboratorio la muestra seleccionada.
c) Fotografías en las que se puedan observar las características del producto.
d) Marcado con base en lo establecido en el Capítulo 9.
e) Instructivo o manual de uso, de acuerdo con lo establecido en el Apéndice A.
f) Garantía del producto, de acuerdo con lo establecido en el Apéndice A.
g) Información técnica de cada modelo, la cual debe incluir lo siguiente:
i. Tipo de estufa que funciona con leña
ii. Tipo de superficie de cocción
iii. Número de quemadores
iv. Número de cámaras de combustión
v. Si cuenta o no con chimenea
vi. Eficiencia térmica
vii. Cantidad de emisiones totales y fugitivas
viii. Lista de componentes
11.3.2.2. Para el certificado de conformidad de producto con modalidad de certificación mediante el sistema de gestión de la calidad de la línea de producción (M2):
a) Los descritos en inciso 11.3.2.1.
b) Copia del certificado vigente del sistema de gestión de la calidad expedido por un Organismo de Certificación para sistemas de gestión de la calidad acreditado en términos de la LIC y su Reglamento;
c) Informe del sistema de gestión de la calidad que indique que se cuenta con procedimiento de verificación al proceso de producción. El informe debe contar al menos con los siguientes elementos:
o Sistema de aseguramiento de la calidad.
o Control de procesos
o Control de producto no conforme
o Control de registros de calidad
o Auditorías de calidad internas
o Adquisiciones
o Inspección y prueba
o Control de equipos de inspección y prueba
o Capacitación.
d) Para la certificación inicial, se debe realizar una visita previa para verificación del sistema de calidad de la línea de producción.
Tratándose de empresas con más de dos plantas de producción, deberán presentar, el certificado del sistema de aseguramiento de calidad y el informe del sistema de gestión de la calidad de cada planta. El certificado de la NOM sólo amparará a los aparatos de las plantas que cuenten con el sistema de aseguramiento de la calidad certificado.
11.3.2.3. En todas las modalidades, el OCP, previo a iniciar el proceso de certificación, debe consultar en el listado de certificados cancelados, publicado en la sección de verificación y vigilancia del mercado de la página de internet de la Conuee, y asegurarse que el producto por certificar no haya sido cancelado bajo alguna de las siguientes condiciones:
· Por no atender las visitas de seguimiento.
· Por falsificación o alteración de documentos relativos a la Evaluación de la Conformidad de Producto con la presente NOM.
· Por incumplimiento con las especificaciones de esta NOM.
· Cuando la dependencia haya cancelado el certificado o prohíba la comercialización del producto derivado de los resultados de la vigilancia del mercado.
En el caso de encontrarse en alguna o varias de las condiciones anteriores, el OCP debe asegurarse que el interesado atendió las causas que dieron origen a su cancelación, a través de evidencia documental que formará parte del expediente en la solicitud de certificación, y que debe incluir al menos:
· Análisis de causa raíz;
· Acciones correctivas; y
· Únicamente, en caso de cancelación por incumplimiento con las especificaciones de esta NOM, el interesado debe solicitar a su nuevo OCP una visita previa para seleccionar la muestra representativa y ser sometida a pruebas de laboratorio con testificación del OCP, se debe presentar el informe de pruebas de laboratorio de esta muestra, cuya fecha de inicio de pruebas sea posterior a la fecha de cancelación del certificado cancelado.
El OCP es el responsable del muestreo de producto al cual se le efectúen las pruebas y, la decisión del laboratorio de pruebas en el cual se lleven a cabo los métodos de prueba debe acordarse entre el solicitante y el OCP. El informe de pruebas resultante tendrá una vigencia de 180 días naturales a partir de la fecha de terminación de ensayo y debe demostrar que el producto cumple con todas las especificaciones de la presente NOM.
Esta información debe acompañarse de una declaratoria bajo protesta de decir verdad, que manifieste que se han atendido las causas que dieron origen a la cancelación del certificado, la cual debe estar debidamente firmada por el representante legal; o cualquier persona autorizada por el solicitante (empresa, fabricante, importador, entre otros) ante el OCP.
El OCP es el responsable de determinar que la evidencia documental es válida y suficiente para continuar con el proceso de certificación de producto y, ante cualquier incertidumbre o controversia, debe consultar a la Autoridad Normalizadora correspondiente e informar al interesado de la certificación del proceso y de la resolución de esa Autoridad.
11.3.3. Certificación de Servicio
Esta modalidad de certificación de servicio (M4), aplica exclusivamente a productos Tipo 1 y 2.
Se puede considerar un mismo servicio a las estufas que funcionan con leña que sean construidas por un mismo prestador bajo alguno de los siguientes casos:
a) Territorialidad (estado-temporalidad), aquellas que sean construidas dentro de un mismo estado de la república en el lapso de 12 meses; o
b) Contrato de servicios, aquellas que se encuentran incluidas en un proyecto específico que está delimitado por los términos de la contratación de parte de un tercero o financiador.
11.3.3.1. Para obtener el certificado de la conformidad de servicio, el interesado debe presentar como mínimo la siguiente documentación al OCP:
Documentación que acredite que el servicio proporcionado cumple con un sistema de gestión de calidad, con el fin de asegurar que todos los productos que serán desarrollados cumplen con las especificaciones de la presente NOM, se puede presentar como evidencia la certificación del solicitante en ISO 9001, en caso de que no se cuente con dicha certificación, se debe presentar la siguiente información:
· Estructura Organizacional del proveedor o prestador del servicio;
· Documento que especifique las responsabilidades y autorizaciones del personal dentro de la organización;
· Políticas y lineamientos que sigue el proveedor o prestador del servicio, que garantice su desempeño imparcial y confidencial;
· Procedimientos, control de documentos y registros que incluya:
° Procesos de producción;
° Proceso de formación y calificación del personal que realiza la actividad de construcción, el cual debe incluir la formación requerida (nivel educativo, experiencia, habilidades, conocimiento técnico, etc.), también debe incluir el mecanismo por el cual se dará supervisión a las actividades que desarrolla el personal capacitado;
° Procedimiento para la planificación de la realización del Servicio;
° Procedimiento de seguimiento al desarrollo del Servicio; y,
° Procedimiento de liberación o conclusión del Servicio, el cual debe especificar los mecanismos que deberán seguir los responsables de la ejecución del servicio, con el fin de garantizar que se tiene un proyecto concluido, que es funcional, seguro y eficiente de acuerdo con los objetivos de la presente NOM.
· Procedimiento de atención a quejas;
· Procedimiento de evaluación de desempeño interno;
· Procedimiento de atención de No conformidades y trabajo no conforme;
· Procedimiento de mejora continua, acción preventiva;
· Procedimiento de registro y atención de usuarios del servicio; y,
· Matriz de riesgos detectados a la imparcialidad y mecanismos que disminuyan o eliminen los riesgos detectados.
11.3.3.2. Adicionalmente relativo al producto ofertado por el prestador de servicios se debe presentar lo siguiente:
a) En caso de familia de producto: Declaración bajo protesta de decir verdad, por medio de la cual el interesado manifestará que el producto presentado a pruebas de laboratorio es representativo de la familia que se pretende certificar, de acuerdo con los incisos 3.25 y 11.3.6;
b) Información sobre los productos que puede elaborar el prestador del servicio, el cual debe incluir:
o Informe de pruebas vigente (no mayor a 360 días naturales a partir de la fecha de emisión) realizadas por un laboratorio de pruebas acreditado y aprobado. En caso de que el solicitante no sea el titular del informe de pruebas, debe mostrar una carta de autorización expedida por el titular que autorice su uso;
o Diagramas y planos de cada producto base, así como las variantes de dichos productos; e,
o Identificación de cada producto que puede realizar el prestador del servicio;
c) Fotografías en las que se puedan observar las características del producto;
d) Marcado con base en lo establecido en el Capítulo 9, para proveedores o prestadores de servicio, este marcado se puede incluir en los instructivos o manuales del producto;
e) Instructivo o manual de uso, de acuerdo con lo establecido en el Apéndice A;
f) Garantía del producto, de acuerdo con lo establecido en el Apéndice A; e,
g) Información técnica de cada modelo, la cual debe incluir lo siguiente:
i. Tipo de estufa que funciona con leña;
ii. Tipo de superficie de cocción;
iii. Número de quemadores;
iv. Número de cámaras de combustión;
v. Si cuenta o no con chimenea;
vi. Eficiencia térmica;
vii. Cantidad de emisiones totales y fugitivas; y,
viii. Lista de componentes y materiales requeridos para su construcción.
11.3.3.3. Control de Expediente del Servicio
El proveedor o prestador del servicio debe generar un expediente único para cada servicio realizado, el cual debe contener al menos la siguiente información:
· Personal responsable de la ejecución del servicio;
· Personal responsable de la supervisión del servicio;
· Información del lugar donde se desarrolló el servicio, de cada una de las estufas que funcionan con leña comprendidas dentro de este:
° Domicilio (calle, número, código postal, estado, municipio, localidad); e,
° Información de la persona a la cual se le brindó el servicio (nombre del solicitante e información de contacto);
· Información particular conforme a los requisitos especificados en el inciso 11.3.3.2; y,
· Registro de avance del Servicio, desde el inicio del servicio hasta su conclusión se debe hacer un seguimiento fotográfico y descriptivo del grado de avance en las actividades al 0, 50 y 100%.
11.3.4. Auto declaración de cumplimiento
La auto declaración de cumplimiento (M5), aplica exclusivamente a productos Tipo 1 y 2 y esta deberá ser aprobada por la Autoridad Competente de acuerdo con sus facultades y atribuciones, considerando lo señalado a continuación.
Se puede considerar un mismo servicio a las estufas que funcionan con leña que sean construidas por un mismo prestador bajo alguno de los siguientes casos:
a) Territorialidad (estado-temporalidad), aquellas que sean construidas dentro de un mismo estado de la república en el lapso de 12 meses; o
b) Contrato de servicios, aquellas que se encuentran incluidas en un proyecto específico que está delimitado por los términos de la contratación de parte de un tercero o financiador.
11.3.4.1. Para realizar la auto declaración de cumplimiento, el interesado debe presentar como mínimo la siguiente documentación a través de los formatos que para tal fin designe la Autoridad Competente:
a) Documentación que demuestre que el servicio proporcionado busca asegurar que todos los productos que serán construidos cumplen con las especificaciones de la presente NOM, se debe presentar la siguiente información:
· Estructura organizacional del proveedor o prestador del servicio;
· Documento que especifique las responsabilidades y autorizaciones del personal dentro de la organización;
· Procedimientos, control de documentos y registros que incluya:
° Procesos de producción;
° Proceso de formación y calificación del personal que realiza la actividad de construcción, el cual debe incluir la formación requerida (nivel educativo, experiencia, habilidades, conocimiento técnico, etc), también debe incluir el mecanismo por el cual se dará supervisión a las actividades que desarrolla el personal capacitado;
° Procedimiento para la planificación de la realización del Servicio;
° Procedimiento de seguimiento al desarrollo del Servicio;
° Procedimiento de liberación o conclusión del Servicio, el cual debe especificar los mecanismos que deberán seguir los responsables de la ejecución del servicio, con el fin de garantizar que se tiene un proyecto concluido, que es funcional, seguro y eficiente de acuerdo con los objetivos de la presente NOM;
· Procedimiento de atención a quejas;
· Procedimiento de atención de No conformidades y trabajo no conforme: y,
· Procedimiento de registro y atención de usuarios del servicio.
b) Deslinde de responsabilidad por parte del solicitante de la auto declaración, en la cual se especifique que el proveedor o prestador del servicio asumirá toda la responsabilidad generada por cualquier daño a la integridad física y de los bienes del usuario por la mala construcción de sus productos.
11.3.4.2. Adicionalmente relativo al producto ofertado por el prestador de servicios se debe presentar lo siguiente:
a) En caso de familia de producto: Declaración bajo protesta de decir verdad, por medio de la cual el interesado manifestará que el producto presentado a pruebas de laboratorio es representativo de la familia que se pretende certificar, de acuerdo con los incisos 3.25 y 11.3.6;
b) Informe de pruebas vigente (no mayor a 360 días naturales a partir de la fecha de emisión) realizadas por un laboratorio de pruebas acreditado y aprobado. En caso de que el solicitante no sea el titular del informe de pruebas, debe mostrar una carta de autorización expedida por el titular que autorice su uso;
c) Informe de desviaciones que hubo con respecto al proyecto aprobado;
d) Información sobre los productos elaborados por el prestador del servicio, el cual debe incluir los diagramas y planos de cada producto construido;
e) Fotografías en las que se puedan observar las características del producto;
f) Marcado con base en lo establecido en el Capítulo 9, para proveedores o prestadores de servicio, este marcado se puede incluir en los instructivos o manuales del producto;
g) Instructivo o manual de uso, de acuerdo con lo establecido en el Apéndice A;
h) Garantía del producto, de acuerdo con lo establecido en el Apéndice A; e,
i) Información técnica de cada modelo, la cual debe incluir lo siguiente:
i. Tipo de estufa que funciona con leña.
ii. Tipo de superficie de cocción.
iii. Número de quemadores.
iv. Número de cámaras de combustión.
v. Si cuenta o no con chimenea
vi. Eficiencia térmica
vii. Cantidad de emisiones totales y fugitivas
viii. Lista de componentes y materiales requeridos para su construcción.
11.3.4.3. Control de Expediente del proveedor o prestador del servicio que solicita la auto declaración
El proveedor o prestador del servicio debe generar un expediente único para cada servicio realizado, es decir por cada producto terminado, el cual debe contener al menos la siguiente información:
· Personal responsable de la ejecución del servicio;
· Evidencia de la capacitación del personal responsable de la ejecución del servicio;
· Personal responsable de la supervisión del servicio;
· Información del lugar donde se desarrolló el servicio, de cada una de las estufas que funcionan con leña comprendidas dentro de este servicio:
° Domicilio (calle, número, código postal, estado, municipio, localidad);
° Información de la persona a la cual se le brindó el servicio (nombre del solicitante e información de contacto);
· Información particular conforme a los requisitos especificados en el inciso 11.3.3.2; y,
· Registro de avance del Servicio, desde el inicio del servicio hasta su conclusión se debe hacer un seguimiento fotográfico y descriptivo del grado de avance en las actividades al 0, 50 y 100%.
11.3.5. Muestreo
11.3.5.1. Por cada certificado se debe de tomar una muestra al azar de tres especímenes del mismo modelo de estufa que funciona con leña que se desee certificar. Estos especímenes deberán ser utilizados para realizar las pruebas de acuerdo con lo especificado en la Tabla 7.
Tabla 7 - Muestras y pruebas a realizar
| Espécimen | Pruebas a realizar |
| 1 | · Eficiencia térmica utilizando la prueba de ebullición de agua · Perfil de temperatura en la superficie de cocción · Emisiones fugitivas por energía útil · Emisiones totales por energía útil |
| 2 | · Bordes y puntos afilados · Inestabilidad o vuelco de la estufa · Contención del biocombustible · Temperatura superficial de la estufa · Transferencia de calor de la estufa hacia los alrededores · Temperatura de partes para la manipulación de la estufa |
| 3 | Se utilizará en caso de ser requerido, si alguno de los especímenes 1 o 2: a) Es inoperante b) Incumple algún método de prueba, el espécimen 3 sustituirá a la 1 o 2 y se aplicarán la totalidad de los métodos de prueba, según corresponda. |
Para los productos Tipo 1 y 2, el proveedor o prestador del servicio debe coordinarse con el laboratorio.
11.3.5.2. Toma de los especímenes: El representante del OCP debe seleccionar las muestras de acuerdo con lo siguiente:
11.3.5.2.1. Muestreo en fábrica o bodega para estufas Tipo 3.
Para las modalidades M1, M2 y M3, las muestras se podrán tomar de la fábrica en el caso del fabricante nacional o en la bodega en el caso del importador o comercializador y se determinará un lote de 20 del mismo modelo que requiera probarse, de donde se toma una muestra de 3 estufas. Para la selección de dicha muestra se numerarán las estufas del 1 al 20 y se seleccionará una muestra de 3 al azar.
11.3.5.2.2. Muestreo para estufas Tipo 1 y 2.
Para las modalidades M4 y M5, los proveedores o prestadores de servicio deben fabricar 3 muestras las cuales deben de tener las mismas dimensiones externas e internas, los mismos accesorios y materiales de construcción y dimensiones de largo, ancho y espesor.
Su elaboración debe realizarse en el Laboratorio de Pruebas, para garantizar la integridad del producto. Las estufas deben instalarse en el laboratorio tal como el fabricante las instala en las viviendas con estructura de soporte, evacuación de humos, etc.
Los interesados deben hacerse cargo de la fabricación de los dispositivos en el laboratorio de prueba elegido.
11.3.6. Agrupación de la familia de producto
Para definir la familia de productos correspondiente a esta NOM, dos o más modelos se consideran de la misma familia siempre y cuando cumplan con todos y cada uno de los siguientes criterios:
a) Mismo tipo de estufa que funciona con leña:
1. Tipo 1
2. Tipo 2
3. Tipo 3
b) Misma planta productiva (para productos Tipo 3)
c) Mismo número de cámaras de combustión
d) Mismo sistema de ventilación de gases de combustión (con chimenea o sin chimenea)
e) Mismo tipo de cocción
· Tipo plancha
· A fuego directo
Las variantes de carácter estético o de apariencia del producto, sus dimensiones y sus componentes, no se consideran limitantes para la agrupación de familia, siempre que estas no afecten de manera considerable la operación de los productos.
No se considera de la misma familia a aquellos productos que no cumplan con uno o más criterios aplicables a la definición de familias antes expuestos.
11.3.6.1. Para efectos de certificación inicial en las modalidades M1, M2, M3, así como la modalidad M5 se debe enviar a pruebas de laboratorio el modelo más representativo de la familia propuesta.
Se considerará como modelo más representativo de la familia, aquel que cumpla con la mayor cantidad de características existentes en los demás modelos pertenecientes a la misma familia.
En caso de que algún modelo cuente adicionalmente con características diferentes (funcionalidad, emisiones y seguridad), dicho modelo debe someterse a pruebas de laboratorio.
Cualquier estufa que funciona con leña diferente a la clasificación anterior debe cumplir las especificaciones y los métodos de prueba que le apliquen.
El número de modelos que pertenezcan a una familia, para ser certificada, no está restringido, siempre y cuando cumplan con cada uno de los criterios aplicables indicados anteriormente.
El OCP o la Autoridad Normalizadora debe determinar con base en la información entregada, la procedencia total o parcial de la familia o en su caso la negación correspondiente. De la misma forma, cuando proceda debe determinar los elementos que serán enviados a pruebas de laboratorio, de acuerdo con la modalidad aplicable.
Cualquier controversia en la clasificación de familia de productos será resuelta por la autoridad competente, de acuerdo con sus facultades y atribuciones.
11.3.7. Vigencia de los certificados de cumplimiento del producto o servicio
11.3.7.1. Para los certificados emitidos en la modalidad M1 la vigencia de la certificación es de cuatro años a partir de la fecha de emisión para los certificados de la conformidad con seguimiento mediante pruebas periódicas al producto.
11.3.7.2. Para los certificados emitidos en la modalidad M2 cinco años a partir de la fecha de emisión, para los certificados de la conformidad con seguimiento mediante el sistema de gestión de la calidad del proceso de producción.
11.3.7.3. Para la modalidad M3 los certificados por lote de producción sólo amparan la cantidad de especímenes que se fabriquen, comercialicen e importen, con base en dichos certificados, por lo que se carecerá de vigencia y seguimiento.
11.3.7.4. Para la modalidad M4 el certificado de conformidad de servicio tendrá una vigencia sujeta al cumplimiento de los seguimientos que se indiquen en la presente NOM.
11.3.7.5. Para la modalidad M5 la auto declaración de conformidad se otorgará por proyecto y tendrá una vigencia sujeta al cumplimiento de los seguimientos y requisitos que determine la Autoridad Normalizadora de acuerdo con sus facultades y atribuciones, así como lo que se indiquen en la presente NOM.
11.3.8. Seguimiento a la Certificación
11.3.8.1. El OCP debe realizar el seguimiento del cumplimiento con la presente NOM, de los productos certificados bajo las modalidades M1 y M2, conforme a lo especificado en el esquema particular.
11.3.8.1.2. Seguimiento Modalidad M1
Se debe realizar el seguimiento a partir del segundo año de vigencia del certificado (a partir del mes 13 de vigencia y hasta el mes 24), el seguimiento se realizará tanto de manera documental, como por muestreo y pruebas del producto certificado, así como la revisión de marcado de producto, durante este seguimiento el OCP, determinará la suspensión, cancelación o mantenimiento de la certificación, basando su respuesta en el cumplimiento a las especificaciones de esta NOM.
Durante el cuarto año de vigencia del certificado (a partir del mes 37 de vigencia y hasta el mes 42), el seguimiento se realizará tanto de manera documental, como por muestreo y pruebas del producto certificado, así como la revisión de marcado de producto, durante este seguimiento el OCP, determinará la suspensión, cancelación, mantenimiento o renovación de la certificación, basando su respuesta en el cumplimiento a las especificaciones de esta NOM.
11.3.8.1.3. Seguimiento Modalidad M2
Se debe realizar el seguimiento a la vigencia del sistema de gestión de calidad cada año, la certificación emitida bajo esta modalidad (M2) está ligada a la vigencia, suspensión o cancelación de la certificación de la calidad.
A partir del segundo año de vigencia del certificado (a partir del mes 13 de vigencia y hasta el mes 24), el seguimiento se realizará tanto de manera documental, como por muestreo y pruebas del producto certificado, así como la revisión de marcado de producto, durante este seguimiento el OCP, determinará la suspensión, cancelación o mantenimiento de la certificación, basando su respuesta en el cumplimiento a las especificaciones de esta NOM.
Durante el quinto año de vigencia del certificado (a partir del mes 49 de vigencia y hasta el mes 54), el seguimiento se realizará tanto de manera documental, como por muestreo y pruebas del producto certificado, así como la revisión de marcado de producto, durante este seguimiento el OCP, determinará la suspensión, cancelación, mantenimiento o renovación de la certificación, basando su respuesta en el cumplimiento a las especificaciones de esta NOM.
11.3.8.1.4. Seguimiento Modalidad M4
Se debe realizar el seguimiento a la certificación emitida bajo esta modalidad cada seis meses, su vigencia será temporal sujeta a la realización de los seguimientos.
Cada seis meses contados a partir de la vigencia del certificado, el seguimiento se realizará tanto de manera documental como por pruebas de laboratorio, y el OCP revisará los servicios realizados por el prestador del servicio, en dicha revisión se debe evaluar lo indicado en el inciso 11.3.3.3 Control de Expediente del Servicio, durante este seguimiento el OCP, determinará la suspensión, cancelación o mantenimiento de la certificación, basando su respuesta en la integración del expediente, documentadas por el prestador del servicio.
A partir del primer año de vigencia de la certificación, además de los expedientes de servicio, el prestador debe evidenciar el cumplimiento a las especificaciones de esta NOM, el cual se puede sustentar de los informes de prueba de laboratorio del prestador o proveedor para los servicios solicitados.
El OCP debe transmitir la información de los servicios revisados y concluidos a la Autoridad Normalizadora, para que en caso de que sea requerido una verificación en sitio, esta pueda acordarse con el proveedor o prestador del servicio.
11.3.8.2. Informe de Seguimiento a la certificación
Para las modalidades (M1, M2 y M3) el OCP debe elaborar un informe que contenga al menos los siguientes elementos:
11.3.8.2.1. Información del seguimiento de producto para pruebas
El OCP debe presentar dentro del contenido del informe de seguimiento la siguiente información:
· Muestras probadas en la certificación inicial;
· Muestras probadas en seguimientos previos;
· Fecha en que se realizó el muestreo;
· Muestras y número de piezas seleccionadas para pruebas en el seguimiento actual;
· Criterios de selección de las muestras seleccionadas en el seguimiento actual;
· Fecha en la que se realizó el envío al laboratorio de pruebas;
· Nombre del laboratorio seleccionado para realizar las pruebas;
· Fecha en que se realizaron las pruebas;
· Fecha de emisión del informe de resultados;
· Fecha en que se entregó informe al OCP;
· Se debe incluir en el expediente el Informe de pruebas del laboratorio, el cual deberá presentarse al OCP dentro del plazo de vigencia de 180 días naturales para considerarlo válido.
11.3.8.2.2. Información del seguimiento de producto para comprobación documental
Se debe documentar la evidencia de haber verificado el marcado definitivo en el lugar donde se realizó el seguimiento, que incluya fotografías de la actividad, así como, la revisión de requisitos documentales establecidos en esta NOM, como pueden ser garantías, instructivos, e información comercial, entre otros.
El OCP debe presentar dentro del contenido del informe de seguimiento la siguiente información:
· Número de Certificado de Producto;
· Modalidad de Certificación;
· Modelos que ampara el certificado;
· Marcas que ampara el certificado;
· Norma que ampara el certificado; y,
· Se debe corroborar y, si aplica, actualizar la información legal, domicilio (s), datos del representante, e información de contacto.
11.3.8.2.3. De los resultados del seguimiento correspondiente y considerando los resultados de la evaluación del informe de seguimiento, el OCP dictamina la suspensión, cancelación o renovación del certificado de la conformidad de producto.
11.3.8.2.4. En caso de que el OCP determine la suspensión o cancelación del certificado de la conformidad de producto, ya sea por el incumplimiento del producto con la presente NOM o cuando el seguimiento no pueda llevarse a cabo por causa imputable a la empresa a verificar, el OCP debe dar aviso al titular del certificado y a la Autoridad Normalizadora correspondiente a través de los medios que se convengan con la autoridad para el envío de esta información.
11.4. Suspensión y cancelación del certificado de la conformidad de producto
Sin perjuicio de las condiciones contractuales de la prestación del servicio de certificación, el OCP debe aplicar los criterios siguientes para suspender o cancelar un certificado.
11.4.1. Se procederá a la suspensión del certificado:
a) Por incumplimiento con los requisitos de información (marcado) al público establecidos por la NOM;
b) Cuando el seguimiento no pueda llevarse a cabo por causas imputables al titular del certificado;
c) Cuando el titular del certificado no presente al OCP el informe de pruebas derivado del seguimiento, antes de 30 días naturales contados a partir de la fecha de emisión del informe de pruebas y dentro de la vigencia del certificado;
d) Por cambios o modificaciones a las especificaciones o diseño de los productos certificados que no hayan sido evaluados por causas imputables al titular del certificado; y,
e) Cuando la Autoridad Normalizadora lo determine, podrá suspender los certificados teniendo como fundamento los artículos: 139, 140, 142, 143, 144, 145, 146, 147, 148 y 149 de la LIC y los aplicables de su Reglamento.
El OCP debe informar al titular del certificado sobre la suspensión, otorgando un plazo de 30 días naturales para hacer aclaraciones pertinentes o subsanar las deficiencias del producto o del proceso de certificación. Pasado el plazo otorgado y en caso de que no se hayan subsanado los incumplimientos, el OCP procederá a la cancelación inmediata del certificado de la conformidad de producto.
11.4.2. Se procederá a la cancelación inmediata del certificado, cuando ocurra alguna de las siguientes condiciones:
a) Por cancelación del certificado del sistema de gestión de la calidad de la línea de producción;
b) Cuando se detecte falsificación o alteración de documentos relativos a la certificación;
c) A petición del titular de la certificación, siempre y cuando se hayan cumplido las obligaciones contraídas en la certificación, al momento en que se solicita la cancelación;
d) Cuando se incurra en declaraciones engañosas en el uso del certificado de la conformidad de producto;
e) Por incumplimiento con especificaciones de la presente NOM, que no sean aspectos de marcado e información;
f) Una vez notificada la suspensión, no se corrija el motivo de ésta en el plazo establecido;
g) Cuando la Autoridad Normalizadora lo determine, podrá cancelar los certificados teniendo como fundamento los artículos: 139, 140, 142, 143, 144, 145, 146, 147, 148 y 149 de la LIC y los aplicables de su Reglamento;
h) Se hayan efectuado modificaciones sustantivas al producto (Tipo 2 y 3);
i) No se cumpla con las características y condiciones establecidas por el OCP en el certificado de la conformidad de producto; y
j) El documento donde consten los resultados de la evaluación de la conformidad pierda su utilidad o se modifiquen o dejen de existir las circunstancias que dieron origen al mismo, previa petición de parte.
En todos los casos de cancelación se procede a dar aviso a las autoridades normalizadoras correspondientes, informando los motivos de ésta. El OCP mantendrá el expediente de los productos con certificados cancelados por incumplimiento con la presente NOM.
11.5. Renovación
Para obtener la renovación de un certificado de la conformidad de producto en las modalidades M1 y M2 que resulte aplicable, se procederá a lo siguiente.
11.5.1. Deberán presentarse los documentos siguientes:
a) Solicitud de renovación; y,
b) Actualización de la información técnica debido a modificaciones en el producto en caso de haber ocurrido.
11.5.2. La renovación estará sujeta a lo siguiente:
a) Haber cumplido en forma satisfactoria con los seguimientos y pruebas establecidas en el Capítulo 7 de esta NOM; y,
b) Que se mantengan las condiciones de la modalidad de certificación, bajo la cual se emitió el certificado de cumplimiento inicial.
Una vez renovado el certificado de la conformidad de producto, se estará sujeto a los seguimientos correspondientes a cada modalidad de certificación, así como las disposiciones aplicables del presente PEC.
11.6. Ampliación o reducción del certificado de la conformidad de producto
Una vez otorgado el certificado de la conformidad se puede ampliar, reducir o modificar su alcance, a petición del titular del certificado, siempre y cuando se demuestre que se cumple con los requisitos de la presente NOM, mediante análisis documental y, de ser el caso, pruebas tipo.
Los certificados emitidos como consecuencia de una ampliación quedarán condicionados tanto a la vigencia y seguimiento de los certificados de la conformidad de producto iniciales y pueden contener la totalidad de modelos y marcas del certificado base, o bien una parcialidad de éstos.
Para ampliar, modificar o reducir el alcance del certificado de la conformidad, deben presentarse lo siguiente:
· Información técnica que justifique los cambios solicitados y que demuestre el cumplimiento con las especificaciones establecidas en la presente NOM, con los requisitos de agrupación de familia y con la modalidad de certificación correspondiente.
11.7. Diversos
11.7.1. La lista de los OEC puede consultarse en el portal de la Autoridad Normalizadora competente, además de que dicho listado estará publicado en la Plataforma Tecnológica Integral de Infraestructura de la Calidad.
11.7.2. Los gastos que se originen por los servicios de certificación y pruebas de laboratorio, por actos de evaluación de la conformidad, son a cargo del solicitante.
11.7.3. Cada lote debe estar constituido por unidades de producto de la misma familia, fabricados esencialmente bajo las mismas condiciones.
11.7.4. Responsabilidades de los OEC.
11.7.4.1. Revisión del marcado
Para determinar el cumplimiento de la información de marcado, que se indica en el Capítulo 9, se debe considerar lo siguiente:
· Corresponde al Laboratorio de Pruebas, reportar a través del Informe de resultados, la evaluación correspondiente del inciso 9.1, verificando que se dé cumplimiento a la permanencia, legibilidad e indelebilidad del marcado, para corroborar esta evaluación, se debe incluir en el contenido del informe de resultados la fotografía del producto con su respectivo marcado.
· Corresponde al OCP, verificar y corroborar que la información de marcado, indicada en el inciso 9.2, cumple para el (los) producto(s), que se pretende(n) certificar.
· Únicamente se permite evaluar prototipo de marcado, en certificaciones iniciales, para lo cual el solicitante debe presentar una declaratoria bajo protesta de decir verdad que el producto no ha sido certificado anteriormente en algún otro OCP.
· En los seguimientos realizados a la certificación, será obligatorio evaluar el marcado, sobre la información con la que se comercializa el producto, para lo cual, el Laboratorio de Pruebas y OCP deben tomar evidencia fotográfica del producto con su placa (que se aprecien ambos) para corroborar lo indicado en el Capítulo 9, esta evidencia se debe integrar en el informe de resultados y el expediente de certificación, respectivamente.
11.7.5. Informe de prueba
Los resultados de la prueba deben plasmarse en un informe de resultados conforme a lo indicado en el Apéndice B, el cual debe ser firmado por el personal autorizado por la Autoridad Normalizadora y las entidades de acreditación para tales efectos.
El informe de pruebas debe contener como mínimo la siguiente información:
· Información que identifique al laboratorio de pruebas;
· Fecha de recepción del producto, fecha de realización del método de prueba y fecha de emisión del informe de prueba;
· Identificación del producto bajo prueba (incluido marca, modelo o Tipo de acuerdo con la clasificación);
· Nombre e información de contacto del solicitante;
· Referencia del método de prueba;
· Los equipos de medición usados en la prueba incluyendo la identificación del equipo, fecha de calibración y la vigencia de la calibración;
· Se deben indicar especificaciones a cumplir de acuerdo con las características del producto sometido a pruebas;
· Reportar las condiciones de prueba de acuerdo con los métodos que se estén evaluando;
· Resultados de la prueba incluyendo los datos obtenidos de las mediciones realizadas;
· La evaluación y análisis de los resultados de la prueba;
· Apartado de opinión, comentarios u observaciones, en caso de ser requerido;
· Las siguientes fotografías del producto deben aparecer en el informe de resultados:
o Del producto con la identificación asignada por el laboratorio;
o Del producto cuando se encuentre en acondicionamiento;
o Del producto durante el desarrollo del método de prueba.
11.7.6. Certificado de la Conformidad de Producto o Servicio
Los resultados de la certificación deben plasmarse en un Certificado de la Conformidad de Producto o Servicio, el cual debe ser firmado por el personal autorizado para otorgar la certificación.
El certificado debe contener como mínimo la siguiente información:
Generales:
· Información que identifique al OCP;
· Nombre y firma de las personas que autorizan la certificación;
· Nombre e información de contacto del solicitante;
· Fecha de emisión del certificado;
· Alcance de la certificación;
Para el caso de certificados de conformidad de producto:
· Modalidad de la certificación;
· Vigencia del certificado;
· Número de informe de pruebas que ampara la certificación;
· Fracción arancelaria;
· País de origen;
· País de procedencia;
· Marca;
· Tipo de producto;
· Modelo evaluado para la certificación;
· Especificaciones del modelo evaluado para la certificación:
° Eficiencia térmica en %;
° Emisiones fugitivas por energía útil de las estufas con chimenea;
Nota: Las especificaciones del modelo evaluado para la certificación pueden ser distintas, a la de los modelos amparados.
Para el caso de certificados de conformidad de servicios:
· Lugar donde se desarrolló el servicio;
· Información de contacto del lugar donde se desarrolló el servicio;
· Marca;
· Tipo de producto;
· Modelo evaluado para la certificación;
· Especificaciones del modelo evaluado para la certificación:
° Eficiencia térmica en %
° Emisiones fugitivas por energía útil de las estufas con chimenea
Nota: Las especificaciones del modelo evaluado para la certificación pueden ser distintas, a la de los modelos amparados.
12. Sanciones
El incumplimiento de la presente Norma Oficial Mexicana será sancionado conforme a lo dispuesto por la Ley de Infraestructura de la Calidad, su Reglamento vigente y demás disposiciones legales aplicables.
13. Concordancia con normas internacionales
Este Norma Oficial Mexicana, al momento de su elaboración, concuerda parcialmente, con la norma internacional ISO-19867 -1:2018. Clean cookstoves and clean cooking solutions - Harmonized laboratory test protocols - Part 1: Standard Test Sequence for emissions and performance, safety, and durability.
Apéndice A.
Normativo
Manual de operación y póliza de garantía
A.1. La estufa que funciona con leña debe estar acompañada de un manual de operación que debe contener como mínimo la información siguiente:
a) Recomendaciones o ejemplo para el caso de las estufas sin chimenea hacer uso exclusivo en exteriores.
b) Partes principales de la estufa
c) Indicaciones para su instalación
d) Funcionamiento (encendido)
e) Advertencias de uso
f) Mantenimiento
g) Colocación de accesorios en caso de requerirse
h) Fijación de estufa en caso de requerirse
i) Nombre y modelos de estufas que aplican
j) Nota que especifique que la quema de un material distinto a la leña puede representar un riesgo a la salud.
k) Indicaciones de los controles para sus funcionamientos a potencia baja y alta con las cantidades de carga de leña mínima y máxima. En el caso de estufas que funcionan con leña sin chimenea el manual deberá contar con la leyenda "Advertencia: Para uso exclusivo en exteriores. El encender este equipo en interiores o áreas no ventiladas representa un alto riesgo a la seguridad de las personas." de forma que resalte dentro de este.
A.2. La estufa que funciona con leña debe estar acompañada de una póliza de garantía que debe contener como mínimo la información siguiente:
a) Nombre, dirección y datos de contacto del fabricante y /o del responsable de la garantía en territorio nacional
b) Tiempo que cubre la garantía
c) Motivos de invalidez de garantía
d) Nombre del producto
e) Modelo
f) Marca
g) Datos y sellos del distribuidor (datos del distribuidor, fecha de compra, nombre del comprador, dirección y teléfono).
A.3. El uso de las unidades y simbología debe ser conforme a lo dispuesto en la NOM-008-SE-2021.
Apéndice B.
Normativo
Formato de informe de resultados
| | NOM-036-ENER/SE-2025 | | |
| | Formato de Informe de Pruebas | | |
| | | | | | | | | | | |
| | Número de servicio: | | | Fecha de recepción del ítem: | | | |
| | | | | | Fecha de realización de las pruebas: | | | |
| | | | | | | Fecha de emisión: | | | |
| | | | | | | | | | | |
| | Datos del cliente | | | | | | | | |
| | | Nombre: | | | | | | | | |
| | | Domicilio: | | | | | | | | |
| | | | | | | | | | | |
| | Datos del producto evaluado | | | | | | | |
| | N° de identificación: | | | | Nombre de la estufa: | | | |
| | Marca: | | | | | N° de serie: | | | | |
| | Modelo: | | | | | Tipo: | | | | |
| | Número de planchas: | | | | | | | | |
| | Altura de la superficie de cocinado con respecto al suelo: | | | | | |
| | Dimensiones de la(s) entrada(s) de la cámara de combustión: | | | | | |
| | Número de cámaras de combustión: | | | | | | | |
| | Descripción de los materiales de construcción: | | | | | | |
| | ¿Cuenta con chimenea de fábrica? | | | | | | | |
| | Longitud de la chimenea: | | | | | | | | |
| | Altura de protección de la chimenea con respecto al suelo: | | | | | |
| | Cuenta con exposición a fuego directo: | | | Área horizontal: | | | |
| | Forma de la plancha: | | | | Área vertical, frente: | | | |
| | Área de plancha: | | | | Área vertical, costado: | | | |
| | ¿Cuenta con manual de instrucción y uso? | | | | | | |
| | Otros detalles de fabricación o instalación de la estufa: | | | | | |
| | | | | | | | | | | |
| | | | | | | | | | | |
| | Equipo utilizado | | | | | | | | |
| | | Marca | Modelo | No. de inventario | Última calibración | Vigencia calibración | | | | |
| | | | | | | | | | | |
| | | | | | | | | | | |
| | | | | | | | | | | |
| | Resultados obtenidos | | | | | | | | |
| | | | | | | | | | | |
| | 6.1 Eficiencia térmica | | | | | | | |
| | 6.1.1. Eficiencia térmica utilizando la prueba de ebullición de agua | | | | |
| | Prueba 1 | | | | | | | | | |
| | Eficiencia térmica en baja potencia | | | Potencia | | |
| | Eficiencia térmica en alta potencia | | | Potencia | | |
| | Prueba 2 | | | | | | | | | |
| | Eficiencia térmica en baja potencia | | | Potencia | | |
| | Eficiencia térmica en alta potencia | | | Potencia | | |
| | Prueba 3 | | | | | | | | |
| | Eficiencia térmica en baja potencia | | | Potencia | | |
| | Eficiencia térmica en alta potencia | | | Potencia | | |
| | Promedio | | | | | | | | | |
| | Eficiencia térmica en baja potencia | | | Potencia | | |
| | Eficiencia térmica en alta potencia | | | Potencia | | |
| | | | | | | | | | | |
| | 6.1.2. Perfil de temperatura en la superficie de cocción | | | | | |
| | | Prueba | Temperatura obtenida | Puntuación obtenida | |
| | | Temperatura máxima promedio de C y RA (5 puntos) a los 10 minutos | | | |
| | | Temperatura máxima promedio de C y RA (9 puntos) a los 30 minutos | | | |
| | | Homogeneidad entre el C y la región RA | | | |
| | | Homogeneidad entre el C y la región RB | | | |
| | | Homogeneidad de C en sus puntos apuestos | | | |
| | | | | | | | | | | |
| | 6.2. Seguridad | | | | | | | | |
| | | Inciso | Método | Puntuación obtenida | | | | |
| | | 6.2.1 | Bordes y puntos afilados | | | | | |
| | | 6.2.2 | Inestabilidad o vuelco de la estufa | | | | | |
| | | 6.2.3 | Contención del biocombustible | | | | | |
| | | 6.2.4 | Temperatura superficial de la estufa | | | | | |
| | | 6.2.5 | Transferencia de calor hacia los alrededores | | | | | |
| | | 6.2.6 | Temperatura de partes para la manipulación de la estufa | | | | | |
| | | 6.2.7 | Determinación de fuego o flama alrededor de la superficie de cocinado | | | | | |
| | | 6.2.8 | Determinación de fuego o flama saliendo de la cámara de combustión o ductos | | | | | |
| | | | | | | | | | | |
| | | 6.2.9 Emisiones totales por energía útil de ambos tipos de estufas (con y sin chimenea) | | | |
| | | | Emisión | Potencia | | | |
| | | Alta potencia | | CO (g/MJu) | | kW | | | |
| | | | PM2.5 (mg/MJu) | | kW | | | |
| | | Baja potencia | | CO (g/MJu) | | kW | | | |
| | | | PM2.5 (mg/MJu) | | kW | | | |
| | | | | | | | | | | |
| | | 6.2.10. Emisiones fugitivas por energía útil de ambos tipos de estufa (con y sin chimenea) |
| | | | Emisión | Potencia | | | |
| | | Alta potencia | | CO (g/MJu) | | kW | | | |
| | | | PM2.5 (mg/MJu) | | kW | | | |
| | | Baja potencia | | CO (g/MJu) | | kW | | | |
| | | | PM2.5 (mg/MJu) | | kW | | | |
| | Concentración de las emisiones de CO y CO2 durante la evaluación del dispositivo. | |
| | | |
Apéndice C
Normativo
Mediciones de emisiones y desempeño basadas en laboratorios - Consideraciones adicionales
C.1. Generalidades
El inciso 7.1.1 está diseñado para estufas, pero comparte muchos principios con las mediciones de emisión de partículas y gases que han estado en uso durante muchos años para fuentes de combustión estacionarias. Un procedimiento de prueba que comparte muchos de estos principios es el método del túnel de dilución tal como se especifica actualmente para la certificación de estufas para calentamiento de espacios en muchos países.
Otro procedimiento de prueba basado en laboratorio, el método de balance de masa comparte muchos principios con procedimientos basados en campo que han sido ampliamente utilizados, especialmente cuando el uso de un túnel de dilución no es práctico. La captura total de las emisiones no se requiere con el uso del método del balance de masa. El método de balance de masa de carbono ha estado en uso durante muchos años para diversas aplicaciones.
El estándar dorado para la cuantificación de las emisiones y la eficiencia del biocombustible usa el túnel de dilución para la captura total cotejado con el método de balance de masa de carbono. Obteniendo consistentemente resultados similares para ambos métodos que no demuestran exactitud, pero mejoran bastante la confianza en los resultados.
La evaluación de emisiones y eficiencia del biocombustible de las estufas es más complicada que la misma tarea para otras fuentes estacionarias debido a la diversidad de diseños, biocombustibles y aplicaciones de las estufas. Por ejemplo, muchas de las aplicaciones de fuentes estacionarias consisten principalmente en operaciones en condiciones de estado estacionario. Las aplicaciones de estufas incluyen una gama más amplia de niveles de potencia y funciones. Además, algunas estufas son lo suficientemente grandes como para impedir la aplicación de equipos y métodos de pruebas de laboratorio típicos. En los casos en que no sea posible la aplicación de un túnel de dilución, las pruebas deben realizarse en el sitio o bajo condiciones apropiadas.
La evaluación de las emisiones y la eficiencia del biocombustible también es más complicada para las estufas de biocombustibles sólidos que para las estufas de líquido/gas. La combustión de biocombustibles sólidos es inherentemente más variable que en las estufas de biocombustibles líquidos o gaseosos porque el proceso de combustión de biocombustibles sólidos incluye vaporización de la humedad (secado), volatilización de hidrocarburos (pirólisis y carbonización), carbonizarse (carbón), gasificación y combustión de gas. Además, controlar la combustión de biocombustibles sólidos es más complicado que controlar la combustión de líquidos y gases típicos.
C.2. Cálculos del número de Reynolds del conducto
Para conseguir un número de Reynolds mínimo de 104, seleccione una sección transversal de conducto circular y un flujo volumétrico como se indica en la fórmula 10.
Donde:
Re es el valor del número de Reynolds, sin unidad;
V es la velocidad del aire en el conducto, m/s;
d es el diámetro del conducto, m;
v es la viscosidad cinemática del aire a la temperatura y presión de muestreo, m2/s;
Q es el flujo volumétrico, m3/s.
C.3. Cálculo del flujo mínimo
Para aire a 20 ºC y presión de 100 kPa (n = 1.5x10-5 m2/s), resuelva el flujo mínimo de 0.15 m y 0.3 m de conducto como se indica en la fórmula 11.
Qmin,D = 0.15m 64 m3/hr (V 1 m/s)
Qmin,D = 0.30m 130 m3/hr (V 0.5 m/s)
Donde:
Q es el flujo volumétrico, m3/s;
n es la viscosidad cinemática del aire a la temperatura y presión de muestreo, m2/s;
d es el diámetro del conducto, m;
V es la velocidad del aire en el conducto, m/s;
Qmin,D es el flujo volumétrico mínimo, m3/s
C.4. Muestreo y cálculos de las emisiones de contaminantes del aire
C.4.1. Muestreo isocinético de material particulado
El muestreo isocinético se considera una buena práctica y se recomienda para el muestreo de material particulado a partir de un túnel de dilución (ver Liu et al. 2008 [11], Maricq et al. 2003 [12], y Petrovic et al. 2015 [13]). Sin embargo, no se requiere muestreo isocinético, porque para el conteo y el diámetro medio de la masa de las partículas es típicamente inferior a 500 nm. Por esta razón, la deposición inercial que domina desde partículas > 1 µm de diámetro no es tan grande como debería, y la consideración cuidadosa del muestreo isocinético no es crítica.
C.4.1.1. Determinación del diámetro del tubo de muestra, método del túnel de dilución
Utilizando el método del túnel de dilución, el diámetro interno del tubo de muestreo se puede determinar como se indica en la fórmula 12.
Donde:
dmuestra es el diámetro interno del tubo de muestreo, m;
dducto es el diámetro interno del conducto de gases de salida, m;
Qducto es el flujo volumétrico a través del sistema de gases de salida, m3/s;
Qmuestra es la tasa de muestreo, m3/s.
C.4.1.2. Determinación del diámetro del tubo de muestra, método de balance de carbono
Cuando se emplee el método de balance de masa de carbono, se recomienda determinar el diámetro del tubo de muestreo como se indica en la fórmula 13.
Donde:
dmuestra es el diámetro interno del tubo de muestreo, m;
vpluma es la velocidad de la pluma, m/s;
Qmuestra es la tasa de muestreo, m3/s.
Se puede usar un anemómetro o dispositivo similar para aproximar la velocidad de la pluma. Los límites de temperatura del anemómetro deben ser verificados para asegurar el rango apropiado para medir la pluma.
El eje del tubo de muestreo debe ser paralelo a la velocidad de la pluma.
C.4.2 Medición de la concentración de masa de aerosol
La concentración de masa de aerosol, tal como PM2.5, se debe medir por muestreo de aerosol en filtros gravimétricos de cuarzo, fibra de vidrio o PTFE como se describe en la ISO 9096. Ver inciso A.9 y la Figura A.1.
Los métodos basados en óptica no son una referencia aceptable para cuantificar las concentraciones de masas de aerosoles generadas por cocinas porque los métodos ópticos deben calibrarse a las propiedades ópticas de una fuente dada y son menos precisos que los métodos gravimétricos, especialmente cuando la masa significativa es inferior a 50 nm a 100 nm (ver Amaral et al. 2015 [10]).
Código
1 ciclón o impactador
2 porta filtro
3 bomba y control de flujo
dmuestra diámetro interno del tubo de muestreo, m;
dducto diámetro interno del conducto de gases de salida, m;
Qducto flujo volumétrico a través del sistema de gases de salida, m3/s;
Qmuestra Tasa de muestreo, m3/s;
vducto Velocidad del gas en el conducto, m/s;
vmuestra Velocidad del gas en la sonda de muestra, m/s.
Figura C.1 - Diagrama representativo de un sistema de muestreo de la concentración en masa de aerosol
C.4.3. Muestreo de contaminantes gaseosos
El muestreo de especies gaseosas no necesita ser isocinético, ver Figura C.2. No obstante, debe tenerse cuidado de que el equipo de análisis esté protegido de la alta concentración de aerosol y la humedad relativa que puede estar presente en el conducto. Si se están realizando muestreos de especies reactivas, se debe tener cuidado de elegir un muestreo apropiado para reducir las pérdidas debidas a reacciones en la pared. Por lo general, las pruebas de estufas se pueden realizar utilizando instrumentos de medición de gas con una escala completa de 10 000 ppm para CO2 y 1 000 ppm para CO, aunque se pueden usar otras escalas completas según las condiciones de la prueba.
Código
1 Filtración del aerosol
2 secador
3 analizador de gas
Figura C.2 - Diagrama representativo de un sistema de muestreo de gas carbónico
C.4.3.1. Medidas integradas
Para medidas integradas tales como la concentración de masa de aerosol basada en filtros, la tasa de emisión de masa promedio desde la fuente durante el período de integración, t, (Es,i) se puede calcular como se indica en la fórmula 14.
Donde:
Es,i es la tasa de emisión de masa promedio de la fuente durante el período de integración, g/s;
R es la proporción de dilución de la solución, sin unidad;
m es la masa integrada del contaminante muestreado, g;
t es el tiempo, s;
Qmuestra es el flujo volumétrico de muestreo, m3/s;
Ci,0 es la concentración en masa del contaminante de interés en el aire ambiente, g/m3;
Qducto es el flujo volumétrico a través del sistema de gases de salida, m3/s.
Nota 1: La fórmula anterior es aplicable para los esquemas de muestreo basados en la captura total (campana y conducto), pero no es relevante para el muestreo de una habitación u otro ambiente interior.
Nota 2: Se supone que la corriente de dilución, en su caso, contiene concentraciones insignificantes del contaminante de interés. Esta suposición no siempre es cierta, especialmente si la corriente de dilución primaria es el aire ambiente de un ambiente contaminado.
Nota 3: Qducto siempre se refiere al flujo volumétrico previo a la muestra a través del conducto a la temperatura y presión del conducto. Sin embargo, es raro en la práctica que la medición de Qducto después de la muestra pueda afectar los resultados porque, por lo general, Qducto >> Qmuestra
Ejemplo: Un sistema de captura total típico puede tener Qducto = 7000 LPM mientras que Qmuestra = 16.7 LPM, dando lugar a un error de 0.2% si el Qducto se define incorrectamente.
C.4.3.2. Mediciones en tiempo real
Para los sistemas de medición de concentración en tiempo real, como un analizador de gas, la tasa de emisiones de una fuente se define como se indica en la fórmula 15.
Donde:
Es,rt es la tasa de emisión de la fuente en tiempo real, g/s;
R es la proporción de dilución de la solución, sin unidad;
Cmuestra,DTP es la concentración en masa generada por el fuego del contaminante de interés a la
misma temperatura y la presión del conducto, g/m3;
Qducto es el flujo volumétrico a través del sistema de gases de salida, m3/s.
Corrección de temperatura y presión pueden ser aplicados como se indica en la fórmula 16.
Donde:
Cmuestra,DTP es la concentración en masa generada por el fuego del contaminante de interés a la misma temperatura y presión del conducto, g/m3;
Cmuestra es la medida de la concentración de la muestra, g/m3;
C0 es la concentración en masa del contaminante de interés en el aire ambiente, g/m3;
Tmuestra es la temperatura del gas de muestra, K;
Tducto es la temperatura del gas en el conducto, K;
Pducto es la presión en el conducto, Pa;
Pmuestra es la presión en la línea de muestreo, Pa.
Nota 1: T y P se miden en unidades absolutas, es decir, Kelvin y Pascales absolutos.
Nota 2: Muestreo con instrumentos de un conducto y túnel de dilución tiene desfase inherente de tiempo. La muestra tendrá lugar a partir del fuego y viajará a través del conducto, túnel de dilución, y líneas de muestreo antes de llegar finalmente al instrumento. Además, el instrumento puede tener su propio retraso (por ejemplo, métodos electroquímicos para medir CO). Por esta razón, datos "en tiempo real" pueden retrasar el comportamiento de la estufa, típicamente de 5 a 30 s. Es importante considerar retrasos y tiempos de respuesta de instrumento a la hora de analizar los datos, considerando los efectos de tiempo de respuesta en solapamiento, y cuando se alineen secuencias de datos en el dominio de tiempo.
C.5. Método del balance de carbono
Para medidas integradas como concentración en masa del aerosol basada en filtros, la tasa promedio de las emisiones de la fuente durante el período de integración, t, (Es,i) se pueden calcular como se indica en la fórmula 17.
Donde:
Es,i es la tasa promedio de las emisiones de la fuente durante el período de integración, g/s;
R es la proporción de dilución, sin unidad;
m es la masa de contaminante recolectado en el filtro,
zc es la fracción de todo el carbono elemental, habiendo surgido del fuego, que pasa a través del dispositivo de muestreo, sin unidad;
t es el tiempo, s.
Para el biocombustible que contiene una fracción de masa seca de carbono elemental, fc,w, quemado en un fuego con duración t, zc se puede escribir como se indica en la fórmula 18.
Donde:
zc es la fracción de todo el carbono elemental, habiendo surgido del fuego, que pasa a través del dispositivo de muestreo, sin unidad;
Qmuestra es la tasa de muestreo volumétrico, m3/s.
n es el número de moléculas que contienen carbono, sin unidad;
fc,i es la fracción de masa de carbono en las moléculas que contienen carbono, sin unidad;
Ci es la concentración en masa total de cualquier especie que contiene carbono, g/m3;
Ci,0 es la concentración en masa del ambiente (fondo) de cualquier especie que contiene carbono, g/m3;
t es el tiempo de duración del fuego, s;
fc,w Es la fracción de masa seca de carbono elemental contenida en el biocombustible, sin unidad;
mwes la masa de biocombustible, g.
Nota: Para determinar fc,w, un análisis de composición elemental del biocombustible de carbono seco y cenizas es obligatorio en el resultado más importante, siendo la fracción de masa de carbono elemental por la masa de biocombustible seco.
Ejemplo: Leña que contiene un 45% de carbono elemental por masa seca es quemada en una prueba. Una determinada fase de la prueba dura 30 min. Durante este tiempo, 500 g de masa de madera seca se consume. Las concentraciones ambientes de CO2 y CO son 400 ppm y 0 ppm, respectivamente. Un investigador coloca un tubo en la pluma de emisiones del fuego para medir PM2.5. Las concentraciones variables en el tiempo de CO2 y CO en el tubo se muestran en la Figura C.3. Dado que 5 mg de PM2.5 fueron depositados en el filtro del investigador durante la prueba y que el filtro tenía un flujo volumétrico de 16.7 l/min, determine la tasa de emisión de masa total de PM2.5 del fuego. El muestreador no tiene dilución. Asuma que la masa de carbono elemental en la leña es emitida principalmente como CO2 y CO.
Ejemplo de la prueba de balance de masa
Figura C.3 - Concentraciones variables en el tiempo de CO2 y CO en el tubo de muestra
En primer lugar, integre la serie de tiempo de CO2 y CO.
Donde:
t es el tiempo de duración del fuego, s;
Cco(t) es la concentración de CO en función del tiempo (es decir, a la tasa de muestreo proporcionada por el instrumento), g/m3;
Cco(0) es la concentración ambiente de CO (en t=0, antes de que el fuego esté encendido), g/m3.
Nota 1: La conversión de ppm·min a unidades de g·min/l utiliza el volumen molar del aire en STP (24.79 l/mol) y masa molar de CO (28 g/mol) igualmente, para CO2:
Donde:
t es el tiempo de duración del fuego, s;
Cco2(t) es la concentración de CO2 como una función de tiempo (es decir, a la tasa de muestreo proporcionada por el instrumento), g/m3;
Cco2(0) es la concentración ambiental de CO2 (en t=0, antes de que el fuego esté encendido), g/m3.
Nota 2: unidades de ppm·min se convierten en g·min/l usando el volumen molar del aire en STP (24.79 l/mol) y masa molar de CO2 (44 g/mol).
Luego, suponiendo que fc = 12/(12+16) para CO y fc = 12/(12+2x16) para CO2, zc se calcula como:
Finalmente, llegamos a la tasa de emisión:
Nota 3: Para obtener más información sobre el método del balance de carbono, ver Zhang et al. 2000 [14].
C.6. Eficiencia de combustión
La eficiencia de la combustión puede ser útil para determinar en la estufa propósitos de desempeño e investigación.
Debido a la complejidad de la determinación de la eficiencia de combustión, una aproximación se utiliza a menudo como un indicador de la eficiencia de la combustión. Eficiencia nominal de la combustión (CO2/[CO2+CO+PM+HCX], donde HCX es total de hidrocarburos) o eficiencia modificada de la combustión (CO2/[CO2+CO]) son útiles para aproximar la eficiencia de combustión.
La determinación de la eficiencia de combustión puede estar basada en DIN 1942 (1994-02) - Acceptance testing of steam generators (VDI Code of practice), German Institute for Standardization (withdrawn), ASME PTC 4.1 - Boiler efficiency test, American Society of Mechanical Engineers, y la BS 845-1:1987 - Methods for assessing thermal performance of boilers for steam, hot water and high temperature heat transfer fluids. Concise procedure, British Standards Institution.
C.7. Método de prueba de fugas
C.7.1. Aplicación
Este método de prueba de fugas debe aplicarse a
a) toda la parte de un sistema de muestreo que funcione en vacío (presión manométrica negativa), a fin de asegurar que la muestra no se diluya, y
b) toda la parte de un sistema de muestreo que opera bajo presión (presión manométrica positiva) en el que es necesaria la medición de caudal volumétrico, a fin de asegurar que el flujo volumétrico sea medido con precisión.
Este método de prueba de fugas también puede aplicarse a una parte de un sistema de muestreo que opere bajo presión positiva en la cual la medición del flujo volumétrico no es necesario (p. ej., entre la salida de la bomba de muestreo y la entrada de los analizadores de gases), pero esto no es un requisito, porque si suficiente flujo volumétrico se mantiene, entonces la muestra no se diluye.
C.7.2. Procedimientos
El volumen interno debe ser determinado por la parte del sistema de toma de muestras para la evaluación de fugas. Debe determinarse el volumen interno:
a) mediante el cálculo del volumen de las dimensiones internas medidas, o
b) al llenar el sistema con agua y medir el volumen directamente.
El agua residual puede ser removida del sistema de toma de muestras con una bomba de vacío.
La típica presión de funcionamiento del sistema de muestreo debe ser medida.
La parte del sistema de toma de muestras bajo prueba debe ser bombeada a la presión de operación (o inferior para un sistema en vacío, más alto para un sistema bajo presión), y el sistema debe ser cerrado con válvulas.
El cambio de presión (si hay alguno) debe ser medido a lo largo del tiempo.
La tasa de fuga debe calcularse mediante la medición de la tasa de cambio en la presión y el volumen interno del sistema de toma de muestras como se indica en la fórmula 23.
Donde:
LR es la tasa de fuga, l/min;
V es el volumen interno del sistema de muestreo, l;
DPfuga es el cambio en la presión durante el tiempo t, debido a la fuga, Pa;
t es el tiempo transcurrido de la prueba de fugas, min;
Patm es la presión atmosférica, Pa.
C.7.3. Prueba del sistema
Además de las pruebas de fugas requeridas, una prueba periódica del sistema es recomendada, como se indica.
Gas de CO2 debe ser entregado en un flujo conocido en la campana de emisiones ya sea por:
a) medir el cambio en la masa de CO2 sólido (hielo seco) a lo largo del tiempo, o
b) la medición del flujo de gas CO2 comprimido (u otro gas trazador).
La concentración de CO2 en el túnel de dilución debe calcularse como se indica en la fórmula 24.
Donde:
C es la concentración de CO2 en el túnel de dilución, ppm;
Cb es la concentración de fondo de CO2 en el aire ambiente,
QCO2 es el flujo volumétrico de CO2 emitido a la campana, l/min;
Qtunel es el caudal de aire en el túnel de dilución, l/min;
106 es el factor de conversión a ppm.
La concentración de CO2 debería medirse en el lugar de muestreo. El analizador de gas de CO2 debe verificarse para la calibración como se especifica en el inciso 7.1.1.3.5. Si las concentraciones de CO2 calculadas y medidas no están en estrecho acuerdo (dependiendo del sistema) entonces, el sistema de medición de emisiones debe ser evaluado para identificar y corregir el problema.
C.8. Método para validar las emisiones bien mezcladas en un conducto
C.8.1. Generalidades
Este método se proporciona como un ejemplo para determinar si los gases de salida diluidos de una estufa están bien mezclados en un conducto antes del muestreo con instrumentos de medición de emisiones. En este método, se inyecta gas trazador ascendente en el puerto de muestreo, aproximadamente en la boca o la entrada del conducto, y una muestra de sonda conectada al analizador de gases correspondiente toma mediciones en varias ubicaciones (axialmente) del diámetro entero del conducto.
C.8.2. Equipo
Este método requiere:
a) una sonda de toma de muestras,
b) un gas trazador (por ejemplo, CO2, CO, SF6).
c) una precisión de masa o flujo volumétrico del dispositivo de control, y
d) un analizador de gases correspondiente para el gas trazador.
La sonda de muestreo debe ser lo suficientemente larga para atravesar todo el diámetro del conducto.
Se recomienda que el analizador de gases tenga un intervalo de medición no superior a 1 s. Cuando se seleccione un gas trazador, es importante asegurarse de que la diferencia entre la concentración esperada del gas trazador diluido en el conducto y la concentración ambiente de fondo del trazador supere el sesgo de error del analizador.
C.8.3. Preparación
Antes del experimento:
a) Los analizadores deberán ser puestos en cero y ajustados.
b) Los cálculos deben realizarse para estimar la concentración esperada de este gas en el conducto después de la dilución. Esta concentración calculada será mayor que el sesgo del analizador de gases para asegurar mediciones exactas.
C.8.4. Introducción del trazador al conducto
El gas trazador debe introducirse en la entrada del conducto axialmente con el flujo de aire y a una velocidad similar a la del flujo de aire (inyección isocinética). Para mayor certeza, se pueden realizar más experimentos con el trazador introducido tangencialmente al conducto; el uso de ambas configuraciones puede aumentar la certeza de que la muestra está completamente mezclada en el conducto.
C.8.5. Procedimiento
El procedimiento es el siguiente:
a) Para comenzar el experimento, coloque la sonda de toma de muestras en el eje del conducto.
b) A continuación, inyecte el gas trazador en una constante tasa volumétrica en la campana y espere hasta que las mediciones en estado estacionario se alcancen en el instrumento analizador de gases (al menos 1 min).
c) Después de alcanzar el estado estacionario, deje la sonda en la misma posición y apague el gas de muestra. Continúe el muestreo hasta que el analizador lea las concentraciones de fondo (al menos 1 min).
d) Repita este proceso según sea necesario para alcanzar el nivel deseado de confianza.
e) Cuando el nivel deseado de confianza sea obtenido para la primera posición de la sonda, mueva la sonda a una nueva ubicación axial en el conducto, más cerca de la pared, y repita el proceso de pulsar encendido y apagado el gas trazador. Recopile datos de cinco posiciones axiales en el conducto (por ej. 0D, 1/4D, 1/2D, 3/4D y D).
f) Compare los resultados para predecir (calcular) las concentraciones de gases y calcule el error.
Además de analizar la concentración media de trazador diluido, se recomienda que la variación de la concentración del trazador con respecto al tiempo será comparada con la varianza nativa del instrumento (ruido) al medir el aire ambiente. Este paso asegura que en promedio el trazador no simplemente esté bien mezclado, sino también bien mezclado en la escala de tiempo de la velocidad de muestreo del instrumento.
Un conducto bien mezclado debe tener un trazador cuya concentración media está dentro del 5 % del valor esperado y no más del 10 % de variación entre la medición máxima y mínima.
C.9. Lineamientos sobre la selección del material del filtro
La Tabla C.1 proporciona lineamientos sobre la selección del filtro.
Tabla C.1 - Ventajas y desventajas de los tipos de filtros
| Tipo de | Politetrafluoroetileno/PTFE (Teflón) | Fibra de vidrio | Cuarzo |
| Ventajas | - Fuerte y robusto - Químicamente inerte -Muy adecuado para mediciones gravimétricas | - Bajo costo Muy adecuado para gravimétrica. - Apropiado para mediciones termo-ópticas de CE/OC | - Bajo costo - Apropiado para mediciones termo-ópticas de CE/OC |
| Inconvenientes | - Normalmente más caro -No es apropiado para mediciones termo-ópticas de CE/OC | - Puede exhibir los artefactos debido a las conversiones de gas a partículas - Más frágil que TFE | - Frágil a menudo no muy adecuado para mediciones gravimétricas, especialmente cuando la masa capturada en el filtro es pequeña (<0.5 mg) - Propenso a absorber humedad, que puede afectar las mediciones gravimétricas debido al gasto de las conversiones de partículas si el filtro se ha fortalecido a través de un proceso alcalino |
Apéndice D
Informativo
Método gravimétrico de túnel de dilución para captura total de medición de PM2.5
Ver inciso 7.1.1.3.7, los aparatos de colección de emisiones deben ajustarse al mínimo requerido de dimensiones especificadas en las Figuras D.1, D.2, D.3 y D.4. El diámetro de conducto debe estar entre 0.1 m y 0.3 m. Un conducto de diámetro de 0.15 m debe usarse cuando sea posible.
La apertura de la campana debe estar orientada hacia el usuario o evaluador. La campana se debe diseñar de forma que encierre completamente la estufa evaluada. No es necesario que la forma de la campana y el diseño de los componentes se ajusten a los representados en las figuras; estas características son mostradas esquemáticamente únicamente con fines de ilustración.
Otro método para controlar el flujo puede ser utilizado en lugar de la compuerta.
El suministro de aire de dilución adicional con el uso de dos válvulas de compuerta mostrado en la Figura D.1 es opcional. Ver inciso 7.1.1.3.7.1.
Si únicamente se muestrean las emisiones fugitivas, como se indica en la Figura D.2, entonces un conducto independiente debe ser proporcionado para las emisiones de gases de salida provenientes de la chimenea.
Código
1 campana
2 recipiente de cocción
3 estufa
4 chimenea
5 deflectores de mezclado
6 túnel de dilución
7 puertos de muestreo
8 compuerta u otro control de flujo
9 soplador
10 escape
a D = 15 cm recomendado o 10 cm a 30 cm aceptable
b Flujo de aire.
C Área de la abertura
d Campana que encierra la estufa y la chimenea
Nota: No se requieren deflectores si se demuestra una mezcla adecuada (ver texto).
Figura D.1 - Campana y aparatos del túnel de dilución para recolectar las emisiones totales de las estufas
Código
1 campana
2 recipiente de cocción
3 estufa
4 chimenea
5 deflectores de mezclado
6 túnel de dilución
7 puertos de muestreo
8 compuerta u otro control de flujo de aire
c Área de la abertura
d Campana que encierra la estufa
e Ver nota
f Codo
g Ubicación de la medición de velocidad
Nota: No se requieren deflectores si se demuestra un mezclado adecuado (ver texto).
Figura D.2 - Campana y aparatos del túnel de dilución para recolectar emisiones fugitivas (intramuros) de estufas
Código
1 campana
2 recipiente de cocción
3 estufa
4 chimenea
5 deflectores de mezclado
6 túnel de dilución
7 puertos de muestreo
8 compuerta u otro control de flujo
9 soplador
10 escape
a D = 15 cm recomendado o 10 cm a 30 cm aceptable
b Flujo de aire
c Área de la abertura
d Campana que encierra la estufa
e Ver nota
f Codo
g Ubicación de la medición de velocidad
Nota: No se requieren deflectores si se demuestra un mezclado adecuado (ver texto).
Figura D.3 - Campana y aparatos de túnel de dilución para recolectar las emisiones en la chimenea excluyendo
emisiones fugitivas de las estufas
Código
1 túnel de dilución
2 sonda de muestreo
3. dispositivo selectivo de tamaño PM2.5
4 portafiltros
5 sistema de medición (incluida la bomba)
6 gases de salida a Flujo de aire
Figura D.4 - Tren de muestreo de PM2.5
Apéndice E
Informativo
Secuencia de la prueba estándar - Consideraciones adicionales
E.1. Recipiente de cocción
Es importante evaluar con un recipiente de cocción de tamaño adecuado. En general, un gran recipiente de cocción tiene mayor área de superficie con potencial para mejorar la transferencia de calor y un mayor desempeño en las evaluaciones, pero un recipiente de cocción que es demasiado grande no suele utilizarse en campo. Por ejemplo, un recipiente de cocción que es demasiado grande puede no utilizarse en el campo porque el contenido del recipiente no puede ser llevado a la temperatura de cocción deseada (normalmente el punto de ebullición del agua).
E.2. Baja potencia
Para estufas de alimentación continua, tales como estufas tipo rocket, una potencia extremadamente baja de cocción puede lograrse en caso de que se utilice un biocombustible de tamaño muy pequeño (tamaño cerillo), pero este no es el tamaño típico de biocombustible de uso real en campo. Si los datos de campo están disponibles, entonces las estufas serán operadas en el nivel más bajo de potencia práctica observada en campo con el tamaño de biocombustible utilizado normalmente en campo.
E.3. Alta potencia
Para estufas de alimentación continua, tales como estufas de tipo rocket, una manera de definir generalmente la mayor potencia de evaluación (y durante el uso en campo) es alimentar el biocombustible a un ritmo que permita que las llamas toquen el fondo del recipiente de cocción, pero no extender a los lados del recipiente. Para este tipo de estufa, la potencia de cocción que excede las especificaciones del fabricante ha sido frecuentemente observada en campo cuando los usuarios saturaron la apertura de aire/biocombustible con biocombustible. Una manera aproximada de simular esta hiperalimentación de biocombustible es alimentar el biocombustible a un ritmo que permita a las llamas extenderse a los lados del recipiente de cocción, pero no extenderse más allá de la parte superior del recipiente.
E.4. Ensamblaje de la olla de BoPET para evaluar estufas tipo plancha
Ollas flexibles de BoPET se adaptan a la superficie de la plancha de las estufas.
ADVERTENCIA: tenga extrema precaución cuando manipule ollas de BoPET que contengan agua caliente. Utilice el equipo de protección personal especificado en el inciso E.4.1.
Las estufas de plancha pueden ser evaluadas con el método "plancha-olla" (comal-olla) o el método "Olla de BoPET" - ver inciso 7.1.2.7.1.
E.4.1. Materiales
Materiales necesarios para la prueba de la olla BoPET son los siguientes:
Materiales de la olla de BoPET:
a) Película BoPET (poliéster) (las dimensiones del material deben ser aproximadamente 0.127 mm de espesor y 122 cm de ancho);
b) hoja de metal, (las dimensiones del material deben ser aproximadamente 0.38 mm de espesor y 5 cm de ancho).
Equipo de protección personal requerido para la manipulación segura de ollas de BoPET que contienen agua caliente:
c) guantes de goma gruesos con mangas largas;
d) botas altas de goma gruesa;
e) delantal de goma gruesa; y
f) protección contra salpicaduras que cubra la cara.
E.4.2 Proceso de montaje de la olla de BoPET
La olla de BoPET debe ser colocada como se indica a continuación. Consulte la Figura E.1 para una ilustración.
a) Mida la superficie total de la plancha.
b) Calcule el 60% del área de la superficie de la plancha. El resultado será el área de la superficie del fondo de la olla de BoPET. También es posible construir dos o más ollas cuya área de superficie de fondo colectivamente sea el total de 60% de la superficie de la plancha (ver Ejemplo 2).
c) Calcule la altura de la olla necesaria para contener 5L de agua (ver Tabla E.1 de equivalencias). Agregue 5 cm a la altura calculada para el bastidor de metal que vinculará a las paredes.
d) Dibuje el fondo de la olla en el BoPET (dimensiones suficientes para cubrir el 60% de la plancha). Dibuje las paredes a la altura calculada en el paso c.
e) Corte el BoPET alrededor del borde.
f) Pliegue con cuidado el interior de todas las paredes del BoPET. No corte el exceso de BoPET.
g) Corte y coloque una tira de metal alrededor de las paredes.
h) Remache la tira de metal.
Figura E.1 - Montaje de la olla de BoPET
Nota: Las equivalencias se proporcionan en la Tabla E.1.
Tabla E.1 - Equivalencias
| 5 litros de agua | 5 000 centímetros cúbicos de agua | 305.1 pulgadas cúbicas de agua |
Ejemplo 1: Un ejemplo del proceso de ensamblado de la olla de BoPET está previsto para una plancha con las dimensiones de 40 cm por 60 cm en las Figuras E.2 a E.4.
Figura E.2 - Ejemplo de cálculo del tamaño de la olla de BoPET para una plancha de 40 cm por 60 cm
Figura E.3 - Ejemplo de las dimensiones de la superficie de la olla de BoPET en contacto con la superficie de la plancha de 40 cm por 60 cm
Figura E.4 - Ejemplo de dimensiones de olla de BoPET para una plancha de 40 cm por 60 cm
Ejemplo 2. Un ejemplo de proceso de ensamblaje utilizando dos ollas de BoPET es proporcionado en las Figuras E.5 a E.7.
Figura E.5 - Ejemplo de cálculo del tamaño de la olla usando dos ollas de BoPET para una plancha de 40 cm por 60
cm
Figura E.6 - Ejemplo de las dimensiones de la superficie de la olla de BoPET para cada una de las dos ollas en
contacto con la plancha de 40 cm por 60 cm
Figura E.7 - Ejemplo de las dimensiones de cada una de las dos ollas de BoPET para una plancha de 40 cm por 60
cm
Apéndice F
Informativo
Recomendaciones para la instalación de chimeneas
F.1. El presente apéndice informativo tiene la finalidad de orientar, a los instaladores de estufas que funcionan con leña y chimeneas, en la forma adecuada de como ubicar estos equipos, para permitir su óptimo funcionamiento y reducir riesgos al usuario durante su funcionamiento.
F.1.1. Se debe buscar que las chimeneas sean rectas evitando en lo posible, la instalación de codos de 90 grados, codos de 45 grados o secciones horizontales. En caso de que exista la necesidad de instalar codos, se deben preferir los de 45 grados.
F.1.2. Las chimeneas, preferentemente, deben tomar la ruta más corta hacia el exterior.
F.1.3. Se recomienda la instalación de un sombrero de chimenea que evite la entrada de lluvia hacia la estufa; así como de las corrientes descendentes causadas por vientos que pueden ocasionar el retorno de humo.
F.1.4. Se debe evitar la instalación de partes móviles en la chimenea.
F.1.5. En lo posible, las chimeneas deben ser conducidas hacia el exterior directamente hacia arriba a través del techo.
F.1.6. En el caso de chimeneas que tengan salida a través del techo, se recomienda la instalación de una teja de conexión.
F.1.7. Se debe evitar en lo posible conectar más de un equipo de leña a una misma chimenea.
F.1.8. Con la finalidad de mantener la condensación dentro de la chimenea, es preferible que las secciones de tubería con conexión tipo macho-hembra, se instalen con la punta macho apuntando hacia abajo, por dentro de la punta hembra, con orientación hacia la estufa que funciona con leña.
F.1.9. Se recomienda que cada unión entre tuberías se encuentre asegurada con al menos tres tornillos metálicos; lo anterior, con la finalidad de evitar la separación entre estas, durante los ciclos de calefacción y enfriamiento.
F.1.10. A fin de prevenir el sobrecalentamiento de maderas u otro material combustible estructural en contacto con la chimenea, se recomienda utilizar alguna de las siguientes estrategias:
F.1.10.1. Espacio libre: Se debe dejar un espacio libre de separación de al menos 45 cm entre la chimenea y el material combustible.
F.1.10.2. Pantalla metálica en pared o techo: Se puede reducir el espacio libre de separación a mínimo 22.5 cm instalando una pantalla metálica a una distancia de 2.5 cm de la pared o techo por donde correrá la chimenea.
F.1.10.3. Pantalla metálica en tubo: Se puede reducir el espacio libre de separación a mínimo 22.5 cm instalando una pantalla metálica a una distancia de 2.5 cm de la tubería de la chimenea.
14. Bibliografía
1. Ley de Infraestructura de la Calidad. Publicada en el Diario Oficial de la Federación el 01 de julio de 2020.
2. Reglamento de la Ley Federal sobre Metrología y Normalización. Publicada en el Diario Oficial de la Federación el 14 de enero de 1999.
3. NMX-Z-013-SCFI-2015, Guía para la estructuración y redacción de Normas
4. ISO 19867-1:2018. Clean cookstoves and clean cooking solutions - Harmonized laboratory test protocols - Part 1: Standard test sequence for emissions and performance, safety and durability.
5. ISO/TR 19867-3:2018. Clean cookstoves and clean cooking solutions - Harmonized laboratory test protocols - Part 3: Voluntary performance targets for cookstoves based on laboratory testing.
6. EPA Method 3 - Molecular Weight
7. EPA Method 2a - Volume Meters.
8. VDI 2640 - Measurement of fluid flow in closed conduits, German Association for Electrical, Electronic, and Information Technologies.
9. EPA Method 5g - PM Wood heaters from a dilution tunnel.
10. Amaral, S., J. de Carvalho, Jr., M. Costa, and C. Pinheiro, (2015). An Overview of Particulate 3318 Matter Measurement Instruments. Atmosphere, 6(9), 1327-1345. http://doi.org/10.3390/atmos6091327
11. Liu, Z.G., T.A. Swor, J.J. Schauer, J.A. Debilzen, and C.L. Severance (2008). A Source Dilution 3328 Sampling System for Characterization of Engine Emissions under Transient or Steady-State 3329 Operation. Aerosol Science and Technology, 42(4), 270-280. http://doi.org/10.1080/02786820801992907
12. Maricq, M.M., R.E. Chase, N. Xu, and D.H. Podsiadlik (2003). A Constant-Volume Rapid Exhaust 3332 Vehicle Particulate Matter Number and Mass Measurements. Journal of 3333 the Air & Waste Management Association, 53(10), 1196-1203. http://doi.org/10.1080/10473289.2003.10466285
13. Petrovic, V., Z. Bracanovic, B. Grozdenovic, S. Petrovic, S. Sazhin, and D. Knezevic (2015). The design of a full flow dilution tunnel with a critical flow Venturi for the measurement of diesel engine particulate emission. FME Transaction, 43(2), 99-106.
14. Zhang, J., K.R. Smith, Y. Ma, et al. "Greenhouse gases and other airborne pollutions from household stove in China: a database from emission factors." Atmospheric Environment, 34:4537-4549, 2000
15. ISO 18125:2017. Solid biofuels - Determination of calorific value.
16. NMX-Q-001-NORMEX-2018, Estufas que funcionan con leña - Evaluación de funcionalidad, seguridad, durabilidad, eficiencia térmica y nivel de emisiones-Especificaciones, Métodos de prueba y requisitos mínimos.
15. Transitorios
Primero. Esta Norma Oficial Mexicana entrará en vigor 180 días naturales contados a partir del día natural siguiente a su publicación en el Diario Oficial de la Federación; por lo que, a partir de esa fecha todas las estufas que utilizan leña como combustible comprendidas dentro de su campo de aplicación, deben cumplir con las especificaciones establecidas en la presente Norma Oficial Mexicana.
Segundo. Las estufas que funcionan con leña comprendidas dentro del campo de aplicación de esta Norma Oficial Mexicana, que sean fabricadas o construidas en el territorio nacional, o hayan ingresado legalmente al país, o bien que se encuentren en tránsito, de conformidad con el conocimiento de embarque correspondiente, antes de la entrada en vigor de esta regulación; pueden ser comercializadas hasta su agotamiento, sin mostrar cumplimiento con la misma.
Tercero. Los laboratorios de prueba y los organismos de certificación de producto pueden iniciar los trámites de acreditación y aprobación, una vez que la presente Norma Oficial Mexicana se publique en el Diario Oficial de la Federación; en el entendido de que no deben emitir informes de prueba ni certificados de conformidad hasta la fecha de entrada en vigor de la presente Norma Oficial Mexicana.
Cuarto. Las aprobaciones que al efecto emita la Comisión Nacional para el Uso Eficiente de la Energía surtirán efectos hasta la entrada en vigor de la presente Norma Oficial Mexicana.
Ciudad de México, a 12 de septiembre de 2025.- Director General de la Comisión Nacional para el Uso Eficiente de la Energía y Presidente del Comité Consultivo Nacional de Normalización para la Preservación y Uso Racional de los Recursos Energéticos, M. en I. Israel Jáuregui Nares.- Rúbrica.- Directora General de Normas y Presidenta del Comité Consultivo Nacional de Normalización de la Secretaría de Economía, Mtra. Lilian Aurora Pérez Ornelas.- Rúbrica.